Виктор Борисов - Юный радиолюбитель [7 изд] стр 71.

Шрифт
Фон

Виктор Борисов - Юный радиолюбитель [7-изд]

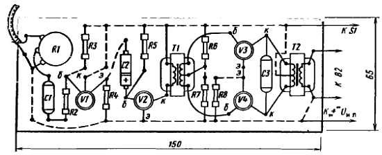
Рис. 183.Схема усилителя

Его выходная мощность - около 150 мВт, чувствительность - не хуже 150 мВ. Мощность, конечно, небольшая, но она все же обеспечит достаточно громкое воспроизведение грамзаписи. Питать усилитель можно от источника напряжением 9-12 В, составленного из двух-трех батарей 3336Л, или от электросети через выпрямитель. Средний ток, потребляемый усилителем от источника питания, не превышает 40 мА.

Разберемся, что в этом усилителе тебе уже знакомо, а что еще нет. Начнем со входа. Сигнал звуковой частоты от пьезокерамического звукоснимателя В1 поступает на переменный резистор R1, а с его движка - на базу транзистора первого каскада через конденсатор С1 и резистор R2. Переменный резистор R1 выполняет функцию регулятора громкости: при перемещении движка вверх (по схеме) на базу транзистора V1 подается все большее напряжение сигнала, громкость увеличивается. Когда же движок находится в крайнем нижнем (по схеме) положении, базовая цепь по переменному току оказывается замкнутой на общий проводник цепи питания усилителя и сигнал от звукоснимателя на транзистор не поступает - звука нет. Резистор R2 - вспомогательный элемент. Он устраняет характерное для пьезокерамического звукоснимателя "шипение". Но в принципе этого корректирующего резистора может и не быть во входной цепи.

Для пьезокерамического звукоснимателя входное сопротивление усилителя должно быть возможно большим. Поэтому транзистор V1 первого каскада включен по схеме ОК. Смещение на его базу подается через резистор R3. Напряжение сигнала с нагрузочного резистора R4 этого каскада через конденсатор С2 поступает на базу транзистора V2, включенного по схеме ОЭ. Эта часть усилителя тебе уже знакома, так как она в основном является повторением простого двухкаскадного усилителя. Разница только в способе включения первого транзистора. А третий, выходной каскад является двухтактным трансформаторным усилителем мощности, с принципом работы которого я познакомил тебя в этой беседе.

Двухтактный режим работы транзисторов выходного каскада задает второй каскад усилителя на транзисторе V2. В коллекторную цепь этого транзистора включена первичная обмотка межкаскадного трансформатора Т1, вторичная обмотка которого, как и первичная обмотка выходного трансформатора Т2, имеет отвод от середины. Через этот отвод и секции вторичной обмотки на базы транзисторов V3 и V4 подается с делителя R6, R7 напряжение смещения. Резистор R8 термостабилизирует режим работы транзисторов выходного каскада. В состоянии покоя транзисторы V3 и V4 практически закрыты. Когда же на выходе предоконечного каскада появляется сигнал, на базы транзисторов выходного каскада подается в противофазе напряжение звуковой частоты, индуцируемое во вторичной обмотке трансформатора Т1. Это и обеспечивает выходному каскаду двухтактный режим работы.

Каскад усилителя, с помощью которого на выходные транзисторы подается напряжение в противофазе, т. е. со сдвигом фаз на 180, называют фазоинверсным каскадом. Значит, в нашем усилителе каскад на транзисторе V2 является фазоинверсным, т. е. фазоповорачивающим.

А каковы функции конденсаторов С3 и С4? Конденсатор С3, подключенный параллельно первичной обмотку выходного трансформатора, срезает высшие частоты звукового диапазона, предотвращая тем самым самовозбуждение усилителя - явление, проявляющее себя свистом или шумом. Подбирая емкость этого конденсатора, можно, кроме того, опытным путем установить наиболее приятный тембр звука. Конденсатор С4 шунтирует источник питания по переменному току - пропускает через себя переменную составляющую усиливаемого сигнала, минуя источник питания.

Его роль особенно сказывается к концу разрядки питающей батареи, когда ее внутреннее сопротивление увеличивается. И если этого конденсатора не будет, то между каскадами через общий источник питания может возникнуть нерегулируемая положительная обратная связь, из-за чего усилитель может самовозбудиться - превращаться в генератор колебаний звуковой частоты. Если усилитель питать от выпрямителя, то конденсатор С4 не нужен.

Приступай к конструированию усилителя. Но сначала его детали смонтируй на макетной панели. А когда подгонишь режимы транзисторов и испытаешь усилитель в работе, тогда можно будет перенести детали на постоянную плату из гетинакса или текстолита. Данные резисторов, конденсаторов и рекомендуемые транзисторы указаны на принципиальной схеме усилителя. Сопротивления резисторов R7 и R8 обозначены в омах (не перепутай с килоомами). Вообще же сопротивления резисторов могут быть на 15–20 % больше или меньше, чем указанные на схеме. Электролитические конденсаторы С2 и С4 - типа К50-3, К50-1 или К50-6.

Статический коэффициент передачи тока h21Э транзисторов V1 и V2 не менее 50–60, транзисторов V3 и V4 - нe менее 30. Желательно, чтобы транзисторы V3 и V4 были с одинаковыми или возможно близкими коэффициентами h21Э и обратными токами коллекторов IКБО. Такую пару транзисторов для выходного каскада подбирай с помощью испытателя транзисторов. В первом каскаде желательно использовать малошумящий транзистор - низкочастотный МП39Б, МП27А, МП28 или высокочастотный ГТ308В.

Динамическая головка В2 мощностью 0,25-0,5 Вт со звуковой катушкой сопротивлением 6–8 Ом, например 0,5ГД-21. Трансформаторы Т1 и Т2 могут быть готовыми или самодельными.

Из готовых подойдут трансформаторы, предназначенные для переносных транзисторных приемников с двухтактным выходным каскадом, например для приемников "Селга", "Сокол". Аналогичные трансформаторы есть в наборах деталей для изготовления транзисторных приемников, где их сокращенно называют: ТС - трансформатор согласующий (в нашем усилителе T1) и ТВ - трансформатор выходной (в нашем усилителе Т2).

Для самодельных трансформаторов нужны магнитопроводы площадью сечения 0,6–0,8 см, например, из пластин Ш8; толщина наборов 0,8–1 см. Первичная обмотка межкаскадного трансформатора T1 должна содержать 2200 витков провода ПЭВ-1 0,1–0,12, вторичная - 520 витков такого же провода с отводом от середины (260 + 260 витков). Первичная обмотка выходного трансформатора Т2 может иметь 800 витков провода ПЭВ-1 0,1–0,12 с отводом от середины (400 + 400 витков), а вторичная - 100 витков ПЭВ-1 0.25-0,3.

Когда трансформаторы будут готовы, проверь их обмотки омметром нет ли обрывов или соединений между обмотками.

Прежде чем подключить звукосниматель ко входу усилителя, проверь с помощью миллиамперметра токи покоя коллекторных цепей транзисторов. И если они значительно отличаются от токов, указанных на принципиальной схеме, подгоняй их подбором сопротивлений резисторов в базовых цепях. Как это делать, ты уже знаешь. Проверить работу усилителя можно с помощью радиотрансляционной сети или простейшего генератора сигналов, о чем я рассказывал в восьмой беседе. Подключая эти источники сигналов ко входам каждого из каскадов усилителя (через конденсатор емкостью не менее 0,2 мкФ), начиная с выходного, можно сулить о качестве работы транзисторов, их режимах и общем усилении всеми каскадами. Наибольшая громкость будет, когда источник сигнала подключен ко входу первого каскада усилителя.

Монтируя детали усилителя на плате, руководствуйся схемой, показанной на рис. 184.

Виктор Борисов - Юный радиолюбитель [7-изд]

Рис. 184.Монтажная плата усилителя с повышенной выходной мощностью

Размеры платы определяй по имеющимся деталям. Размечая отверстия для монтажных стоек или пустотелых заклепок, стремись к тому, чтобы соединительные проводники были возможно короткими. Проводники входной цепи должны быть возможно дальше от проводников и деталей выходной цепи. Иначе между ними через магнитные поля возникнет паразитная связь, из-за чего усилитель может возбудиться. Звукосниматель подключай ко входу усилителя экранированным проводом - проводом с гибкой металлической оболочкой. Экран этого провода можно использовать в качестве заземленного соединительного проводника. Трансформаторы, углубленные каркасами с обмотками в отверстиях в плате, приклей к плате клеем БФ-2.

Какие изменения или дополнения можно внести в усилитель?

В первом каскаде вместо биполярного можно использовать полевой транзистор, например КП103И, или другой из серий КП102 или КП103, включив его по схеме ОИ, как показано на рис. 185, а. Небольшое положительное напряжение смещения на затворе относительно стока получается за счет падения напряжения на резисторе Rив цепи истока. Усиленный сигнал с нагрузки стока (10 кОм) через конденсатор С2 подается на вход второго каскада усилителя. Резистор Rиподбери таким, чтобы ток стока был 0,4–0,6 мА.

Полевой транзистор значительно повышает входное сопротивление усилителя, что улучшает согласование его с большим внутренним сопротивлением пьезокерамического звукоснимателя, и дает небольшое дополнительное усиление сигнала. Монтируя полевой транзистор на плате, оберегай нижнюю часть его корпуса от попадания капелек припоя, канифоли или канифольного флюса, иначе его входное сопротивление резко ухудшится и никакого улучшения усилителя не получится.

Ваша оценка очень важна

0
Шрифт
Фон

Помогите Вашим друзьям узнать о библиотеке