Виктор Борисов - Юный радиолюбитель [7 изд] стр 68.

Шрифт
Фон

Виктор Борисов - Юный радиолюбитель [7-изд]

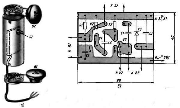
Рис. 178.Конструкция самодельной микротелефонной трубки (а) и плата усилителя телефонного аппарата (б)

В качестве микрофонов и телефонов используй капсюли высокоомных телефонов ТОН-1, ТОН-2. Транзисторы, кроме КТ315, могут быть серий МП35-МП38, МП111-МП113 со статическим коэффициентом передачи тока не менее 50 или маломощные высокочастотные серий КТ301, ГТ311. Диоды - любые из серий Д9 или Д2. Резисторы - MЛT на мощность рассеяния 0,25 или 0,5 Вт. Конденсаторы могут быть любых типов - БМ, МБМ, КПС. Монтаж может быть печатным или навесным.

Корпус трубки склей из нескольких слоев плотной бумаги или тонкого картона на деревянной болванке диаметром 40 мм. Полосу бумаги или картона шириной 140–145 мм наматывай плотно на болванку, смазывая каждый слой клеем БФ-2. После того, как каркас хорошо просохнет, станет жестким, зачисти его мелкой шкуркой, а затем пропитай каким-либо лаком или расплавленный парафином, чтобы сделать его влагоупорным. От той же болванки отпили два кружка толщиной по 20–25 мм и с помощью отрезков толстой проволоки укрепи на них микрофонный В1 и телефонный В2 капсюли. Кружки должны плотно входить в трубку и надежно удерживаться в ней. Плату усилителя (предварительно соединив ее с капсюлями кнопкой, укрепленной на корпусе, и трехжильным кабелем, идущим к выходным разъемам X1, Х2) и батареи питания GB1, оберни полоской поролона или пористой резиной и вставь в трубку. Батарею можно разместить в небольшой пластмассовой коробке и укрепить на ее стенках выключатель питания, а также гнездовую и штырьковую части разъемов для подключения линии связи.

Вполне понятно, что усилитель, прежде чем плату разместить в трубке, надо проверить и наладить. Для этого выводы диода V3 временно замкни проволочной перемычкой, включи питание и слегка постучи пальцем по микрофонному капсюлю - в телефоне должны прослушиваться звуки, напоминающие щелчки по барабану. Затем подбором сопротивления резистора R3 установи на коллекторе транзистора V2 напряжение около 2 В, а подбором сопротивления резистора R2 - напряжение на коллекторе транзистора V1, равное примерно 3 В. Измеряя напряжения, щуп отрицательного вывода вольтметра постоянного тока соединяй с общим проводником цепи питания. Если затем нажать кнопку "Вызов", в телефоне услышишь звук средней тональности (частотой около 1000 Гц). свидетельствующий о возбуждении усилителя. Желательный тон звука можно установить подбором емкости конденсатора С4. С увеличением емкости этого конденсатора тон звука будет понижаться, а с уменьшением емкости, наоборот, повышаться.

Так проверяют и, если надо, устанавливают рекомендуемые режимы работы транзисторов усилителей обоих телефонных аппаратов. После этого можно удалить проволочные перемычки. замыкающие диоды и вставить платы усилителей в трубки и, соединив телефонные аппараты между собой (точно по схеме на рис. 177), проверить их при совместной работе.

Такой телефон, как ты, надеюсь, догадался, можно использовать в пионерском лагере для связи, скажем, между пионерской комнатой и столовой, в военно-спортивной игре "Зарница" для связи между наблюдательными пунктами. В полевых условиях иногда (когда земля влажная) функцию одного из проводов линии связи может выполнять земля. Но предварительно надо проверить надежна ли будет связь.

Теперь, продолжая беседу, посвященную усилителям, поговорим о стабилизации режима работы транзисторов.

СТАБИЛИЗАЦИЯ РЕЖИМА РАБОТЫ ТРАНЗИСТОРА

Усилитель первого или второго вариантов (по схемам на рис. 174), смонтированный и налаженный в помещении, будет работать лучше, чем на улице, где он окажется под горячими лучами летнего солнца или зимой на морозе. Почему так получается? Потому, что, к сожалению, с повышением температуры режим работы транзистора нарушается. А первопричина тому - неуправляемый обратный ток коллектора IКБО и изменение статического коэффициента передачи тока h21Э при изменении температуры.

В принципе ток IКБО - небольшой. У низкочастотных германиевых транзисторов малой мощности, например, этот ток, измеренный при обратном напряжении на коллекторном р-n переходе 5 В и температуре 20 °C, не превышает 20–30 мкА, а у кремниевых транзисторов меньше 1 мкА. Но он значительно изменяется при воздействии температуры. С повышением температуры на 10 °C ток IКБО германиевого транзистора увеличивается примерно вдвое, а кремниевого транзистора - в 2,5 раза.

Если, например, при температуре 20 °C ток IКБО германиевого транзистора составляет 10 мкА, то при повышении температуры до 60 °C он возрастает примерно до 160 мкА. Но ток IКБО характеризует свойства только коллекторного р-n перехода. В реальных же рабочих условиях напряжение источника питания оказывается приложенным к двум р-n переходам коллекторному и эмиттерному. При этом обратный ток коллектора течет и через эмиттерный переход и как бы усиливает сам себя. В результате значение неуправляемого, изменяющегося под воздействием температуры тока увеличивается в несколько раз. А чем больше его доля в коллекторном токе, тем нестабильнее режим работы транзистора в различных температурных условиях. Увеличение коэффициента передачи тока h21Э с температурой усиливает этот эффект.

Что же при этом происходит в каскаде, например, на транзисторе V1 усилителя первого или второго вариантов?

С повышением температуры общий ток коллекторной цепи увеличивается, вызывая все большее падение напряжения на нагрузочном резисторе R3 (см. рис. 174). Напряжение же между коллектором и эмиттером при этом уменьшается, что приводит к появлению искажений сигнала. При дальнейшем повышении температуры напряжение на коллекторе может стать столь малым, что транзистор вообще перестанет усиливать входной сигнал.

Уменьшение влияния температуры на ток коллектора возможно либо путем использования в аппаратуре, предназначенной для работы со значительными колебаниями температуры, транзисторов с очень малым током IКБО, например кремниевых, либо применением специальных мер, термостабилизирующих режим транзисторов.

Один из способов термостабилизации режима работы германиевого транзистора структуры р-n-р показан на схеме рис. 179, а. Здесь, как видишь, базовый резистор Rб подключен не к минусовому проводнику источника питания, а к коллектору транзистора. Что это дает? С повышением температуры возрастающий коллекторный ток увеличивает падение напряжения на нагрузке Rн и уменьшает напряжение на коллекторе. А так как база соединена (через резистор Rб) с коллектором, на ней тоже уменьшается отрицательное напряжение смещения, что в свою очередь уменьшает ток коллектора. Получается обратная связь между выходной и входной цепями каскада - увеличивающийся коллекторный ток уменьшает напряжение на базе, что автоматически уменьшает коллекторный ток. Происходит стабилизация заданного режима работы транзистора.

Но во время работы транзистора между его коллектором и базой через тот же резистор Rб возникает отрицательная обратная связь по переменному току, что снижает общее усиление каскада. Таким образом, стабильность режима транзистора достигается ценой проигрыша в усилении. Жаль, но приходится идти на эти потери, чтобы при изменении температуры транзистора сохранить нормальную работу усилителя.

Ваша оценка очень важна

0
Шрифт
Фон

Помогите Вашим друзьям узнать о библиотеке