Всего за 79.9 руб. Купить полную версию
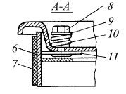
Рис. 3.4.6. Устройство задней подвески: 7 – ступица заднего колеса, 2 – рычаг задней подвески, 3 – кронштейн крепления рычага подвески, 4 – резиновая втулка шарнира рычага, 5 – распорная втулка шарнира, 6 – болт крепления рычага подвески, 7 – кронштейн кузова, 8 – опорная шайба крепления штока амортизатора, 9 – верхняя опора пружины подвески, 10 – распорная втулка, 11 – изолирующая прокладка пружины подвески, 12 - пружина задней подвески, 13 – подушка крепления штока амортизатора, 14 – буфер хода сжатия, 15 – шток амортизатора, 16 – защитный кожух амортизатора, 17 – нижняя опорная чашка пружины подвески, 18- амортизатор, 19 – соединитель рычагов, 20 – ось ступицы колеса, 21 – колпак ступицы, 22 - гайка крепления ступицы колеса, 23 – уплотнительное кольцо, 24 – шайба подшипника, 25 – подшипник ступицы, 26 – щит тормозного механизма, 27 – стопорное кольцо, 28 – грязеотражатель, 29 – фланец рычага подвески, 30 – втулка амортизатора, 31 – кронштейн рычага подвески с проушиной для крепления амортизатора, 32 – резинометаллический шарнир рычага подвески
Буфер 14 хода сжатия выполнен из полиуретана. Он установлен на штоке амортизатора внутри пружины подвески. Сверху буфер упирается в крышку защитного кожуха 7(5, а при включении в работу – в опору буфера, которая надевается на верхнюю часть резервуара амортизатора. Кожух 16 защищает от механических повреждений и загрязнения шток 15 амортизатора и буфер хода сжатия.
Амортизатор 18 задней подвески – гидравлический, телескопический, двустороннего действия. Нижней проушиной амортизатор крепится к кронштейну продольного рычага подвески болтом с самоконтрящейся гайкой. Верхнее крепление амортизатора – штыревое: шток крепится к верхней опоре 9 пружины подвески через две резиновые подушки 13 и опорную шайбу 8. Между шайбой и крышкой защитного кожуха амортизатора установлена распорная втулка 10.
Ступица 1 заднего колеса вращается также в двухрядном шариковом подшипнике на оси 20. Подшипник фиксируется в ступице стопорным кольцом 27. Крепление ступицы 1 на оси 20 аналогично креплению ступицы переднего колеса. Ось ступицы имеет фланец, который вместе со щитом 26 тормозного механизма крепится к фланцу 29 рычага подвески четырьмя болтами.
3.5. Тормозная система
Тормоза должны быть надежными. Эта аксиома известна всем. Специалисты требуют, чтобы тормоза обеспечивали регулирование скорости автомобиля и его остановку с необходимым замедлением. Для этой цели во всех современных автомобилях используется гидравлическая тормозная система с приводом от ножной педали. Такая система состоит из двух независимых контуров для торможения передних и задних колес по диагонали (левое переднее – правое заднее, правое переднее – левое заднее).
Два независимых гидравлических контура с диагональным разделением значительно повышают безопасность вождения автомобиля. При отказе одного из контуров в качестве тормозной системы используется второй контур, с достаточной эффективностью обеспечивающий остановку автомобиля.
Стояночный тормоз механического действия с тросовым приводом действует на задние колеса. Стояночным тормозом пользуются только для удержания автомобиля во время стоянки, но в крайних случаях его можно применять и как аварийный при выходе из строя рабочей тормозной системы.
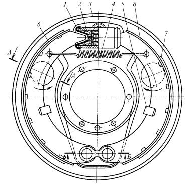
Тормозной механизм заднего колеса – барабанный, с автоматической регулировкой зазора между колодками и барабаном (см. рис. 3.5.1). Он состоит из неподвижной части – стального штампованного щита 5, на котором установлены тормозные колодки 6, и вращающегося вместе с колесом тормозного барабана.




Рис. 3.5.1. Колесный тормоз барабанного типа:
1 - защитный колпак, 2 - колесный цилиндр, 3 – тормозной щит,
4 - стяжная пружина, 5 – направляющая скоба, 6 – тормозная колодка, 7 – фрикционная накладка, 8 – болт регулировочного эксцентрика, 9 – шайба, 10 – пружина эксцентрика, 11 – регулировочный эксцентрик, 12 – пластина опорных пальцев, 13 - эксцентрик опорных пальцев, 14 - опорный палец, 15 – гайка, 16 – пружинная шайба
Если на автомобиле применяется гидравлический привод, то колодочный тормоз имеет колесный цилиндр 2. Колесный цилиндр крепится непосредственно к тормозному щиту. При пневматическом приводе тормозные колодки раздвигаются разжимным кулаком, соединенным со штоком тормозной камеры. В нижней части щита установлены опорные пальцы 14 с закрепленными на них эксцентриками 13, а в средней части – регулировочные эксцентрики 11.
Тормозные колодки 6 крепятся на опорных пальцах 14. Ребра верхних частей колодок входят в прорези наконечников поршней колесных цилиндров. В середине колодка опирается на регулировочный эксцентрик 11. Боковому смещению колодки препятствует П-образная скоба 5.
Колодки соединены между собой стяжной пружиной 4. К наружной поверхности колодки приклеивают или приклепывают тормозную накладку из фрикционного материала. На некоторых автомобилях для крепления накладки используют пустотелые латунные заклепки. Особенность таких заклепок в том, что через них может проваливаться песок, попадающий на накладку, что уменьшает износ тормозного барабана.
Зазор между колодками и барабаном регулируют эксцентриками 77. Левая колодка, работающая по направлению вращения барабана и испытывающая большее трение, имеет более длинную накладку, чем правая. Этим достигаются одинаковые удельные давления на обе колодки, и их износ становится более равномерным.

Рис. 3.5.2. Дисковый тормоз:
7 – тормозной диск, 2 – колодки, 3 - суппорт, 4 – трубка,
5 – кожух
В дисковом тормозе (рис. 3.5.2) вращающейся частью является чугунный диск 7, жестко закрепленный на ступице колеса. К диску с обеих сторон прижимаются колодки 2 с фрикционными накладками, установленные в суппорте 3. Внутри суппорта в специальные пазы вставлены рабочие цилиндры, в которых находятся поршни, прижимающие колодки к диску в момент торможения.
Тормозная жидкость подается в полость внутреннего рабочего цилиндра по трубкам от главного тормозного цилиндра. Оба рабочих цилиндра одного колесного тормоза соединены между собой трубкой 4 благодаря чему давление из внутреннего цилиндра передается в наружный. В отверстия колодок входят пальцы, служащие для них направляющими. Другого крепления колодки не имеют.
При торможении диск с обеих сторон зажимается колодками и под действием силы трения вращение его прекращается. По окончании торможения, как только давление в рабочих цилиндрах упадет, колодки несколько отойдут от диска. Этому способствует осевое биение диска, величина которого не должна превышать 0,15 мм.
Снаружи тормозной диск закрыт диском колеса, а с внутренней стороны – стальным штампованным кожухом 5.
Гидравлический привод к тормозам передних и задних колес состоит из подвесной педали тормоза, толкателя, соединенного с главным тормозным цилиндром, и выключателя стоп-сигнала, служащего одновременно верхним упором педали.
Педаль тормоза крепится на одной оси с педалью сцепления в специальном кронштейне и установлена на двух пластмассовых втулках. Для поперечной фиксации педали применяются пружинные защелка и фиксатор со специальным упором.
Толкатель одним концом упирается в поршень главного тормозного цилиндра, другим – соединяется с педалью при помощи пальца и шплинта. Резьбовое соединение толкателя с вилкой позволяет изменять его длину для осуществления регулировки свободного хода педали тормоза. Педаль постоянно прижата к выключателю стоп-сигнала возвратной пружиной.
Величина полного хода педали тормоза до ее упора в стенку моторного отсека должна обеспечивать нормальное торможение автомобиля даже при выходе из строя одного из контуров тормозной системы, а также исключить возможность выпадания толкателя из поршня главного тормозного цилиндра. Величина полного хода педали тормоза устанавливается резьбовым соединением выключателя стоп-сигнала и должна составлять 150 мм.