Глава 3
СВАРОЧНЫЕ АППАРАТЫ ДЛЯ ЭЛЕКТРИЧЕСКОЙ СВАРКИ ПЛАВЛЕНИЕМ
1. Общие сведения о сварочных аппаратах
В данной главе рассмотрены сварочные аппараты для механизированной и автоматической дуговой сварки и их отдельные узлы: подающие механизмы, сварочные горелки, флюсовая и газовая аппаратура.
Аппарат для механизированной дуговой сварки, включающий сварочную горелку и механизм подачи электродной проволоки с ручным перемещением горелки, называют полуавтоматом. Аппарат для автоматической дуговой сварки, включающий сварочную головку, механизм для перемещения аппарата, подающий механизм с электродной проволокой и необходимые средства автоматизации, называют сварочным автоматом. Сварочные автоматы могут быть подвесными или тракторного типа. Сварочные автоматы устанавливаются на самоходных тележках, которые перемещаются вдоль свариваемых кромок по направляющим.
Сварочные установки комплектуют из источника питания, сварочного аппарата или машины для сварки и механизмов относительного перемещения сварочной аппаратуры или изделия.
Сварочные полуавтоматы и автоматы разрабатывают с использованием унифицированных (взаимозаменяемых) узлов. Это позволяет с наименьшими затратами быстро настроить аппарат при изменении технологического процесса сварки, улучшить ремонтоспособность. Унифицированными узлами аппаратов являются подающие механизмы, прижимные и направляющие устройства, механизмы подъема и перемещения тележек, сварочные горелки и механизмы их перемещения, а также приводы механизмов подачи электродной проволоки и т. д.
Развитие сварочных полуавтоматов и автоматов направлено на совершенствование унификации их узлов, снижение массы и расширение технологических возможностей с целью обеспечения высокого качества сварных изделий.
Принята единая система обозначения аппаратов для дуговой сварки, состоящая из буквенно-цифровых индексов. Первые две буквы обозначают наименование изделия и способ сварки: ПД – полуавтомат для дуговой сварки; АД – автомат для дуговой сварки; УД – установка для дуговой сварки. Третья буква обозначает вид защиты сварочной дуги; Ф – флюсовый; Г – газовый; ФГ – флюсогазовый. Так как полуавтоматы для дуговой сварки применяют в основном для сварки в среде защитных газов, то третья буква в их обозначении иногда опускается. Первая цифра, следующая за буквенными индексами, указывает сварочный ток в сотнях ампер. Вторая и третья цифры обозначают модификацию полуавтомата или автомата. Буквенный индекс, следующий за третьей цифрой, указывает на климатическое исполнение. Последний цифровой индекс указывает на категорию размещения.
Примеры обозначений:
ПДГ-516УЗ – полуавтомат для дуговой сварки, газовая защита сварочной дуги, номинальный сварочный ток 500 А; шестнадцатая модификация (модель), эксплуатация в районах с умеренным климатом, в помещениях с естественной вентиляцией и отоплением;
АДГФ-501УХЛ4 – автомат для дуговой сварки, защита сварочной дуги как флюсом, так и газом; номинальный сварочный ток 500 А первая модификация, эксплуатация в районах с умеренным и холодным климатом, в помещениях с принудительной вентиляцией и отоплением;
УДГ-301УХЛ4 – установка для дуговой сварки на переменном токе, газовая защита сварочной дуги, сварочный номинальный ток 315 А; первая модификация, эксплуатация в районах с умеренным и холодным климатом, в помещениях с принудительной вентиляцией и отоплением.
Сварочные аппараты для других видов электрической сварки плавлением имеют свою систему обозначения: А – аппарат; У – установка. Цифры показывают регистрационный номер изделия, например: У579 – установка для электронно-лучевой сварки; У875 – установка для электрошлаковой сварки; А1734 – аппарат (автомат) для электрошлаковой сварки плавящимся мундштуком.
2. Полуавтоматы для дуговой сварки и их основные узлы
В настоящее время широко применяется механизированная сварка. Это объясняется высокой маневренностью полуавтоматов, возможностью производить сварку в труднодоступных местах. Механизированная сварка широко применяется на конвейерных линиях в машиностроении при сварке корпусов всех видов транспортных средств и строительно-монтажных конструкций при их предварительной сборке и сварке и т. д.
Полуавтоматы для дуговой сварки плавящимся электродом классифицируют по нескольким признакам в соответствии со стандартом.
По способу защиты сварочной дуги принята следующая классификация полуавтоматов:
в активных защитных газах (Г);
в инертных газах (И);
под флюсом (Ф);
открытой дугой (О).
По способу регулирования скорости подачи электродной проволоки выпускаются полуавтоматы с плавным, ступенчатым и комбинированным регулированием. Полуавтоматы различают также по способу подачи электродной проволоки: толкающему, тянущему, универсальному.
По способу охлаждения горелки выпускают полуавтоматы с естественным охлаждением горелки (до 300 А) и с принудительным охлаждением (500 А). Срок службы сварочных полуавтоматов – 5 лет со сменой сварочной горелки через каждые полгода. В полуавтоматах механизирована только подача электродной проволоки, которая подается в зону горения дуги через гибкий пустотелый шланг, поэтому такие полуавтоматы называют шланговыми.
Для сварки низкоуглеродистых и низколегированных сталей плавящимся электродом в среде углекислого газа во всех пространственных положениях, кроме потолочного, широко применяются полуавтоматы серии ПДГ. Стабилизация выходных параметров источника питания совместно со стабилизацией скорости подачи электродной проволоки позволяет получать сварные соединения высокого качества.
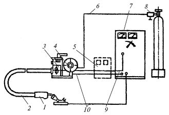
Полуавтоматы этой серии состоят из подающего механизма, источника питания постоянного тока или импульсного источника питания, сварочной горелки, газовой аппаратуры и соединительных гибких шлангов. В комплект полуавтомата входит сварочная горелка типа ГДПГ. Управление полуавтоматом осуществляется специальным блоком БУСП-2 (блок управления сварочными полуавтоматами) (рис. 26).

Рис. 26. Полуавтомат ПДГ в комплекте с основными узлами:
1 – сменная газовая горелка; 2 – шланг для подачи электродной проволоки; 3 – подающий механизм; 4 – кассета для электродной проволоки; 5 – блок управления БУСП-2; 6 – газовый шланг; 7 – источник питания; 8 – газовая аппаратура; 9 – провода цепи управления; 10 – сварочный кабель
В режиме наладки блок управления обеспечивает выполнение следующих операций:
включение подачи газа для настройки его расхода или дозировки;
установка заданной скорости подачи проволоки;
выбор рабочего цикла для сварки длинными, короткими и точечными швами.
В режиме сварки блок управления обеспечивает выполнение команд начала и окончания сварки.
При поступлении команды начала сварки включается подача газа, затем источник питания и через 0,5 с включается подача проволоки. При поступлении команды о прекращении сварки выключается электродвигатель подающего механизма и производится его торможение, отключается источник питания и подача защитного газа; блок управления возвращает схему в исходное положение.
Полуавтоматы типа ПДИ обеспечивают сварку в импульсном режиме.
Полуавтоматом ПДГ-516 (ПШ-13) можно сваривать как сплошной стальной, так и порошковой проволоками. Для сварки в различных пространственных положениях некоторые типы полуавтоматов серии ПДГ комплектуются консольно-поворотным устройством. Такие устройства позволяют увеличивать производительность сварочных работ как на стационарных установках (рис. 27), так и передвижных.
Технические характеристики некоторых полуавтоматов приведены в табл. 11.
В связи с унификацией основных узлов полуавтоматов более широкое распространение получают универсальные полуавтоматы (быстро переналаживаемые).
Одним из таких полуавтоматов является ПШ-112. Полуавтомат предназначен для сварки самозащитной и порошковой проволокой, но легко и быстро переналаживается на сварку в углекислом газе сплошной проволокой.

Рис. 27. Стационарная установка для механизированной сварки крупногабаритных изделий:
1 – консоль; 2 – монорельс; 3 – тележка; 4 – сварочный полуавтомат; 5 – гибкий шланг
Таблица 11
Технические данные полуавтоматов
