Всего за 149.99 руб. Купить полную версию

Рис. 22. Схема вихревого движителя Фролова
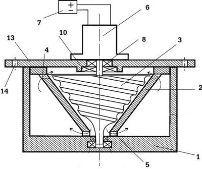
Сущность данного изобретения состоит в следующем: электропривод 6 вращает конусный ротор 3, на котором выполнена спиральная канавка (спиральный шнек). Ротор 3 вращается, заставляя рабочее вещество смещаться на меньший радиус вращения, и выходить через радиальные отверстия 5 во внутреннюю полость корпуса (в картер). Это движение инерциальной массы рабочего вещества сверху вниз, от широкой к узкой части ротора, является основной причиной появления осевой реактивной силы тяги, постоянно действующей на корпус движителя, вдоль оси вращения ротора.
Поясню идею… Если вращение рабочего вещества в конусном корпусе 2 происходит без конусного шнекового ротора, то оно приводит к постоянному увеличению радиуса вращения жидкости, причем, жидкость поднимается снизу вверх. Этот процесс обусловлен наличием центробежной силы, поэтому, можно сказать, что она совершает работу по смещению вращающейся в конусном корпусе жидкости с меньшего радиуса на больший. В обычном случае, при вращении тела в плоскости, центробежная сила радиальная, и работу вдоль оси вращения не может совершать. Поэтому, при вращении жидкости в цилиндрическом корпусе, эффекта не будет. При вращении жидкости в конусном корпусе, существует осевой градиент силы, так как величина центробежной силы различная.
В предлагаемой конструкции, спиральная канавка ротора (шнековый механизм), при вращении в соответствующем направлении, смещает частицы жидкости с большего радиуса вращения на меньший радиус вращения. Это происходит против работы, которую совершает центробежная сила по смещению жидкости, вращающейся в конусном корпусе. Закон сохранения импульса здесь строго выполняется: осевой импульс, направленный сверху вниз, который приобретают частицы жидкости при взаимодействии с ротором, равен импульсу, который приобретает корпус устройства в противоположном направлении (снизу вверх).
Для проведении экспериментов в ООО "ЛНТФ", 2002 год, было изготовлено устройство, показанное на рис. 23. Корпус и основные детали изготовлены из алюминия, привод электрический.

Рис. 23. Фото деталей экспериментального вихревого движителя, 2002 год
Основные параметры данной модели движителя: диаметр ротора у основания конуса составляет 80 мм, а в области выхода жидкости из полости конусного корпуса в картер – около 20 мм. Для создания вращения применялся электродвигатель, потребляемая мощность не более 50 Ватт. Скорость вращения регулировалась от 30 до 300 оборотов в минуту, за счет изменения напряжения питания электропривода.
В качестве рабочего вещества (инерциальной массы) применялась вода, масло и другие жидкости. "Ртутный гироскоп" не исследовался.
Измерение создаваемой движущей силы, рис. 24, производилось электронными весами, с точностью 0,1 г. Обнаружена активная сила, величиной от 5 до 15 грамм, создаваемая в вертикальном (осевом) направлении.

Рис. 24. Фото из архива ООО "ЛНТФ", 2002 год, вихревой движитель на весах
Заявка на изобретение, в которой подробно описан способ и устройство, применяемые для создания движущей силы, без реактивного отброса массы за пределы корпуса движителя, путем преобразования вращательного движения в поступательное, была подана мной 25 октября 2002 года.
После длительной переписки, в августе 2004 года, мы получили отказ экспертов Роспатента, который они мотивировали тем, что, движение устройства без отброса реактивной массы за пределы корпуса устройства принципиально невозможно. Таким образом, они понимают третий закон Ньютона. Наши доводы о том, что закон сохранения импульса и энергии, разумеется, выполняется, и реакция с опорой, в предлагаемом нами способе, обязательно существует, оказались неубедительными. Я полагаю, что здесь имело место лоббирование интересов других разработчиков, более высокого уровня, чем наша маленькая частная компания. Известно, что 23 мая 2008 года, с космодрома Плесецк стартовала ракета с четырьмя спутниками на борту. Один из них, спутник "Юбилейный", выпущенный акционерным обществом "Информационные спутниковые системы", примечателен тем, что на нем установлен новый движитель, используемый для коррекции орбиты. Это первый российский космический аппарат, в котором сила тяги системы корректировки орбиты создается за счет внутреннего "движения жидкого рабочего тела по определенной траектории, напоминающей торнадо", как писали об этой технологии газеты. Достоинства такого метода очевидны: получая энергию от солнечных батарей, такой спутник не имеет ограничений по расходу топлива, необходимого для длительной работы на орбите. Отметим, что для корректировки орбиты спутника, достаточно кратковременного импульса движущей силы.
Теоретическое обоснование таких изобретений – отдельный вопрос. Работы Полякова в области "экспериментальной гравитоники" имели свои предпосылки, и ученые разных стран давно подходили к изучению данной проблемы. Николай Александрович Козырев, теорию и эксперименты которого мы рассмотрим подробно в отдельной главе, еще в 1963 году опубликовал статью "Причинная механика и возможность экспериментального исследования свойств времени" [9]. В данной работе, Козырев впервые показал эффекты уменьшения веса в экспериментах с вращающимися гироскопами на вибрирующем подвесе, причем, указал, что эффект зависит от направления вращения. Из зарубежных аналогов движителей, использующих прецессирующие гироскопы, известен патент Профессора Лэйтвэйта, United States Patent 5,860,317 January 19, 1999, Propulsion System, Eric Laithwaite, William Dawson. Впервые, эффект уменьшение веса вращающихся тел, Профессор Лэйтвэйт обнаружил в 1975 году.
Многие называют данные типы движителей "безопорными", хотя это принципиальная ошибка. Опора движителя, точнее, "реакция с опорой", всегда существует. Это самый главный вопрос, который мы должны обеспечить конструктивно. Сомнения исчезают, а все теоретические вопросы решаются, если рассматривать инерцию, как свойство окружающего тело пространства, то есть эфира, окружающего каждую из частиц материи, в отдельности. При таком рассмотрении, центробежные силы являются внешними, по отношению к движущимися телам. Это такие же внешние силы, как реакция опоры, или градиент давления в аэродинамике. Следовательно, инерциальные эффекты могут быть использованы таким образом, чтобы обеспечивать "опору" и движущую силу, возникающую за счет градиента давления эфирной среды.
Причина появления центробежной силы, при ускоренном движении частиц материи, лежит в их внутренней структуре. Формирование частиц материи из эфира – это процесс, изучение которого дает ответы на вопросы о природе инерциальной массы и электромагнитных свойствах частиц материи. Целесообразно продолжать работы по развитию, патентованию и внедрению рассмотренной здесь технологии движителя замкнутого реактивного цикла. Современная область применения такой продукции включает не только космические системы, но и силовые установки любого транспорта. Это направление открывает новые рынки сбыта передовой высокотехнологичной продукции.
Рассмотрим еще несколько технических решений.
Глава 7 Компенсация веса тела
Конструирование движителей нового типа требует уточнения понятия "открытой и закрытой физической системы", системы отсчета. Повод для размышлений дает тот факт, что вес тела, находящегося на поверхности планеты, зависит от места взвешивания. Поскольку планета вращается, то на все тела действует центробежная сила, и ее максимальное значение соответствует положению тела на экваторе. По данной причине, космодромы для реактивных ракет целесообразно размещать ближе к экватору.
Можно ли получить "отрицательный вес" тела, за счет приложения центробежной силы? Ответ положительный: сила веса может быть компенсирована, и преодолена любой другой силой, в том числе, центробежной силой, создаваемой при вращении тела.
Например, вращение тела в вертикальной плоскости дает полную компенсацию веса в верхней половине траектории, и увеличение веса на величину центробежной силы, в нижней части траектории, рис. 25.

Рис. 25. Изменение веса при вращении тела в вертикальной плоскости
Фактически, вращение груза в вертикальной плоскости, при достижении определенной скорости вращения, способно поднимать весь движитель, отрывая его от земли, во время "верхней половины" цикла. Следовательно, принципиальных проблем нет. Техническая задача состоит в том, чтобы конструктивно обеспечить движение рабочей инерциальной массы по такой траектории, которая дает эффект компенсации веса тела на большей части цикла движения.
Например, колебания груза обычного маятника происходят в нижней части цикла, как показано в левой части рис. 26. Процесс колебаний перевернутого маятника показан в правой части рис. 26. Механизм действия "перевернутого маятника" несложный, но его сотни лет изучали как удивительное явление!