
Подводная лодка "М-2" и ее гидросамолет "Пэто".
Это значит, что начался новый виток вооружений, в том числе военно-морских. В то время мало кто мог себе это позволить: центр цивилизации - Европа - лежал в руинах. По этой причине всерьез созданием новых подводных лодок занялись лишь Соединенные Штаты Америки, с большими ограничениями это могла себе позволить Великобритания. Их оппонентом стал Советский Союз. Все три морские державы пошли своим путем, но было нечто, что их объединяло. Это нечто ... побежденная Германия!
Германию, по крайней мере в двадцатом веке, отличал величайший уровень технологий. Практически не было реальных технических задач, которые не могла бы решить германская промышленность. Ярким примером тому может служить тот факт, что у большого количества послевоенных образцов военной техники всех стран победительниц хорошо просматриваются "германские уши". Но было несколько областей военной техники, где Германия буквально была впереди планеты всей. Прежде всего это подводные лодки и ракетное оружие. Здесь все страны- победительницы нс просто приняли к сведению германские достижения, а занялись настоящим плагиатом. В частности, Великобритания в подводном судостроении сосредоточилась на освоении газовых турбин Вальтера, на большее до поры до времени у нее просто не было средств. США и СССР подошли к освоению германского наследства более многопланово, тем более, что на то у них появились веские причины - они стали потенциальными противниками. Это влекло за собой один очень существенный момент: для того, что бы воевать нужно иметь возможность наносить друг по другу удары. Практически кроме авиации в то время этого сделать никто не мог. хотя немцы показали другой путь - ракеты. Сухопутные войска обеих стран-победительниц сразу после войны начали испытание и освоение германских ракет "V-1" и "V-2", однако сравнительно малый радиус действия требовал доставки их к территории противника. И опять немцы подсказали... В ходе войны у них была аналогичная "проблема" с США. И они разработали проект стартового контейнера с ракетой "V- 2" буксируемого подводной лодкой XXI серии. Замысел свой они реализовать не успели, но идея совмещения подводной лодки и ракеты лежала на поверхности. Поскольку в Америке германские крылатые ракеты на тот момент были лучше освоены, то с них и начали, приняв на вооружение аналог "V-I" под обозначением "Loon". Ее экспериментальные пуски проводились с переоборудованной серийной подводной лодки типа "Balao" под названием "Susk". Задачу по размещению и запуску крылатой ракеты решили по аналогии с самолетами: летательный аппарат размещали в водонепроницаемом цилиндре на верхней палубе за ограждением боевой рубки, а пуск осуществляли с эстакады похожей на катапульту с помощью пороховых стартовых агрегатов. Запуск ракеты проводился из надводного положения, прицеливание - подводной лодкой: она ложилась на курс обратный пеленгу стрельбы. После ряда стрельб, проведенных в 1948-49 гг., американцы пришли к выводу, что идея перспективная, но морально устаревшая во всех отношениях ракета не обеспечивает решения боевых задач, и далее ее применяли с борта "Susk" только в качестве мишени. Следующим этапом стало принятие армией США на вооружение в 1952 г. новой крылатой ракеты "Regulus Г. Эта ракета создавалась как "сухопутная", и поэтому ее применение с кораблей имело ряд ограничений, главным из которых являлся надводный старт, а это занимало около 10 минут. Кроме этого "Regulus Г', в отличие от "Loon" имела радиокомандное телеуправление, то есть после старта ракеты подводная лодка не могла погружаться, а должна была осуществлять контроль траектории полета ракеты и, при необходимости, ее корректировку радиокомандами. В результате подлодка должна была находиться в надводном положении еще около 10 минут. Применение телеуправления являлось вынужденным, так как на том этапе развития техники оно обеспечивало точность наведения вдвое большую, чем инерциальные системы управления наподобие той, что имелась на "Loon". Впрочем, проблему точности попадания ракеты в цель до конца решить не удавалось. Во-первых, сама подводная лодка знала свое место с большой погрешностью, суточная "невязка" вне видимости берега могла достигать 8-10 миль. Во- вторых. при дальности полета "Regulus I" до 800 км на высоте до 12000 м, подводная лодка могла наблюдать за ней, а значит и управлять сю до дальности чуть более 120 км. В 1953 г. американцы переоборудовали подводную лодку "Tunny" типа "Gato" в носителя ракет "Regulus Г'. Все технические решения повторяли "Susk", однако стало ясно, что этот путь себя исчерпал. Мало того, что он нс обеспечивал требуемую точность применения крылатых ракет, боекомплект самих ракет признали не соответствующим размерам корабля. Кроме этого, в ходе испытания стало проявляться разрушающее воздействие "форса" огня более мощных стартовых агрегатов на элементы корпуса. Все это вызвало появление первых подводных лодок-ракетоносцев специальной постройки. Ими стати вступившие в строй в 1958 г. "Grayback" и "Growler". Боекомплект ракет на них удвоился, и теперь они располагались в носовой части в двух контейнеpax. закрытых надстройкой в виде полубака.

Японские подводные лодки после капитуляции.

Примерная схема размещения комплекса крылатых ракет на переоборудованных подводных лодках: 1 крылатая ракета: 2 - ангар: 3 - механизм системы подачи крылатой ракеты на стартовую установку: 4 водонепроницаемая крышка ангара: 5 обтекатель ангара: 6 перекидная балка системы подачи; 7 вращающаяся стартовая установка; 8 механизм поворота и подъема стартовой установки: 9 легкий корпус подводной лодки: 10 - прочный корпус подводной лодки: 11 - люк сообщения прочного корпуса с ангаром: 12 убирающийся антенный пост системы управления крылатой ракетой; 13 ракета в положении старта: 14 крышка ангара в открытом положении.

Примерная схема размещения комплекса крылатых ракет на переоборудованных подводных лодках: I крылатая ракета: 2 ангар-контейнер; 3 механизм открывания крышки контейнера; 4 механизм подачи крылатой ракеты на стартовую установку; 5 водонепроницаемая крышка контейнера: 6 - направляющие стартовой установки; 7 - механизм подъема направляющих стартовой установки; 8 прочный корпус подводной лодки; 9 легкий корпус подводной лодки; 10 механизм вращения магазина крылатых ракет; 11 антенный пост РЛС с системой управления крылатой ракетой; 12 - крылатая ракета в положении старта.

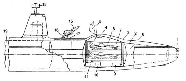
Примерная схема размещения крылатых ракет на атомной подводной лодке:
1 - носовые торпедные аппараты: 2 прочный корпус; 3 - легкий корпус: 4 механизм открывания крышки люка ангара; 5 - крышка люка в момент подачи крылатой ракеты на стартовую установку или в ангар: 6 отсек носовых торпедных аппаратов: 7 - ангар; 8 крылатая ракета; 9 - механизм системы продольной подачи; 10 механизм системы поперечной подачи: 11 механизм системы вертикальной подачи: 12 - пост управления системами подачи; 13 - жилые помещения; 14 - посты предстартового контроля и старта; 15 крылатая ракета в положении старта: 10 направляющие стартовой установки; 17 механизм поворота и подъема направляющих: 18- антенный пост РЛС; 19 - реакторный отсек.
