Всего за 29 руб. Купить полную версию
По окончанию этих работ приступаем к обсыпке грунтом выступающей части бассейна – 1/4 его общей высоты. Сверху укладываем дерн. По желанию можно оборудовать вокруг бассейна газон.
Подход к бассейну рекомендуем выложить плиткой, как и площадку для раздевания перед лестницей. Вообще облицовка бассейна – это вопрос вкуса и возможностей владельца.
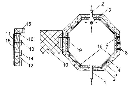
Насыпь вокруг бассейна, если она облицована плиткой, можно использовать в качестве солярия. На рисунке 9 дана проекция данного бассейна сверху.

Рис. 9. Деревянный бассейн-восьмигранник (вид сверху): 1 – труба подачи воды; 2 – труба перелива; 3 – сливное отверстие; 4 – корпус бассейна; 5 – слой гравия; 6 – стенка котлована; 7 – фиксирующие клинья; 8 – упорные металлические пластины; 9 – лестница; 10 – площадка для раздевания; 11 – внутренняя сторона щита; 12 – внешняя сторона щита; – брусья; 14 – гвозди; 15 – прижимная планка; 16 – ПВХ-пленка
Прямоугольный вкопанный бассейн . Теперь перейдем к строительству вкопанных бассейнов. На рисунке 10 изображен прямоугольный вкопанный бассейн. Глубина бассейна также будет зависеть от его назначения: детский (50 см), взрослый (105–150 см), бассейн для прыжков (320 см в самом глубоком месте). Технология проведения работ остается той же, отличия заключаются в конструктивных решениях. В предлагаемом варианте наряду с деревянной основой чаши бассейна задействованы стальные конструкции – десять опор 1 и четыре швеллера (балки) 2 по дну бассейна, вмурованные в бетон.

Рис. 10. Прямоугольный вкопанный бассейн: 1 – стальная опора; 2 – швеллер; 3 – пазы для брусьев; 4 – деревянный брус; 5 – верхняя облицовочная доска; 6 – винт крепления облицовочной доски; 7 – винт крепления прижимной доски; 8 – прижимная доска; 9 – крепление деревянного каркаса к брусу; 10 – деревянные брусья; 11 – перелив воды; 12 – ПВХ-пленка; 13 – лестница; 14 – подача воды
Такая конструкция имеет высокую прочность и позволяет проектировать бассейны с объемом воды более чем 28 м3. В пазы стальных опор 3 вставляются деревянные брусья, на которые потом прибиваются доски (щиты), которые формируют чашу бассейна. Дно у такого бассейна бетонное, стены деревянные, гидроизоляция – ПВХ-пленка.
Устройство дренажа котлована бассейна происходит по тому же принципу, как было изложено ранее (рисунок 6). Тот же принцип подвода подающей, сливной и переливной труб. Новым будет то, что вкопанный бассейн предполагает обязательное наличие принудительной откачки воды из бассейна. Ведь даже перелив воды не может происходить самотеком. Подача воды (если она осуществляется из водопроводной сети) может быть за счет имеющегося давления в водопроводной системе. Все остальное уже потребует установки откачивающего насоса. Вкопанный бассейн предполагает также и наличие покрытия.
Почему при данной конструкции мы рекомендуем покрытие? Помимо того, что это уменьшит количество загрязнений воды в бассейне и позволит сэкономить затраты на подогрев воды, наличие покрытия (тента) продлевает вам купальный сезон (почти на 2 месяца). Тент предотвратит случаи падения в воду детей и домашних животных.
Когда мы упомянули об экономии затрат на подогрев воды, то имели в виду появившиеся сейчас в продаже солнцепоглощающие пленки. Они сосредотачивают солнечные лучи подобно линзе и интенсифицируют подогрев воды. Высоту покрытия (тента) рекомендуется делать 120–130 см. Каркас дуги 1 покрытия на концах имеет ролики 2, которые входят в выемки 3 реек 4, расположенных вдоль бассейна по обе его стороны (рис. 11). Последняя дуга (каркас) на торце бассейна имеет жесткое крепление.

Рис. 11. Покрытие для бассейна: 1 – дуги каркаса; 2 – ролик скольжения дуги; 3 – паз продольных реек; 4 – рейка; 5 – лестница
При растянутом каркасе бассейн будет закрыт, при сдвиге всей конструкции к торцевой дуге – бассейн открыт.
Вкопанный овальный бассейн
Рассмотрим бассейны, для строительства которых дерево не понадобится.
Проект, который мы предлагаем к рассмотрению (рис. 12), предусматривает бетонный пол, стенки из алюминиевого, стального или дюралевого листа 1, прочностную основу которого составляет кирпичная кладка 3. Бассейн вкопанный, овальный. Котлован, его глубина, будет определяться назначением бассейна – детский, взрослый, бассейн для прыжков и т. д.

Рис. 12. Вкопанный овальный бассейн: 1 – стальной (алюминиевый) лист; 2 – профиль; 3 – кирпичная кладка; 4 – распорки; 5 – подача воды; 6 – слой гравия; 7 – штырь; 8 – бетонный пол; 9 – почва; 10 – перелив; 11 – труба слива; 12 – верхний кирпич кладки; 13 – ПВХ-пленка
Допустим, мы решили выкопать котлован для детского бассейна. Глубина его должна быть 50 см, но с учетом технологических припусков рыть надо на глубину 70–75 см. Когда котлован вырыт, сделан дренаж и обеспечен уклон слоя гравия в сторону слива не менее 6°, укладывается труба слива, которая должна выступать над слоем гравия на 15–17 см. После этого происходит заливка дна первым слоем бетона не менее 6 см. Отверстие трубы слива закройте пробкой, чтобы туда не попал бетон. Разровняйте уложенный слой и накладывайте на него армирующую стальную сетку. Сразу приступайте к разметке будущего периметра кирпичных стен бассейна. При этом оставляйте расстояние между будущей кирпичной кладкой и стеной котлована не менее 7 см. Чтобы не деформировать уже уложенный первый слой бетона, под ногами у вас должен быть кусок толстой фанеры или щит из сбитых досок размером не менее 60×60 см.
Разметку обозначайте металлическими штырями длиной 40–45 см и толщиной 1–1,5 см. Штыри забивайте в сырой бетонный слой на 15–20 см молотком на расстоянии 25–30 см друг от друга. Основное назначение штырей – обеспечение прочного соединения пола бассейна с кирпичными стенами. Все штыри войдут внутрь кирпичной кладки стен и это полностью исключит отслаивание кирпичных стен от пола.
Установив все штыри, заливаем на армирующую сетку второй слой бетона толщиной 7–8 см. Разравниваем дно рейкой. При этом следим, чтобы все вбитые штыри сохраняли строго вертикальное положение.
Через 2–3 дня, когда бетон на полу затвердеет, можно приступать к монтажу каркаса стен бассейна из алюминиевых, дюралевых или стальных (нержавеющая сталь) листов. Соединить листы между собой необходимо с помощью профилей (фрагмент "а"). Край листа вставляется в профиль и уплотняется прокладками (резина). Штыри должны находиться на внешней стороне каркаса. Стальные листы должны как бы упираться в них. После этого наружная поверхность листов хорошо обезжиривается ацетоном. Изнутри (алюминиевые, дюралевые, стальные) листы фиксируются распорками 4 для временной жесткой фиксации.
Приступаем к кладке кирпичных стен. Кирпичи кладутся поперек стены бассейна. Все острые кромки кирпичей, которые выступают внутрь бассейна (к листам), должны быть срублены или разрушены молотком. При укладке проектируем "окна" для подвода подающей трубы и трубы перелива 10.
Последний ряд кладки должен быть осуществлен таким образом, чтобы кирпич закрыл верхнюю кромку (алюминиевого, дюралевого, стального) листа.
Не убирая распорки, 2–3 дня ждем, пока кладка "схватится". После этого засыпаем гравий в дренажный зазор между кирпичной кладкой 3 и стенками котлована. Во время засыпки слой гравия уплотняется. Убираем распорки 4. Высверливаем в листах отверстия для трубы подачи воды 5 и трубы перелива 10. Разметки в данном случае не потребуется, т. к. высверливание будет происходить напротив оставленных в кирпичной кладке "окон". Края отверстий зачищаем надфилем и наждачной бумагой.
После этого устилаем чашу бассейна ПВХ-пленкой. Разравнивание начинаем с середины бассейна, деревянными брусками.
Пруд
Тема строительства декоративного пруда во многом перекликается с темой строительства бассейна. Первое, что необходимо решить – в каком месте строить пруд.
Исходить надо из того, что пруд должен освещаться солнцем большую половину дня. Это важно для растительности пруда, прогрева воды. Это также не позволит комарам стать полновластными хозяевами водоема. Не следует планировать пруд и на совсем открытом продуваемом месте. Этого не любят и рыбы, которых вы наверняка захотите развести в пруду; это не подходит и водным растениям, которые обязательно будут.