Всего за 29 руб. Купить полную версию

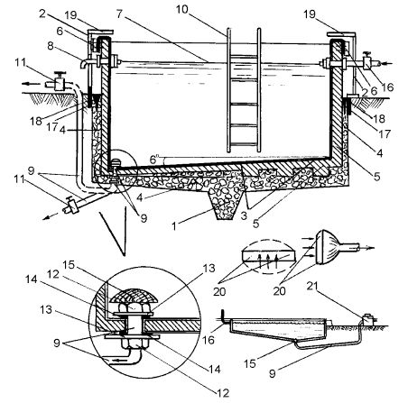
Рис. 6. Полу в копанный квадратный бассейн: 1 – дренажное углубление; 2 – упор; 3 – ПВХ-пленка; 4 – гравий; 5 – деревянный каркас бассейна; 6 – прижимная планка; 7 – уровень воды; 8 – труба перелива; 9 – труба слива; 10 – лестница; 11 – вентиль; 12 – гайка; 13 – шайба; 14 – резиновая прокладка; 15 – защитная сетка трубы слива; 16 – труба подачи воды; 17 – деревянный клин; 18 – металлическая пластина; 19 – рейка; 20 – конструкция входного отверстия слива; 21 – насос
Изготовьте 12 деревянных клиньев длиной 20 см и шириной 6,5 см. Подготовьте также 12 металлических пластин 20×20 см. Клинья 17 вставьте в зазоры между стенками котлована (с этой стороны у клина будет металлическая пластина 18 для увеличения площади опоры на грунт). Клинья вставляйте по три с каждой стороны. Окончательно забивайте их только после того, как во все зазоры по периметру будет засыпан гравий, обеспечивающий боковой дренаж котлована. Гравий после засыпки слегка утрамбовывайте. После этого окончательно забейте клинья 17.
Вырезаем (или приобретаем готовую) поливинилхлоридную (или полиэтиленовую) пленку 3 размером 5×5 м. Выкладываем ее по объему бассейна, заворачиваем образующиеся на углах клинья во внешнюю сторону (к деревянному каркасу). Края пленки загибаем за верхний край деревянного каркаса и закрепляем рейкой 19 и планкой 6. По выступу сливной трубы 8 вырезаем в пленке отверстие, надеваем пленку на трубу, расправляем, сверху надеваем резиновую прокладку 14, шайбу 13 и зажимаем гайкой 12. Надеваем (или навинчиваем) на выступающий конец трубы 9 сетчатый фильтр 15, и система слива смонтирована.
Таким же образом прикрепляется к деревянному корпусу труба перелива 8. На рисунке 6 труба 16 подачи воды дана в стационарном исполнении. Но она может быть и без жесткой фиксации. Обсыпаем бассейн грунтом до высоты выступающей части деревянного каркаса. Со стороны лестницы 10 делаем небольшую площадку, выложенную кафелем. Это для того, чтобы не заносить грязь на ногах в бассейн. Для того, чтобы, хватаясь за края деревянного каркаса, не повредить пленку 3, накладываем облицовочные доски 19 шириной 10 см, которые фиксируются на упорах 2.
Затем заполняем бассейн водой, сливаем воду через четыре часа, заполняем заново и – купальный сезон можно открывать.
Материалы, которые обязательно понадобятся при сооружении такого бассейна:
• доски деревянные – (желательно сосна) – шириной 200 мм, толщиной 25 мм и длиной 1800 мм 48 штук;
• доски деревянные (тоже сосна) – шириной 200 мм, толщиной 25 мм и длиной 2300 мм – 20 штук;
• брус деревянный (сосна) 50×50 мм, длиной 2500 мм 12 штук;
• рейка деревянная 20×20 мм, длиной 2500 мм – 8 штук;
• пленка ПВХ (полиэтиленовая) – 5×5 м;
• водопроводные трубы (ПВХ-трубы или цветной металл), диаметр от 30 мм, общей длиной 10–15 м;
• насос электрический (откачивающий) – один, мощностью 1 кВт (для данного бассейна можно обойтись без подающего насоса, заполнение водой осуществлять из водопроводной сети);
• гравий (крупный песок) для устройства дренажа котлована – 3 м3;
• олифа, краска-эмаль (или лак) – по 3 банки;
• ножовка по металлу, ножницы для резки металла, плашка (клупп), гаечные ключи, ключ разводной, плоскогубцы, молоток, водопроводные вентили по потребности, гвозди, шайбы, прокладки;
• лестница для входа в бассейн (одна).

Рис. 7. Вариант решения дренажной стенки бассейна: 1 – дренажное углубление; 2 – гравий; 3 – корпус бассейна; 4 – ПВХ-пленка; 5 – прижимная планка ПВХ-пленки; 6 – деревянный настил; 7 – стабилизирующий брус стенки; 8 – брус-распорка между стенкой бассейна и стабилизирующим брусом
Исходя из описанной выше методики строительства деревянного бассейна 2,5×2,5 м, можно увеличить размер бассейна, делая его не квадратным, а, например, круглым (восьмигранник). Принцип возведения останется тем же.
Деревянные доски сбиваете в щиты, удобные к переноске (например, щит из 11 досок, всего будет 8 щитов). Высота таких досок (щитов) определяется глубиной бассейна (от 50 до 230 см). Еще раз считаем необходимым напомнить – доски должны быть сбиты очень плотно (лучше всего шпунтованные доски). Если где-то останется щель, то ПВХ-пленка будет вдавливаться в нее давлением воды и в конце концов прорвется. Появится течь, на устранение которой уйдет немало времени. После того, как такие щиты подготовлены, приступаете к рытью котлована. Глубина котлована будет зависеть от того, какой будет бассейн (вкопанный или полувкопанный) и для кого он предназначен: детский – глубиной 50 см, взрослый – глубиной от 105 до 150 см, бассейн для прыжков в воду – с глубиной в месте прыжка не менее 320 см.
Рытье котлована, подготовка дренажа дна и стенок котлована ничем не отличаются от того объема работ, которые описаны нами ранее.
Дренаж дна котлована выполнен (повторно его описывать нет необходимости). Дренаж стенок бассейна проведем после сборки в котловане 8 щитов – стенок бассейна. Сбитые щиты соединяются между собой в восьмигранник брусьями 2, как показано на рисунке 8. Каждый щит должен быть скреплен с соседним не менее чем тремя брусьями 50×50 мм (для бассейна 2,5×2,5 м), если диаметр бассейна 5,5 м – то брусья 60×60 или 70×70 мм. Гвозди 3 должны пройти брус и доску щита насквозь и выйти из доски на 3–4 см. Загиб гвоздя 3 надо сделать так, чтобы он был полностью утоплен в доску. Никаких выступающих кромок гвоздей не должно быть. Предлагаем для данного типа бассейна рассмотреть комбинированный проект – стенки деревянные, дно бетонное. Для этого насыпаем на гравий слой щебня толщиной 10 см. В слое щебня у бокового щита размещаем трубу слива воды из бассейна. Напоминаем, ее приемное отверстие находится в самой низкой точке дна бассейна (в эту сторону дно имеет понижение на 6°). Расчетным путем определяете, чтобы выходное отверстие трубы выступало над бетонным дном на 3–5 см. На этом конце трубы должна быть нарезана резьба для прижимной гайки и для заглушки, если не предполагается вентиль выпуска воды.

Рис. 8. Круглый (восьмигранный) бассейн: 1 – деревянные щиты из досок; 2 – брусья; 3 – гвозди для крепления бруса со щитом; 4 – труба перелива; 5 – подача воды; 6 – сливная труба; 7 – прижимная планка
Сетчатый фильтр, который обязательно закрепляется на сливе, может быть как на резьбе, так и просто насаживаться по принципу трения.
Отверстие для трубы перелива 4 должно быть прорезано над трубой слива воды (как и в случае на рис. 6 ). Отверстие для трубы подачи воды 5 прорезается в противоположном щите стенки бассейна. Высота этих отверстий должна находиться на расчетном уровне поверхности воды при ее полном заливе.
Затем приступаем к устройству дренажа боковых стенок бассейна. Для этого в оставленные зазоры между стенками бассейна и грунтом засыпаем гравий. Для того, чтобы не нарушилась центровка собранного деревянного корпуса, фиксируем зазоры деревянными клиньями ( рис. 6 ), которые не дают щиту смещаться при засыпке гравия. После того, как все зазоры заполнены гравием, он слегка утрамбовывается и сверху заливается цементным раствором.
Закончив устройство бокового дренажа, приступаем к заливке бетоном пола бассейна, который уже был выложен щебнем. Хорошо разровняв щебень и установив уклон пола в сторону сливной трубы 6°, кладем бетон. Его состав (в частях): портландцемент 400 – 1 часть, песок – 4 части.
Фракции щебня не должны быть больше 3 см. Гарантией того, что дно бассейна не будет трескаться и протекать, не даст трещину в случае падения на него тяжелого предмета, будет армирование его металлической сеткой. Делается это так: сначала на слой щебня кладется бетонная смесь слоем 6–7 см, на нее накладывается металлическая сетка. Затем кладется второй слой бетона толщиной до 8 см. Поверхность бетонного слоя хорошо разравнивается рейкой. Через 2–3 дня, когда бетон затвердеет, надо заделать все появившиеся трещины, раковины и оставшиеся неровности. Для этих целей подготовьте раствор из одной части цемента и трех частей песка. Для более быстрого затвердения можно добавить в раствор 1–2 % жидкого стекла.
Покрасив в собранном виде всю деревянную конструкцию бассейна приступаем к установке гидроизоляционного слоя, т. е. устилаем чашу бассейна ПВХ-пленкой. Перед этим еще раз хорошо разравниваем дно бассейна. Лучше всего это сделать с помощью рейки, на которую намотана крупнозернистая шлифовальная шкурка. Сгладить такие выступы можно, слегка ударяя по ним молотком с последующей обработкой шлифовальной шкуркой. Это делается для того, чтобы ПВХ-пленка не была повреждена острыми выступами и шероховатостями бетонного пола.
Размер ПВХ-пленки, учитывая возможные варианты при строительстве бассейна, мы точно дать не сможем. Но необходимые расчеты сделать можно, зная объемы бассейнов.
ПВХ-пленку рекомендуем укладывать и выравнивать, начиная с центра бассейна (учитывая его круглую геометрию). Когда пленка уложена, вырезаем отверстия для выступа сливной трубы 6, трубы перелива 4 и трубы подачи воды 5 ( рис. 8 ).
В нашем случае, когда сливная труба вмонтирована в пол бассейна, требуется только обеспечить отсутствие протечки воды из бассейна в пространство между ПВХ-пленкой, бетонным полом и боковыми деревянными щитами.