Всего за 94.9 руб. Купить полную версию

Рис. 20. Заделка раструба цементом
После уплотнения смоленой пряди приготовляют цементный раствор, а затем оставленное место в раструбе заполняют с помощью совка раствором 1 и плотно зачеканивают чеканкой и молотком до тех пор, пока чеканка не начнет отскакивать от цемента. Для заделки раструба применяют цемент марки 300 или 400, который тщательно перемешивают с водой в пропорции девять частей цемента на одну часть воды (по массе). Чтобы цементный раствор хорошо схватился, по окончании зачеканивания его следует накрыть мокрой тряпкой. В жаркую погоду тряпку время от времени смачивают водой. В зимнее время цементный раствор приготовляют на горячей воде, а раструбы подогревают. Стыки после заделки утепляют.
Вместо цемента для заделки раструба можно использовать асбестоцемент. Асбестоцементную смесь для заделки стыков приготовляют механическим перемешиванием цемента марки не ниже 400 и асбестового волокна (не ниже 4-го сорта) в соотношении 2:1. Непосредственно перед заделкой каждого стыка сухую асбестоцементную смесь увлажняют, добавляя 10–12 % воды от массы смеси. Асбестоцементной смесью стык заделывают примерно на 1/3 высоты раструба.
Сборка чугунных труб с заделкой раструбов расширяющимся цементом. Заделка раструбов чугунных труб смоленой прядью и цементом требует большой затраты труда, значительного расхода пряди и длительного времени для схватывания цемента. Кроме того, герметичность соединений зависит от качества уплотнения раструба.
Более совершенной и простой является сборка чугунных канализационных труб с заливкой раструбов расширяющимся цементом (рис. 21). Этот цемент водонепроницаем и обладает способностью расширяться при твердении и самоуплотняться. Применение расширяющегося цемента для заделки раструбов значительно ускоряет процесс сборки чугунных канализационных труб, так как отпадает необходимость конопатки раструбов смоленой прядью и чеканки стыка.

Рис. 21. Приемы заделки стыков чугунных канализационных труб расширяющимся цементом: а – намотка прядей, б – осадка прядей, в – установка и центрирование трубы, г – заделка цементом
Сначала подбирают и подгоняют необходимые трубы и фасонные части. После этого жесткой кистью очищают места стыков от пыли и грязи и промывают водой.
На конец трубы, который заводят в раструб другой трубы или фасонной части, наматывают два винта белой пряди толщиной 5 мм и длиной 440 мм для труб диаметром 50 мм и длиной 760 мм для труб диаметром 100 мм. Деталь с намотанной прядью вставляют в раструб другой детали, а прядь тонкой конопаткой осаживают вниз.
Затем трубу, вставленную в раструб нижней детали, центрируют тремя металлическими клиньями
так, чтобы ширина кольцевого зазора между трубой и раструбом была везде одинакова, и вгоняют клинья легкими ударами молотка.
Для заделки подготовленных стыков в сосуд для приготовления раствора вначале засыпают цемент. Для трубы диаметром 50 мм на один стык расходуют 100 г цемента, для трубы диаметром 100 мм – 200 г. Затем в сосуд с цементом наливают воду (до 70 % от объема цемента). Раствор непрерывно перемешивают, чтобы не было комков и сухих частиц. Кольцевой зазор стыка заделывают цементом за одни раз.
Соединение неметаллических труб
Общие сведения о пластмассовых трубах. В системах внутренней канализации и водостоков различного назначения применяют трубы и фасонные части, изготовленные из полиэтилена плотности ПЕЛ и низкой плотности (ПИП), полипропилена (ПП) и непластифицировааного поливинилхлорида (ПВХ).
Пластмассовые трубы и фасонные части имеют высокую коррозионную стойкость и низкую теплопроводность, что значительно снижает образование конденсата на поверхности труб. Внутренняя поверхность у них гладкая, благодаря чему пропускная способность пластмассовых труб больше, чем у чугунных труб таких же диаметров. Они являются хорошими диэлектриками, что исключает появление блуждающих токов в системах из таких труб.
Пластмассовые трубы хорошо поддаются механической обработке (резанию, сверлению, формовке), легко соединяются в раструб с резиновым уплотнительным кольцом, а также хорошо свариваются.
Наряду с перечисленными преимуществами пластмассовые трубы обладают следующими недостатками: большой чувствительностью к механическим повреждениям; значительным тепловым удлинением – например, коэффициент линейного расширения твердого ПВХ в семь, а полиэтилена в 10–15 раз больше, чем у стали; хрупкостью при низких температурах (трубы из ПВХ), поэтому монтаж систем из этих труб следует производить при температуре наружного воздуха не ниже -15 °C.
Канализационные пластмассовые трубы и фасонные части к ним выпускают с условными проходами 40, 50, 85 и 100 мм и длиной 3, 6, 8,10 и 12 м. Поверхность труб и фасонных частей должна быть ровной и гладкой, не допускаются трещины, пузыри, раковины, вздутия и посторонние включения, видимые без применения увеличительных приборов. Высота выступов после удаления литников равна не более 1 мм. Концы труб должны быть обрезаны перпендикулярно оси труб и очищены от заусенцев.
При монтаже пластмассовых труб используют раструбные, сварные и клеевые соединения. Чтобы раструбные соединения были герметичными, применяют резиновые уплотнительные кольца, поверхность которых должна быть ровной, гладкой, без раковин и заусенцев.
Соединение пластмассовых труб. Основной способ соединения пластмассовых труб и фасонных частей для систем внутренней канализации – раструбное соединение с резиновым уплотнительным кольцом. Герметичность раструба достигается за счет сжатия резинового кольца между стенками раструба и гладким концом трубы.
Раструбное соединение пластмассовых труб с резиновым уплотнительным кольцом собирают в такой последовательности. Очищают от грязи наружную поверхность трубы, внутреннюю поверхность раструба и желобок, а также резиновое кольцо. Затем вкладывают резиновое кольцо в желобок раструба, после чего гладкий конец трубы с фаской смазывают глицерином или мыльным раствором и легким вращением вводят его в раструб до метки. Когда раструбное соединение будет закончено, проверяют наличие кольца в желобке, поворачивая одну из соединяемых деталей вокруг другой. Если кольцо находится в желобке, то деталь легко поворачивается.
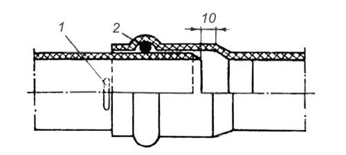
Присоединение выпуска керамического унитаза к канализационному трубопроводу из полиэтиленовых труб показано на рис. 22. В этом случае герметичность стыка достигается уплотнением резиновыми кольцами с последующей заделкой цементным раствором на глубину 1/3 раструба.

Рис. 22. Раструбное соединение с резиновым кольцом: 1 – метка; 2 – резиновое кольцо
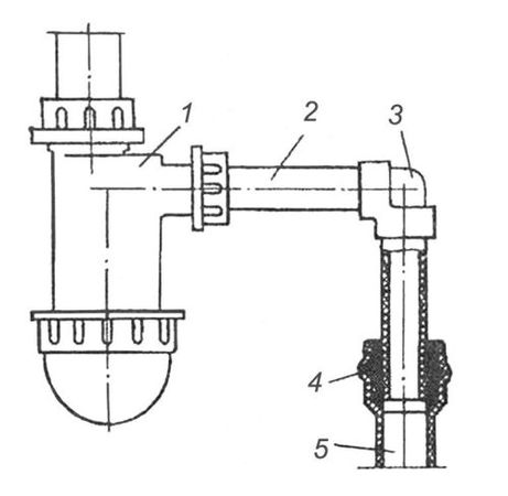
Пластмассовые сифоны присоединяют к системе канализации с помощью резиновой переходной детали, вставляемой в раструб трубы из ПВХ (рис. 23).
Канализационные стояки из пластмассовых труб 3 соединяют с чугунными трубами с помощью полиэтиленового переходного патрубка, на конце которого имеется раструб с желобком, обеспечивающий плотное соединение с пластмассовой трубой (рис. 24).
Соединение на клею. Для склеивания поливинилхлоридных труб применяют раструбное соединение. Процесс склеивания состоит из подготовки концов труб, приготовления клея и склеивания.
При подготовке концов труб склеиваемым поверхностям придают шероховатость, для чего наружный конец трубы и внутреннюю поверхность раструба обрабатывают шлифовальной шкуркой.

Рис. 23. Присоединение полиэтиленового бутылочного сифона к канализационному водопроводу:
1 – полиэтиленовый бутылочный сифон;
2 – канализационный водопровод; 3 – угольник;
4 – резиновая переходная деталь;
5 – отводная труба
Обработанные концы тщательно обезжиривают метиленхлоридом.
Для склеивания труб из ПВХ рекомендуются два состава клея. Первый состав содержит перхлорвиниловую смолу 14–16 ч. и метиленхлорид 86–84 вес. ч. Второй состав содержит перхлорвиниловую смолу 14–16 ч., метиленхлорид 76–72 ч., циклогексанон 10–12 ч. Второй состав клея используют при склеивании труб диаметром более 100 мм и температуре наружного воздуха более 20 °C. Для склеивания одного соединения труб диаметром 50 или 100 мм требуется соответственно 12 и 50 г клея. Из-за летучести растворителей консистенция клея постепенно изменяется, поэтому в открытом сосуде клей можно хранить не более 4 ч.