
Рис. 43. Узел устройства сливной воронки для озелененной крыши: 1) кровельный "пирог" выбранного типа кровли; 2) слой гравия шириной 25 см у края воронки; 3) геотекстиль, разделяющий грунт и гравийную засыпку; 4) колпак воронки; 5) фильтрующая сетка воронки; 6) чаша воронки
Высота реек контробрешетки должна быть равна толщине плит выбранного утеплителя. Возможно применение рулонного материала. Швы между плитами утеплителя заделывают герметиком и проклеивают скотчем или армирующей лентой.
2. Поверх утеплителя и первого слоя контробрешетки устраивают слой гидроизоляции по выбранному способу (рис. 44).
3. Поверх гидроизоляции устраивают второй слой контробрешетки, закрепляя ее рейки к рейкам первого слоя перпендикулярно им строго над стропилами.

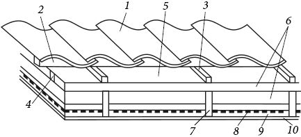
Рис. 44. Теплоизоляция скатов кровли со стропилами в "теплой зоне": 1) покрытие кровли; 2 – 4) три слоя обрешетки; 5) гидроизоляция; 6) два слоя утеплителя; 7) стропила; 8) пароизоляция; 9) вентиляционный зазор; 10) ДВП под отделку
4. Третий (верхний) ряд контробрешетки прибивают перпендикулярно второму ряду точно над рейками первого ряда обрешетки.
5. По верхней обрешетке укладывают выбранное кровельное покрытие.
6. Изнутри враспор между стропилами укладывают нижний слой теплоизоляции пароизоляционной пленкой внутрь помещения. Толщина плит должна быть меньше высоты сечения стропил. Плиты крепят с помощью специального клея, строительным степлером или на гвозди. Общая толщина двух слоев утеплителя должна составлять не менее 15 см для Средней полосы России. Швы между панелями утеплителя проклеивают алюминиевым скотчем для надежной пароизоляции.
7. Если утеплитель не имеет защитного пароизоляционного слоя, к его поверхности и по выступающим частям стропил крепят сплошным слоем (внахлест на 10 см) пароизоляционную пленку.
8. К стропилам прибивают декоративные потолочные панели, гипсокартонные листы или ДВП под чистовую отделку. Между внутренней поверхностью плит и утеплителем с пароизоляцией останется вентиляционный зазор.
Теплоизоляция скатов кровли плитным материалом со стропилами в "холодной зоне"
1. Между уложенными стропилами с подготовленной поверхностью монтируют враспор плиты утеплителя, пользуясь специальным клеем, степлером или гвоздями. При правильной установке враспор теплоизоляционные панели не нуждаются в дополнительной фиксации, можно воспользоваться и этим свойством. Плиты вставляют в один или несколько слоев, заполняя все пространство между стропилами в створ (рис. 45).
2. Поверх стропил и расположенного в их створе утеплителя укладывают 1 – 3 слоя подкровельной гидроизоляции в соответствии с выбранным методом.
3. По гидроизоляционному ковру укладывают средний слой контробрешетки, прибивая брусья строго по стропилам.
4. По среднему слою контробрешетки устраивают слой обрешетки, располагая его брусья перпендикулярно среднему слою и стропилам.
5. На верхнюю обрешетку укладывают кровельное покрытие. Между ним и слоем гидроизоляции образуется подкровельный вентиляционный зазор. Необходимая величина этого зазор по высоте зависит от типа кровельного покрытия: для черепицы, металлочерепицы, профнастила – 2,5 см; для фальцевой кровли, битумной черепицы – 5 см.

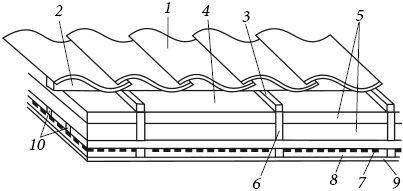
Рис. 45. Теплоизоляция скатов кровли со стропилами в "холодной зоне": 1) покрытие кровли; 2) обрешетка; 3) контробрешетка; 4) гидроизоляция; 5) теплоизоляция; 6) стропила; 7) пароизоляция; 8) вентиляционный зазор; 9) декоративные плиты потолка; 10) нижняя обрешетка
6. Снизу по стропилам устраивают нижнюю обрешетку в 2 слоя. Первый (верхний) прибивают перпендикулярно стропилам (обрешетка). Между его брусьями враспор укладывают дополнительный слой теплоизоляции и покрывают его снизу сплошной пароизоляционной пленкой. Плиты должны быть установлены с перевязкой швов относительно верхнего слоя тепло изоляции. Затем, строго под стропилами (перпендикулярно предыдущему слою), прибивают нижний слой обрешетки (контробрешетка), закрепляя нижний слой утеплителя с пароизоляцией и создавая основу для устройства потолка.
7. Панели или плиты для потолка прибивают по нижнему слою обрешетки. Между ними и теплоизоляционным слоем остается вентиляционный зазор.
Теплоизоляция скатов кровли плитным материалом со стропилами в утеплителе
1. Между стропилами, предварительно подготовив их поверхность, укладывают плиты утеплителя враспор между стропильными досками и стык в стык друг с другом. Швы между плитами проклеивают алюминиевым скотчем.
2. Поверх стропил с уложенным теплоизоляционным материалом располагают слой гидроизоляции в соответствии с выбранным методом (рис. 46).

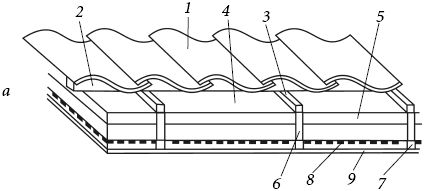
Рис. 46. Теплоизоляция скатов кровли со стропилами в утеплителе: а – с нижней обрешеткой под стропилами; 1) покрытие кровли; 2) обрешетка; 3) контробрешетка; 4) гидроизоляция; 5) теплоизоляция; 6) стропила; 7) контробрешетка (нижний слой); 8) пароизоляция; 9) обшивка потолка

Рис. 46. Теплоизоляция скатов кровли со стропилами в утеплителе: б – с нижней обрешеткой перпендикулярно стропилам; 1) покрытие кровли; 2) обрешетка; 3) контробрешетка; 4) гидроизоляция; 5) теплоизоляция; 6) стропила; 7) контробрешетка (нижний слой); 8) пароизоляция; 9) обшивка потолка
3. Поверх гидроизоляции устраивают два слоя контр обрешетки: первый строго на стропила, второй – перпендикулярно первому.
4. По верхнему слою обрешетки укладывают кровельное покрытие. Между ним и гидроизоляцией должен остаться зазор высотой не менее 2,5 – 5 см.
5. По нижней поверхности стропил и теплоизоляции устраивают сплошную пароизоляцию, укладывая полиэтиленовую пленку или подобный материал с помощью скотча или клея, внахлест на 10 см.
6. Снизу к стропилам по ним или перпендикулярно им прибивают еще один слой обрешетки. На его бруски крепят потолочные плиты (обшивку) под чистовую отделку, оставляя между ними и теплоизоляционным материалом вентиляционный зазор.

...
Щели вокруг труб и вентиляционных каналов должны быть герметично закрыты пенным утеплителем быстрого схватывания, войлоком или другими подобными материалами. Однако утеплитель не должен прилегать к трубам: сначала их оборачивают специальным картоном. Электропроводку от теплоизоляции тоже должен отделять изолирующий материал: например, на основе глины.
Теплоизоляция пола неотапливаемого чердака сыпучим материалом
1. По подготовленному основанию устраивают стяжку из цементно-песчаного раствора толщиной 2 – 3 см. Можно дополнительно усилить ее армированной сеткой.
2. По стяжке укладывают лаги, как при утеплении пола по лагам. Высота сечения лаг должна быть равна планируемой толщине слоя теплоизоляции. Возможно устройство насыпной теплоизоляции без лаг: в таком случае утеплитель насыпают ровным слоем непосредственно на основание, по нему устраивают стяжку и укладывают дощатый настил.
3. По лагам укладывают пароизоляционную пленку, плотно прижимая ее к основанию, стыкуя полотнища внахлест на 10 см.
4. Между лагами насыпают керамзит или другой сыпучий утеплитель (для Средней полосы России расход сыпучего утеплителя можно взять примерно 100 кг на 1 м2 пола, но лучше произвести расчет).
5. По лагам, перпендикулярно им, устраивают дощатый настил.
Листовая гидроизоляция скатной кровли
1. На подготовленное основание укладывают листы из металла (нержавеющая сталь, свинец, медь, алюминий) или материала на основе пластмассы (винилпластик, пластикат). Листы закрепляют друг с другом путем сварки (пластиковые листы сваривают с помощью специального фена или горелки), к основанию их крепят на шурупы (дюбели) с гидроизоляционной прокладкой или специальный клей. Листы укладывают внахлест на 5 – 10 см. Укладку начинают с нижнего ряда, накладывая верхние ряды поверх кромок нижних.
2. Поверхность стальных листов покрывают антикоррозийнным составом.
3. Швы между листами заделывают гидроизолирующим герметиком.
4. Производят окрашивание поверхностей прочной краской, стойкой к погодным воздействиям. Окрашивают как металлические, так и пластиковые листы.
Черепичная гидроизоляция: цементно-песчаная черепица
1. Конструкция под этот вид кровельного покрытия представляет собой стропильную систему из стропил 5 Ѕ 15 см с шагом 60 – 90 см и перпендикулярную стропилам обрешетку, закрепленную по контробрешетке с шагом, соответствующим размерам черепицы (рис. 47). Контробрешетку крепят на стропила поверх уложенного на них гидроизоляционного ковра, под которым устраивают выбранный тип теплоизоляции (если чердак теплый).