
Рис. 39. Эксплуатируемая плоская кровля: 1) плита перекрытия; 2) стяжка с уклоном; 3) гидроизоляция; 4) плиты утеплителя; 5) геотекстиль; 6) гравийная засыпка; 7) песчаная засыпка; 8) тротуарные плиты
4. Укладывают слой геотекстиля, стыкуя полотна внахлест на 10 – 15 см и закрепляя оцинкованными гвоздями. Для большей надежности под геотекстилем иногда устраивают дополнительный слой гидроизоляции, уложив по утеплителю стеклохолст, а уже на него – гидроизоляционный материал по любому методу устройства.
5. Устраивают гравийную засыпку толщиной 5 – 10 см из гравия фракции 5 – 20 мм, уплотняя ее. Возможно уплотнение насухо или с применением цементного молока.
6. Укладывают слой песка толщиной 5 – 7 см, уплотняя его деревянной трамбовкой и (при желании) цементной смесью. Если гравийную и песчаную засыпку уплотняют цементом, то под геотекстиль дополнительный слой гидроизоляции, как правило, не укладывают. Вместо 2-х слоев уплотненной засыпки может быть также устроен слой цементно-песчаной стяжки.
7. По песчаной "подушке" укладывают тротуарные плиты. Плитка может быть уложена непосредственно по геотекстилю (в таком случае под геотекстилем обязателен описанный в п. 4 дополнительный слой гидроизоляции по стеклохолсту) на пластиковые опоры с образованием под ней вентиляционного зазора. Но можно уложить ее и насухо, вдавив в песчаную засыпку (такой вариант не рекомендован из-за низких качеств получаемого покрытия). Если гравийная и песчаная засыпки уплотнены цементной смесью или выполнены в виде цементно-песчаной стяжки, то плитку укладывают, вдавливая в незастывший цементно-песчаный слой. При этом необходимо сохранять общий уклон кровельного покрытия к воронкам.
Совмещенная "зеленая" плоская кровля
1. На подготовленную бетонную поверхность перекрытия укладывают согласно выбранному методу рулонную или бесшовную гидроизоляцию в 3 слоя (общая толщина должна получиться около 2 см). Защитную посыпку в данном случае не применяют. Основанием для устройства совмещенной "зеленой" кровли могут служить любые железобетонные плиты перекрытия (монолитные, пустотные, ребристые), а также оцинкованный профнастил.
2. Монтируют плиты утеплителя (подойдет как органический утеплитель, так и не органический) толщиной 20 см или более (в зависимости от расчета), укладывая стык в стык с перевязкой швов между рядами. Швы заделывают герметиком и армирующей лентой. Утеплитель обязательно должен быть прочным, способным выдержать вес увлажненного грунта, насыпанного поверх конструкции.
3. По утеплителю укладывают разделительный слой из кровельного картона (толщина 1 – 1,5 см, при более тонком материале его укладывают в несколько слоев). На кровле из профилированного листа слой картона можно не укладывать.
4. Заливают стяжку из легкого бетона (например, керамзитобетона, пенобетона) или цементно-песчаной смеси. Толщина стяжки в самом низком месте – 5 см. При устройстве стяжки выполняют уклон в сторону сливной воронки в 1,5 – 5 % (оптимально – 2 %). Возможно устройство стяжки на данным этапе непосредственно по бетонному основанию, под нижним слоем гидроизоляции. Стяжку из цементно-песчаной смеси желательно делать армированной (с утопленной в нее армирующей лентой). По профнастилу разуклонку в виде стяжки не выполняют, уклон создают плитами утеплителя (рис. 40).
5. Устраивают слой гидроизоляции из материала повышенной прочности (например, техноэласт-ЭПП) по выбранному методу укладки.

Рис. 40. Совмещенная "зеленая" кровля: 1) плита перекрытия; 2) гидроизоляция; 3) утеплитель; 4) разделительный слой картона; 5) стяжка с образованием уклона (разуклонка); 6) слой прочной гидроизоляции; 7) слой гидроизоляции для озелененных крыш; 8) полиэтиленовая пленка; 9) дренажная мембрана между двумя слоями геотекстиля; 10) грунт; 11) озеленение
6. Устраивают слой гидроизоляции из специального гидроизоляционного материала для озелененных крыш (например, техноэласт-Грин).
7. Укладывают полиэтиленовую пленку толщиной 2 мм, закрепляя строительным скотчем или армирующей лентой. Полотна укладывают внахлест на 10 – 15 см.
8. На пленку укладывают слой геотекстиля, затем геодренажную полимерную мембрану, на нее – еще один слой противокорневого геотекстиля (общая толщина получается около 5 см). Геотекстиль и мембрану укладывают поэтапно, стыкуя полотнища внахлест на 20 см. Возможна замена полимерной дренажной мембраны слоем керамзита фракции не более 2 см, толщина такого слоя должна составить 5 – 10 см.
9. Насыпают грунт толщиной 30 – 80 см в зависимости от планируемых к высадке растений и глубины развития их корневой системы. Если будет применен рулонный газон, толщина грунтового слоя может быть минимальной. Для озелененной кровли применяют растения с особыми свойствами: устойчивостью к погодным явлениям и механическому воздействию (например, очиток, овсяница, мискантус). Парапет крыши должен быть выше грунтового слоя на 50 см или более.

...
При организованном водоотводе с плоской кровли обязательно устраивают парапет. Кровельный изоляционный ковер заводят на нижнюю поверхность парапета как минимум на 30 см выше верхнего слоя кровельного "пирога". Под загнутым кверху гидроизоляционным слоем (обмазочным или рулонным) производят оштукатуривание парапета цементно-песчаным раствором.
Инверсионная "зеленая" плоская кровля
1. Непосредственно по подготовленной бетонной поверхности перекрытия (подойдет любая железобетонная плита) устраивают стяжку из легкого бетона с образованием уклона 1,5 – 5 % (оптимально – 2 %). Минимальная толщина стяжки – 5 см.
2. После высыхания слоя бетонной разуклонки по ней с сохранением уклона устраивают цементно-песчаную стяжку толщиной 3 – 5 см с утопленным в нее до высыхания полотном армирующей сетки.
3. По высохшей стяжке после нанесения на нее слоя грунтовки укладывают слой прочной гидроизоляции с помощью выбранного метода (рулонная или бесшовная).
4. По первому слою гидроизоляции устраивают второй слой из специального гидроизоляционного материала для озелененных крыш (рис. 41).

Рис. 41. Инверсионная "зеленая" кровля: 1) плита перекрытия; 2) стяжка с образованием уклона (разуклонка); 3) армированная цементно-песчаная стяжка; 4) слой прочной гидроизоляции; 5) слой гидроизоляции для озелененных крыш; 6) полиэтиленовая пленка; 7) геотекстиль; 8) утеплитель (ЭППС); 9) геодренажная мембрана между двумя слоями геотекстиля; 10) грунт; 11) озеленение
5. По гидроизоляции укладывают слой полиэтиленовой пленки толщиной 2 мм, стыкуя полотна внахлест на 10 – 15 см и закрепляя края скотчем или армирующей лентой.
6. Укладывают слой геотекстиля.
7. Монтируют плиты утеплителя, соединяя стык в стык и с помощью боковых пазов. Соседний ряд укладывают с обязательной перевязкой швов. Плиты закрепляют с помощью дюбелей или на специальный клей. При необходимости, укладывают 2 – 3 слоя утеплителя. Для устройства инверсионной озелененной кровли подходят только влагостойкие и прочные виды утеплителя.
8. Укладывают слой геотекстиля, по нему – дренажную мембрану, затем еще один слой противокорневого иглопробивного геотекстиля.
9. Насыпают грунт и через некоторое время высаживают растения (см. Совмещенная "зеленая" плоская кровля, п. 9 ).
10. Примыкание озелененной кровли к парапету показано на рисунке 42.
11. Узел устройства сливной воронки для озелененной крыши приведен на рисунке 43.
Теплоизоляция скатов кровли плитным материалом со стропилами в "теплой зоне"
1. К подготовленной поверхности стропил сверху, между рейками первого уровня контробрешетки, крепят на саморезы или оцинкованные гвозди панели теплоизоляционного материала, стыкуя по средней линии каждого стропила.

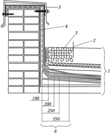
Рис. 42. Изоляция примыкания озелененной кровли к парапету (размеры в мм): 1) кровельный "пирог" выбранного типа "зеленой" кровли; 2) геотекстиль, отгораживающий грунт от припарапетного слоя гравия; 3) слой гравия у парапета (ширина 25 см или более, фракция 2 – 4 см); 4) штукатурка из цементно-песчаного раствора; 5) оцинкованный лист, закрепленный саморезами; 6) постепенное увеличение уклона материалов к парапету с заведением на вертикальную поверхность парапета