Всего за 45 руб. Купить полную версию

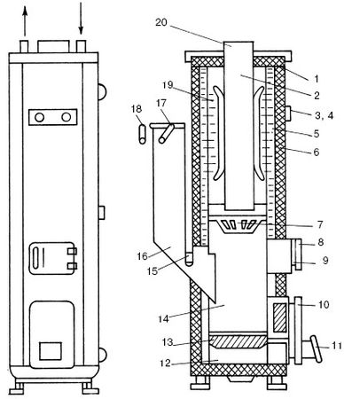
Рис. 19. Водогрейный двухконтурный агрегат АТВ-23,2 (модель 3107): 1 – кожух декоративный; 2 – газоход; 3-4 – термометры манометрические; 5 – теплообменник; 6 – теплоизоляция; 7 – чугунный отражатель; 8 – загрузочная дверца; 9 – фурмы для подачи вторичного воздуха; 10 – растопочная дверца; 11 – дверца зольника; 12 – зольник; 13 – колосниковая решетка; 14 – топка; 15 – заслонка; 16 – загрузочный бункер; 17 – стопор; 18 – затвор; 19 – теплообменник горячего водоснабжения; 20 – дымоотводящий патрубок
Путем модернизации котла АТВ-17,5 был создан агрегат марки АТВ-23,2 (рис. 19). Новая модель оснащена загрузочным бункером для подачи топлива емкостью 45 кг, что дает возможность котлу работать без обслуживания в течение 24 ч. Из бункера топливо подается в наклонную часть колосниковой решетки. Имеющаяся заслонка регулирует подачу топлива, и толщина его слоя на колосниках остается постоянной.
Котел такого типа может обогревать дом площадью около 100 м2. В табл. 14 даны технические характеристики котла АТВ-23,2.
Таблица 14
Технические характеристики двухконтурного котла АТВ-23,2

Жидкотопливные котлы
Котлы этого типа устанавливают в тех загородных домах, куда невозможно подать магистральный газ. Жидкотопливные котлы намного удобнее и проще в обслуживании и эксплуатации, чем твердотопливные. Эти агрегаты не требуют трудоемкого ухода, потому что работают автоматически весь отопительный сезон, после окончания которого проводят профилактический осмотр и при необходимости ремонт. Главным преимуществом жидкотопливных котлов является автономность системы отопления.
Тем не менее, устанавливая котел такого рода в своем доме, вы прежде всего должны позаботиться о подходящем помещении для хранения емкостей с топливом. Дизельное топливо выпускается в пластмассовых или стальных емкостях. Первые из них легкие и дешевые, но при длительном хранении следует выбирать стальные емкости или пластмассовые, но с двойными стенками. Нельзя хранить дизтопливо в прозрачных емкостях, потому что под действием света оно теряет свои свойства.
Можно устроить хранилище топлива в специально оборудованном помещении или хранить его снаружи дома закопанным в землю на глубину промерзания. Второй способ хранения более экологичен, потому что даже при закрытых емкостях дизтопливо издает специфический запах.
При работе котла дизтопливо полностью испаряется, а выделившиеся летучие вещества сгорают вместе с парами воздуха. Но при этом образуется большое количество серных выделений, которые осаживаются на стенках котла, особенно если температура воды невелика. Поскольку в стальном котле конденсата обычно бывает намного больше, жидкотопливные котлы изготавливают чаще всего из чугуна, хотя они становятся более тяжелыми.

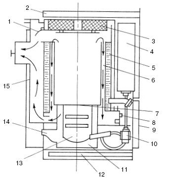
Рис. 20. Котел отопительный АОЖВ: 1 – шибер; 2 – откидная крышка; 3 – крышка теплообменника; 4 – бак для топлива; 5 – теплообменник; 6 – экран; 7 – пламенная труба; 8 – люк; 9 – стенка передняя; 10 – дозатор; 11 – кожух горелки; 12 – поддон; 13 – горелка; 14 – регулятор воздуха; 15 – короб дымовой
Как правило, все жидкотопливные котлы монтируются в специально отведенных помещениях, в которых должна быть хорошая вентиляция и температура не ниже 7° С. Установив на трубопроводе, подающем топливо в котел, фильтры тонкой очистки, можно значительно продлить срок эксплуатации котла.
Жидкотопливный котел АОЖВ (рис. 20). Он представляет собой прямоугольный металлический шкаф, снабженный откидными крышками, дающими возможность производить осмотр, обслуживание и ремонт котла. В лицевой части агрегата установлен топливный бак емкостью 16 л, имеющий указатель топлива поплавкового типа. Этого количества топлива хватает для бесперебойной работы котла в течение 15 ч.
В нижней части котла установлена горелка с теплоизоляционным кожухом, создающим направленное движение воздуха в сторону горения, которая имеет естественный подсос воздуха. Над горелкой установлена пламенная труба, оснащенная теплоизолирующей крышкой и экраном.
Водогрейный котел имеет теплообменник, который образуют два концентрически расположенных цилиндра. Пространство между этими цилиндрами заполнено водой. Сверху и снизу теплообменника имеются краны для подачи холодной и отвода горячей воды. Позади теплообменника, на его стенке, смонтирован дымовой короб, оснащенный шибером, который регулирует подачу воздуха и направляет отвод дымовых газов.
В момент растопки котла шибер должен стоять в положении "открыто". После того как вода нагреется до нужной температуры, шибер следует закрыть. Заслонка перекрывает путь дымовым газам, идущим в дымоход. В результате этого газы проходят через кольцевой зазор между пламенной трубой и водяной рубашкой. Они отдают свое тепло воде, после чего уходят в дымоход.
Для работы данного котла применяется печное бытовое топливо или керосин. В нижней части агрегата установлен дозатор, который регулирует подачу топлива в горелку. Если уровень топлива поднимается выше контрольного, дозатор автоматически прекращает его подачу. В табл. 15 даны технические характеристики котла АОЖВ.
Таблица 15
Технические характеристики жидкотопливного котла АОЖВ

Чугунные секционные котлы серии КЧМ
Котлы этой серии работают на газе. Они имеют инжекционные (атмосферные) горелки низкого давления. Такого рода горелки представляют собой насадку прямоугольной формы, оснащенную центральной перемычкой. По периметру у горелки расположены огневые отверстия, выполненные в два ряда. Такое расположение отверстий увеличивает длину факела по сравнению с однорядными горелками.
Котлы серии КЧМ имеют автоматическую систему регулировки температуры теплоносителя (от 45 до 85° С). Внутренний стержень и наружная трубка терморегулятора выполнены из металлов, имеющих различный коэффициент линейного расширения, на этом и основан принцип действия автоматики. Главной деталью системы регулировки является соленоидный клапан, подающий газ на горелку. Соленоид подключен к источнику переменного тока. В случае, когда вода нагревается выше установленной нормы, терморегулятор, установленный на выходе горячей воды, отключает соленоидный клапан – доступ газа к горелке прекращается. При остывании воды электрический контакт замыкается, клапан открывает доступ газа.
Помимо этого, газовые агрегаты КЧМ имеют систему безопасности, включающую в себя термопару, запальную горелку и электромагнитный клапан. Факел запальной горелки раскаляет спай термопары – возникает электрический ток. Нижний конец штока соединен с якорем электромагнитного клапана. На этом конце закреплен клапан, выполненный в виде тарелочки. Он прижат с помощью пружины к верхнему седлу. В нерабочем положении клапан перекрывает доступ газа к основной и запальной горелкам. Для того чтобы разжечь котел, необходимо нажать кнопку электромагнитного клапана, который соединен с тарельчатым клапаном. Газ начнет поступать к запальной горелке. После того как термопара нагреется и возникнет электрический ток, якорь прижмется к электромагниту, а тарельчатый клапан откроет доступ газа к основной горелке. Через 25 с после того, как погаснет запальная горелка, термопара остынет, закроет клапан, доступ газа перекроется автоматически.
Современные котлы серии КЧМ-5 могут работать на газе, а также на твердом и жидком топливе.
Устанавливают их обычно для отопления помещений площадью до 1000 м2. Основные их детали и узлы изготовлены из высококачественного серого чугуна, усилены антикоррозийным покрытием и обладают прекрасной термостойкостью. Практически все современные агрегаты имеют автоматические системы, созданные по принципу зарубежных. Отличительной особенностью этих систем является наличие электромагнитного клапана, который дает возможность экономить топливо, а также повышать безопасность работы котла за счет предохранительного термостата. Некоторые модели оснащены встроенным водонагревателем, который обеспечивает владельцев горячей водой. Принцип работы водонагревателя заключается в теплообмене горячей и холодной воды через стенки латунных труб.
Газовый котел КЧМ-5-Гн-К имеет атмосферную горелку, при работе практически не издает шума, топливо в нем сгорает полностью, а КПД составляет 80-90%. Потерь тепла в данном агрегате практически нет. Но у этой модели имеется большой минус: автоматическая система работает только при наличии электричества. При отключении электроэнергии будет гореть только запальная горелка. В табл. 16 даны технические характеристики котла.
Таблица 16
Технические характеристики газового котла КЧМ-5-Гн-К
