Всего за 45 руб. Купить полную версию

КЧМ-2М "Жарок-2" (рис. 15) – твердотопливный котел, оснащенный топкой длительного сгорания топлива, которую при необходимости можно перевести на природный газ. В топочной камере имеются обводные растопочные каналы, через которые можно производить загрузку топлива в полном объеме за один раз, что увеличивает продолжительность работы котла без обслуживания и контроля. Поскольку в конструкции имеются дополнительные вертикальные ребра, это дает возможность образовать обводные растопочные каналы, которые не заполняются топливом. Кроме этого, данные ребра образуют замкнутое зольное пространство, способствующее повышению плотности газа в котле. Это позволяет регулировать подачу воздуха при растопке котла путем открытия крышки воздухосборника под нужным углом.

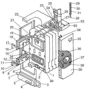
Рис. 15. Водогрейный котел КЧМ-2М "Жарок-2": 1 – пакет секций; 2 – решетка; 3 – шнур асбестовый; 4 – ручка; 5 – воздухосборник; 6 – ящик зольный; 7 – винт М6 х 12; 8 – гайка М6; 9 – защелка; 10 – шайба; 11 – отражатель; 12 – дверка нижняя; 13 – кронштейн; 14 – стенка правая; 15 – отражатель; 16 – болт М10 х 35; 17 – ручка; 18 – дверка верхняя; 19 – болт М10 х 20; 20 – стенка левая; 21 – турбулизатор; 22 – крышка; 23 – прокладка; 24 – штуцер; 25 – термометр манометрический; 26 – кронштейн; 27 – отвод; 28 – прокладка; 29 – оправа для термометра; 30 – прокладка; 31 – термометр стеклянный; 32 – патрубок газоотхода; 33 – шайба М10; 34 – планка; 35 – табличка; 36 – отвод; 37 – болт М10 х 25; 38 – прокладка; 39 – стенка правая; 40 – заклепка 8 х 50
Котел "Жарок-2" позволяет отапливать помещение объемом от 300 до 900 м3 при использовании отопительной системы с естественной или принудительной циркуляцией. В табл. 7 дана продолжительность работы этого котла. В табл. 8 показаны технические характеристики КЧМ-2М "Жарок-2".
Таблица 7
Продолжительность работы котла КЧМ-2М "Жарок-2"

Таблица 8
Технические характеристики твердотопливного котла КЧМ-2М "Жарок-2"


КЧМ-2У "Каунас" – это котел, работающий на антраците, коксе, каменном угле. При желании его можно переоборудовать для использования газообразного или жидкого топлива. Несмотря на то что теплоемкость "Каунаса" меньше, чем "Жарка-2", КПД его работы значительно выше. Этот вид котла имеет ширину 465 мм, высоту – 1062 мм. Котел КЧМ-2У предназначен для обогрева домов объемом 400-1300 м3. В табл. 9 даны технические характеристики котла КЧМ-2У.
Таблица 9
Технические характеристики твердотопливного котла КЧМ-2У "Каунас"

КЧМ-3ДГ имеет топку длительного горения. Он может эффективно работать в течение 12 ч без обслуживания. При желании его можно переоборудовать для использования газообразного топлива.
Данный котел применяется в загородных домах, имеющих водяную отопительную систему с давлением не более 0,6 МПа. В табл. 10 даны технические характеристики котла КЧМ-3ДГ.
Таблица 10
Технические характеристики твердотопливного котла КЧМ-3ДГ

Стальные твердотопливные котлы
Стальные твердотопливные котлы выпускаются маркой КС-Т. Буква "Т" означает, что котел работает на твердом топливе. Помимо этого, изготавливаются котлы марки КС-ТГ, работающие как на твердом, так и на газообразном топливе.
Котел КС-Т (рис. 16) – это стальной шкаф в виде прямоугольника, его стенки прекрасно теплоизолированы гидрофобизированным базальтовым картоном, а затем обшиты стальными листами и выкрашены эмалью светлого цвета. Вокруг топки имеется водяная рубашка, от конвективной части топка отделена козырьком.

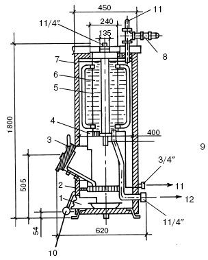
Рис. 16. Водогрейный котел КС: 1 – топка; 2 – загрузочная топка; 3 – колосники; 4 – дверка для обслуживания колосниковой решетки; 5 – зольник; 6 – водяная рубашка; 7 – козырек, отделяющий конвективную часть; 8 – конвективный газоход; 9 – водопроводящие каналы; 10 – термометр; 11 – винт регулировки; 12 – заслонка
Передняя панель аппарата оснащена двумя дверками. Одна из них предназначена для загрузки топлива в котел, другая – для обслуживания колосников, которые находятся внизу топочной части.
Газоход представляет собой три горизонтальные щели, которые образуются за счет водопроводящих каналов, установленных с незначительным уклоном. Это сделано для более быстрого удаления пузырьков пара. Без обслуживания котлы КС-Т и КС-ТГ могут работать более 6 ч. В табл. 11 даны технические характеристики котла КС-Т, а в табл. 12 – котла КС-ТГ.
Таблица 11
Технические характеристики котлов КС-Т

Таблица 12
Технические характеристики котлов КС-ТГ


Водогрейный котел, работающий на древесине
Самым распространенным и экономичным топливом в средней полосе России является древесина. Большой минус – быстрое сгорание топлива, при этом выделяется небольшое количество тепла. Промышленность выпускает котлы, в которых древесина сгорает намного медленнее, а теплоотдача увеличена. Это котлы с так называемыми шахтными топками (рис. 17).
Такого рода котел имеет только один ход, а также оснащен верхним отводом дымовых газов. При растопке котла потребуется двойная подача воздуха: первичная порция нужна для горения твердой части топлива, вторичная – для сжигания выделяющихся летучих веществ. Первичная порция подается в топку

Рис. 17. Котел с дровяной топкой из листовой стали: а – вид сбоку; б – вид спереди; в – поперечный разрез; 1 – дверца поддувальная; 2 – дверца прочистная; 3 – дверца топочная; 4 – регулятор горения; 5 – водонагреватель; 6 – дымовой патрубок; 7 – колосники; 8 – чистка с песчаным затвором; 9 – дроссель (открывающийся при растопке и закрывающийся при установившемся горении); 10 – трубчатый нагреватель через колосники, а вторичная – в надтопливное пространство.
Двухконтурные котлы
Твердотопливные котлы подразделяются на одно-и двухконтурные. Двухконтурные котлы служат не только для обогрева помещений, но и для нагревания воды.
АТВ-17,5 представляет собой котел, состоящий из двух емкостей цилиндрической формы, которые вставлены одна в другую (рис. 18). Внутренняя емкость относится к отоплению, наружная – к горячему водоснабжению. Вода, предназначенная для отопления помещений, нагревается с помощью трубы, находящейся внутри теплообменника. По этой трубе проходят дымовые газы из топки. С помощью смежной цилиндрической поверхности и четырех скобовидных труб происходит перераспределение тепла между системами отопления и горячего водоснабжения. Эта поверхность омывается водой из обеих систем.

Рис. 18. Двухконтурный твердотопливный водогрейный агрегат АТВ-17,5: 1 – зольник; 2 – колосник; 3 – дверца топки; 4 – топка; 5 – теплообменник горячего водоснабжения; 6 – теплообменник отопления; 7 – корпус; 8 – предохранительный клапан; 9 – фурмы для подачи вторичного воздуха; 10 – дверца зольника; 11 – горячая вода; 12 – труба к отопительным приборам
Конструкция топки такова, что котел может работать бесперебойно около 8 ч даже без обслуживания. Топка вмещает в себя примерно 30 кг твердого топлива. В дверце зольника выполнены отверстия, через которые поступает первичная порция воздуха, проходя при этом через колосниковую решетку. Вторичный воздух, используемый для сжигания выделившихся при горении топлива летучих веществ, подается через фурму в надтопливное пространство. В табл. 13 даны технические характеристики котла АТВ-17,5.
Таблица 13
Технические характеристики двухконтурного котла АТВ-17,5
