
Рис. 93. Лодка-бублик из автомобильной камеры: а – общий вид; б – основание мачты; в – стык мачты с основанием. 1 – баллон; 2 – опорный брус мачты; 3 – поперечные рейки; 4 – центральная рейка-"бушприт"; 5 – рейки настила ("палуба"); 6 – мачта; 7 – распорные планки; 8 – осевой штырь; 9 – штырь
Сначала соберите опору мачты: прибейте четыре дощечки к брусу (все выполняется по месту, точные размеры здесь несущественны). Получившуюся крестовину уложите внутрь баллона и накачайте его так, чтобы дощечки в нем оказались враспор (рис. 93, б). Сверху наложите настил-палубу, посреди которой в центральной рейке нужно предварительно сделать отверстие под металлическим штырь или большой гвоздь, загодя вбитый в брус опоры мачты. На продетый сквозь настил штырь наденьте мачту, в торце которой заготовлено ответное отверстие. Теперь необходимо укрепить мачту: через ее вершину пропустите длинный шнур, концы которого натяните и привяжите на концах рейки-"бушприта". Сам "бушприт" в его средней части прибейте несколькими гвоздями к брусу – основанию мачты
Все гвозди, скрепляющие рейки палубы, должны быть тщательно загнуты, а все деревянные детали во избежание заноз старательно зачищены наждачной бумагой, и после этого окрашены масляной краской. Желательно, чтобы краски были разного цвета, тогда лодочка получится яркой и красивой. Это касается не только палубы, но также мачты и весел
Каждый уважающий себя корабль ходит обязательно под каким-либо флагом. Нужно прикрепить такой и на вершине мачты нашей лодочки, а на реях – натяжном шнуре мачты – развесить яркие флажки.
На этом строительство и оснащение корабля закончено, и его можно спускать на воду. Конечно, для морей-океанов он маловат, но для пруда или небольшой речушки – в самый раз. На нем можно не только играть в пиратов, но и ловить рыбу. Счастливого плавания!
Мини-лодка для рыбака
Какая рыбалка без лодки? Особенно на крупных водоемах. Если вы хотите сделать оригинальное, практически бесшумное плавательное средство, его можно построить на базе автомобильной камеры.
Оборудованная веслами или легким электродвигателем, она способна тихо передвигаться по водоему, позволяя бесшумно добираться до любимых рыбных мест. Сидя в лодке, вы можете и просто дрейфовать или плыть по течению вдоль берега реки, выбирая понравившийся уголок.
Как показано на рис. 94, такая занятная лодка собрана из старой автомобильной камеры, тарного ящика, деревянных брусков и пляжного кресла. Все остальное – из подручных средств.
Конструкция лодки проста и очевидна. Основную раму можно собрать из дерева. В этом случае ее придется проолифить несколько раз и покрасить водостойкой краской.
Каркас лодки собирают из деревянных брусков сечением 15×100 мм. Они должны быть гладкими, особенно в местах, опирающихся на камеру. Боковые опоры и поперечины устанавливаются и скрепляются резьбовыми болтами с барашковыми гайками. В передних частях продольных балок на штырях крепится брусок сечением 15×100 мм. Он служит подставкой для ног рыбака. Но не торопитесь закреплять ее на балках. Это вы сделаете, когда установите сиденье, ведь расположение подставки зависит от длины ног!
Теперь камеру накройте листом фанеры и примерьте сиденье. Если вы воспользуетесь пляжным креслом, советуем крепить его к крышке на петлях, как показано на рисунке.

Рис. 94. Разборная лодка рыбака: 1 – бруски рамы-каркаса; 2 – монтажные шпильки (2 шт.); 3 – камера автомобильного колеса; 4 – клапан для накачивания; 5 – ящик для аккумулятора; 6 – барашковые гайки; 7 – петли крепления кресла; 8 – кресло (любое на трубчатой раме); 9 – площадка установки кресла; 10 – подвесной мини-электродвигатель; 11 – аккумулятор; 12 – пост укрепления подвесным электродвигателем; 13 – гребной винт
Сейчас в продаже имеется довольно много лодочных электромоторов с 12-вольтовым питанием. Их выпускают многие производители, и они имеют разную цену. Такие движители похожи на привычные бензиновые лодочные моторы, но имеют гораздо меньший размер и мощность. И если вы приобретете даже самый дешевый и маленький из таких моторов, его в любом случае вполне хватит для передвижения этой лодки. Более того, чтобы потихоньку подплыть к месту скопления рыбы, достаточно даже самодельного лодочного мотора с двигателем от электроочистителя легкового автомобиля. Подобных конструкций существует немало, равно как и герметичных электродвигателей, способных работать в воде. Такой мотор можно использовать вместе с аккумулятором, установленным под сиденьем в герметичном ящике.
На рисунке показано, как крепится двигатель на ящике. Разумеется, крепление может быть и другим – все зависит от конструкции двигателя. В качестве батареи используется подходящий аккумулятор. Желательно батарейный отсек изолировать от влаги, но, в крайнем случае, на время рыбалки поместите источник питания в прочный полиэтиленовый пакет и плотно обмотайте скотчем места вывода проводов.
Насколько советов по сборке лодки. Предварительную подготовку вы уже сделали, но не фиксируйте сиденье, пока лодка не спущена на воду. Вам наверняка придется двигать его вперед-назад, чтобы уравновесить лодку.
Даже если вы решите не тратиться на подвесной электромотор, такая лодочка вполне позволит вам с удовольствием порыбачить. Лодочный двигатель вполне заменит легкое весло, при условии, что вы постараетесь грести без всплесков.
Итак, собираясь на водоем, возьмите с собой веревку для крепления балок на камере. Не забудьте также захватить воздушный насос, чтобы накачать лодку после того, как двигатель и каркас будут установлены на место. Надуйте камеру так, чтобы в нее можно было вставить ящик. Прикрепите продольные бруски к камере веревками, но не крепко, со слабиной. Установите крышку на ящик и примерьте сиденье. На мелководье у берега экспериментальным путем определите центр тяжести лодки, а также местоположение подставки для ног. Наметив места крепления кресла, подставки, двигателя, можете собирать лодку уже окончательно.
В качестве дополнительного снаряжения потребуются закрепленная сбоку на балке скоба для троса якоря и держатель для удочки – короткая пластиковая трубка, привязанная к креслу.
Каркас лодки крепят веревками к камере. Но если хорошо накачать камеру, она крепко зажимает коробку и делает конструкцию монолитной. Хотя перестраховка в виде веревки не помешает. Несомненно, не будет лишним и спасательный жилет – даже если вы собираетесь плавать в тихих водах и в самых мелких местах.
Такая маленькая, юркая лодочка очень удобна. Крепление барашковыми гайками позволяет легко ее разобрать. В нерабочем состоянии все мелкие детали убирают в аккумуляторный ящик, а для остальных можно сшить чехол.
Рыбацкие плотики
Сколько на свете существует рыбаков, столько и сделанных ими плавательных средств, основная задача которых – создать хотя бы минимальный комфорт при ловле рыбы. К тому же они должны иметь минимальную массу и размер в сложенном состоянии.
Этим условиям вполне удовлетворяют камеры от автомобильных колес.
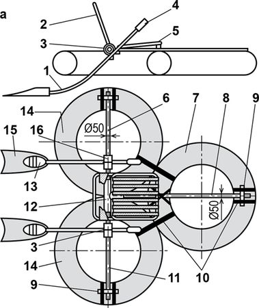
Вот один из вариантов плотика для рыбной ловли (рис. 95). В его основании – три автомобильные камеры, состыкованные с помощью хлопчатобумажных или капроновых ремней, и три деревянных лонжерона, представляющие собой проолифленные и дважды покрытые алкидной эмалью деревянные рейки круглого сечения диаметром 50 мм. Длина их выбирается такой, чтобы каждую из камер можно было закреплять на лонжеронах по меньшей мере в двух точках. Друг с другом лонжероны стыкуются с помощью дюралюминиевого тройника и болтов с гайками.
Сиденье рыболова представляет собой дюралюминиевую раму с натянутой на нее парусиной или тентовой тканью. Желательно, чтобы каркас сиденья был складным – это значительно облачает транспортировку плотика по суше.
Сборка плавсредства, равно как и его разборка, занимает около получаса. Все три камеры (разумеется, туго скатанные) вместе с сиденьем и ремнями легко размещаются в обычном рюкзаке.
Весьма интересен привод этого плотика. Это не шест, не весло, не винт, а… ласты. Да, обычные резиновые ласты, которые можно приобрести в любом спортивном магазине; Закрепленные на рычагах из дюралюминиевых труб, как показано на рис. 95, б, ласты приводятся в возвратно-колебательное движение руками рыболова (одновременно или попеременно – по желанию) и позволяют плотику достаточно уверенно двигаться вперед. Повороты осуществляются также с помощью этого оригинального и почти бесшумного движителя.
