Всего за 189 руб. Купить полную версию

Рис. 21. Продольный (а), поперечный (б) разрезы туристской баньки и общий план (в): 1 – коренной грунт площадки; 2 – печь-каменка; 3 – теплоаккумулятор (булыжники); 4 – постройка; 5 – грунт, покрытый дерном; 6 – входной полог (брезент); 7 – грунт обратной засыпки

Рис. 22. Конструкция туристской баньки: 1 – полок-сиденье, 2 шт. (осиновые жерди ∅ 50–60 мм, по потребности); 2 – передняя стойка, 2 шт. (кленовая жердь ∅ 100–120 мм); 3 – задняя стенка (осиновые жерди ∅ 70–90 мм, по потребности); 4 – продольная балка верхней обвязки, 2 шт. (кленовая жердь ∅ 100–120 мм, по потребности); 5 – потолок (осиновые жерди ~ ∅ 80 мм, по потребности); 6 – задняя стойка, 2 шт. (кленовая жердь ∅ 100–120); 7 – связь жердей потолка в проеме (кленовые палки ∅ 50 мм, 2 шт.); 8 – разделка потолка (стальной лист s2); 9 – боковая стенка, 2 шт. (осиновые жерди ∅ 70–90 мм, по потребности); 10 – пол в приямке (осиновые жерди ∅ 50–60 мм, по потребности); 11 – ступенька (осиновые жерди ∅ 50–60 мм, по потребности)
После возведения стен баньку перекрывают потолком из тех же жердей. В потолке предусматривают квадратный (300×300 мм) проем, который закрывают стальным листом (служащим разделкой) с центральным отверстием для вывода печной трубы.
В завершение постройки зазоры между жердями стен надо замазать глиной, потолок засыпать грунтом, а сверху обложить дерном. В походном варианте вход в баню (вся передняя часть) прикрывают брезентовым пологом с окном из прозрачной пленки. В стационарном варианте большую часть передней стенки закрывают так же, как и боковые, оставив небольшой вход, на который навешивают филенчатую дверь.
На сиденья-лотки, которые находятся на уровне земли, на пол в приямке и на ступеньку укладывают одна к одной тонкие, хорошо ошкуренные жерди. Чтобы не загнать занозу в распаренное тело, их надо тщательно очистить.
Закончив постройку, заполните поддоны камнями и сделайте пробную топку. При такой самоварной конструкции печи есть определенная трудность в ее растопке: без сухих бересты и щепок здесь не обойтись (зато практически исключена стрельба угольков через отсутствующую здесь боковую дверцу, которая к тому же мешала бы каменке). Сначала в печь надо загрузить немного щепок, затем зажечь бересту и бросить в печь на эти щепки. Когда последние тоже загорятся, можно догрузить оставшиеся, а затем и хворост. После прогрева системы в течение 5–10 минут можно закладывать дрова в печь до полной ее загрузки.
В качестве аккумуляторов тепла для банных печей очень хорошо использовать битые и бракованные керамические электрические изоляторы большого размера.
Через 30–40 минут после протопки даже зимой баня готова и можно париться. Дальнейшая поддержка и регулировка температуры в бане осуществляются подброской сырых дров и прикрыванием поддувальных отверстий кучкой золы.
Четырехколесная… баня
Конструкция этой банной печи напоминает предыдущую, но рассчитана она для установки в стационарном положении. Такая металлическая печь быстро прогревается сама и хорошо прогревает помещение, требует немного дров и позволяет организовать хоть сауну, хоть русскую парную (рис. 23). Для ее изготовления используют материал, который буквально валяется под ногами – на обочинах дорог или вблизи автобаз. Речь идет о пришедших в негодность колесных ободах от автомобиля ЗИЛ-130. У них оптимальные размеры: высота 250 мм, диаметр 500 мм и просто замечательная для печи толщина – 7 мм.

Рис. 23. Общий вид банной печи: 1 – дымовая труба; 2 – фольга алюминиевая; 3 – задвижка; 4 – крышка; 5 – обод IV (емкость для нагрева воды); 6 – обод III; 7 – труба ½ дюйма; 8 – обод II (для закладки камней); 9 – обод I; 10 – кран; 11 – доски пола парной; 12 – фундамент печи; 13 – вентиляционное отверстие; 14 – колосниковая решетка; 15 – предтопочный стальной лист; 16 – доски пола раздевалки; 17 – стена между раздевалкой и парной; 18 – обшивка потолка; 19 – защитная кладка у наружной стены; 20 – утеплитель (глиняный раствор с керамзитом); 21 – стекловата
Всего понадобится 4 обода: два из них – без дна, а к двум другим надо приварить диск с отверстиями. Кроме того, нужны две стальные трубы длиной 500–600 мм и толщиной стенок 5–6 мм, около 60 штук кирпича, поддувальная и топочная дверцы, а также задвижка.
Нижнюю и среднюю части топки, где температура наиболее высока, лучше выложить из шамотного кирпича, но в крайнем случае подойдет и красный полнотелый обожженный кирпич, который аккумулирует достаточно тепла для просушки бани.
Сама топка выложена на глине в полкирпича. Ее размеры – 625×625 мм.
На топке установлена конструкция из двух ободов: нижнего – без дна, и верхнего – с дном, обращенным в сторону топки. Ободы сварены друг с другом по внешней кромке сплошным швом. К верхнему из них по центру приварена труба, а отверстия по его периметру и боковой паз заварены стальными вкладышами толщиной не менее 5 мм (рис. 24). К нижнему ободу с помощью стальных прутков приварен отражатель – стальной диск толщиной 5 мм и диаметром на 120 мм меньше внутреннего диаметра самого обода. Эта деталь изменяет направление движения газов, увеличивая отдачу тепла обода I и днища обода II, в котором уложены камни. Отражатель по возможности полезно сделать вогнутым.

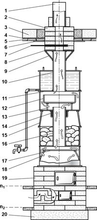
Рис. 24. Сечение печи: 1 – труба асбестоцементная (∅ 160 мм); 2 – кирпичное основание печной трубы; 3 – утеплитель (глиняный раствор с керамзитом); 4 – фольга алюминиевая; 5 – доски потолка; 6 – лист оцинкованного железа (600×600 мм); 7 – печная задвижка; 8 – опорная площадка (370×370 мм; сталь 3 мм; отверстие в центре ∅ 160 мм); 9 – подкос (пруток ∅ 10 ÷ 16 мм; l = 150 мм; 4 шт.); 10 – труба II (сталь 5 мм; ∅ 160; l = 500 мм); 11 – дно водяного котла (сталь 3 мм); 12 – рассекатель (сталь 3 ÷ 4 мм); 13 – ножка (пруток ∅ 10 ÷ 16 мм; l = 150 мм; 4 шт.); 14 – кожух (заполнить глиной или асбестовым шнуром); 15 – ножка (пруток ∅ 12 ÷ 16; l = 200 мм; 4 шт.); 16 – труба I (сталь 5 мм; ∅ 160; l = 500 мм); 17 – отражатель (сталь 5 мм; ∅ 430 мм); 18 – подкос (пруток ∅ 10 ÷ 12; l = 10 мм; 4 шт.); 19 – топка (кирпичная кладка 625×625); 20 – фундамент печи (700××700 мм); n1 – уровень пола парной; n2 – уровень пола раздевалки
Обод III с рассекателем служит для дополнительной теплоотдачи. Он держится на четырех прутках, приваренных по периметру днища и упирающихся в обод II. Все отверстия обода III, кроме центрального, заварены вкладышами толщиной 4 мм, а в середине приварен кожух с внутренним диаметром на 10–30 мм больше наружного диаметра трубы I. При сборке это пространство следует заполнить асбестовым шнуром или набить глиной.
Рассекатель изготовлен из 4-мм стали. Зазор между рассекателем и ободом – 30–40 мм.
Обод IV служит котлом для нагрева воды. Такое взаимное расположение котла и каменки позволяет эффективно отбирать тепло от проходящих горячих газов в средней части печи и, кроме того, получать горячую воду. Емкость котла – 40 л. Этого вполне хватает на пять-шесть человек.
Дно котла из 4-мм стали. В центре дна вырезано отверстие и заподлицо с дном приварена труба, к верхней части которой приварена стальная площадка под кирпичное основание дымовой трубы. При сборке котел устанавливают на обод III через подкладку из асбестового шнура с глиной. К нижней части котла приварен полудюймовый штуцер, к которому на уголках крепится водопроводная труба с краном внизу. Вверху котел закрыт съемной крышкой, состоящей из двух дюралевых половин толщиной 2 мм.
Задвижку в трубе устанавливают после укладки на глине первого ряда кирпичей.
Труба – квадратного сечения, шириной в полтора кирпича. Такая конструкция обеспечивает надежную противопожарную безопасность и упрощает установку задвижки. Выше чердака дымовая труба сделана из толстостенной асбестоцементной трубы диаметром 160 мм. Следует особо отметить, что вес дымовой трубы не должен быть слишком велик, поскольку она опирается на днище котла.
Печь можно изготовить в любой мастерской, где есть электросварка. А готовую конструкцию можно собрать из отдельных самостоятельных частей, которые легко доставить к месту установки в багажнике легкового автомобиля. Один из вариантов установки такой печи и показан на рис. 24.