
Строят еще печи, которые дают "мокрый" пар, когда, кроме парообразования на камнях, пар получают кипением воды в баке. Влажность 100 %-ная и температура соответствующая…
Такое выдержать под силу не каждому! Вот и решайте, какой режим подходит вам и, следовательно, какого типа печь надлежит сооружать в построенной вами бане.
Какую печь выбрать?
Банная печь-каменка должна отапливать помещение, нагревать воду для мытья и получать пар. Запас тепла аккумулируется стенками и каменной засыпкой, и чем толще стенки печи, тем медленнее печь нагревается и дольше сохраняет тепло. В обычной индивидуальной бане для этого строят печь-каменку на дровяном топливе, если это не электропечь в сауне.
Печь должна быть компактной, дешевой, с быстрым нагревом и малым расходом топлива. Желательно, чтобы одной печью можно было отапливать сразу парильню, моечную и предбанник, при этом теплой воды и пара должно быть столько, чтобы его хватило всей семье, друзьям, знакомым и соседям. Это, конечно, идеальный вариант, но вполне достижимый при наличии у вас хорошего проекта и опыта печной кладки.
Такая печь при массивной кирпичной кладке должна вместить солидный объем камней. Массивность кладки способствует защите наружной стенки от перегрева и сохраняет тепло, что дает возможность помыться и попариться достаточно большому количеству людей. Если печь вытопить "по максимуму", каменная засыпка в нижней части нагревается до 1000–1100 °C, а в верхней части - до 500–600 °C. Сажа на камнях полностью выгорает, поэтому дым может быть пропущен через камни, чтобы использовать его теплоту.
Правда, есть у таких печей и недостаток: нужно ждать, пока дрова не сгорят до последней щепки, и только тогда можно париться, иначе попросту угоришь.
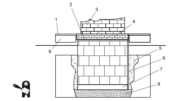
Устройство фундаментов под печи и трубы
Прежде чем приступить к закладке печного фундамента, нужно удостовериться, что вы правильно выбрали место для будущей печи. Чердачные балки и стропила не должны помешать вывести трубу через перекрытие и крышу наружу, а место, где будет стоять печь, необходимо защитить от сквозняков.
Замечу, что печи массой не более 750 кг (имеются в виду легкие печи в металлическом кожухе, а не стационарные кирпичные) можно ставить на полу, если он достаточно прочен.
Фундамент закладывают на солидном основании и плотном грунте. Для строительства фундаментов под печи в качестве подсыпки используют щебень, гравий, песок и глину. Насыпные грунты тщательно утрамбовывают.
Нижняя часть фундамента, которая опирается непосредственно на грунт, называется подошвой. Для одноэтажных печей с насадными трубами она должна обязательно заглубляться в грунт на 75 см. По технологии размеры фундамента под печь должны быть минимум на 5 см больше ее длины и ширины. Чем больше площадь фундамента, тем меньше на него нагрузки от печи.
От фундамента бани фундамент печи должен отстоять не менее чем на 5 см. Этот промежуток засыпают песком. Важно отметить, что кладку фундамента дома нельзя связывать с кладкой фундамента печи, так как у них разная осадка.
Фундамент для печи сооружают чаще всего из бутового камня, прочного кирпича-железняка или бетона. Если грунт сухой, кладку делают на известковом и смешанном цементно-известковом растворах. В сырых почвах применяют только цементный раствор.
Итак, место для печи вы определили. Приступаем к рытью ямы-котлована. Если фундамент сооружается из бетона, яму нужно вырыть на 8–10 см шире фундамента, потом устроить опалубку, уплотнить дно ямы, приготовить бетон и залить его в опалубку до нужного уровня.
Верхнюю часть фундамента выравнивают ниже уровня чистого пола на 14 см, устанавливают вокруг дощатые бортики с выпуском поверх него на 2 см и заливают это пространство цементным раствором в соотношении одна часть цемента на три части песка. Раствор нужно приготовить густой, хорошо его разровнять и загладить кельмой. Через неделю поверх фундамента укладывают толь или рубероид в два слоя, оставив напуск 2–3 см. Можно при этом употребить специальную мастику. Затем на поверхности рубероида вычерчивают форму печи и выкладывают сперва первый ряд, а за ним остальные. При этом пользоваться нужно уже не цементным, а глиняным раствором.
На рис. 6.3–6.5 показано несколько вариантов фундаментов.



Готовим материалы для постройки печи
При выборе материала для сооружения печи нужно учитывать их взаимную сочетаемость. Например, при облицовке топливников и каналов никогда не перевязывают керамический кирпич с огнеупорным, потому что при одинаковом нагреве эти материалы дают разное расширение, и в местах перевязки будут быстро разрушаться. Еще одно обязательное условие: там, где кладка сильно нагревается, внутри нее нельзя применять металл, так как от высокой температуры он сильно расширяется и может просто ее разорвать.
Для кладки используют естественные и искусственные каменные материалы. К первым принадлежат булыжники и бутовый камень для устройства фундаментов под печи, ко вторым - кирпич.
Один кубический метр кирпича весит около 1700 кг и содержит 480 шт. При укладке на растворе необходимое количество кирпича меняется: при тонких швах его уходит меньше, при толстых расход больше. Например, если вы вычислили, что на ваш проект печи уйдет, скажем, 2 м кирпича, то запастись им следует не из расчета 960 шт., а прикупить до тысячи.
Перед началом кладки печи кирпич предварительно отбирают и сортируют. Лучший по качеству, без сколов и трещин применяют для кладки топливников и дымовых каналов.
Можно использовать и кирпич от разобранных печей. Глиняный раствор, применяемый для кладки банных печей, отстает от кирпича не так трудно, как цементный. Такой кирпич полностью очищают от раствора и сортируют. Применяют его в основном для кладки фундаментов и труб.
Техника печной кладки
Теперь - о процессе кладки. Честно говоря, не увидев воочию, как это делает опытный специалист, самостоятельно за столь непростое дело браться несколько опрометчиво. Тем не менее некоторые теоретические знания вам не повредят.
Прочность кладки зависит от того, как уложен кирпич, высоко ли его качество, как он будет намочен и как приготовлен раствор.
Если при кладке вы добьетесь того, что у вас получится единый, общий массив, как бы монолит, то качество получится высоким. Но если она будет разделена сплошными вертикальными швами, то такая печь просто развалится. О трещинах тоже не может идти и речи. Стенки печи ни в коем случае не должны пропускать дым в помещение. Иначе получится баня "по-черному".
Перед началом работы кирпичи раскладывают по каждому ряду кладки, раскалывают, отесывают и подгоняют так, чтобы они в точности легли на место.
Затем кирпичи замачивают в корыте длиной, равной количеству кирпичей в ряду. Для этого кирпичи снимают, укладывают в ряд, вымачивают по одному или все сразу и кладут на глиняном растворе на место. Раствор замешивать следует, исходя из соотношения песка и глины 1:1. Он должен получиться такой консистенции, чтобы излишки свободно выдавливались из швов.
Большинство печников наносят раствор во время кладки рукой. Кельму используют только при создании стен с наружной стороны.
Вот один из способов кладки из вымоченного кирпича. Забираем рукой горсть глиняного раствора, вынимаем кирпич из воды, тонким слоем расстилаем по нему раствор и укладываем его на место. После этого, сильно нажимая, немного двигаем кирпич назад и вперед. Снимаем с двух сторон кирпича излишки раствора. Вынимаем из воды следующий, намазываем раствор на плоскость и тычковую грань. Укладываем кирпич на место, придавливаем его к нижнему и к тычковой грани уже уложенного, снимаем излишки раствора. Остальные кладем в таком же порядке.
Смоченный в воде кирпич быстрее впитывает влагу из быстро густеющего раствора. Поэтому его приходится силой выжимать из швов, которые все равно получаются довольно толстыми. Такую работу лучше вести вдвоем. Печник с помощью тряпки или кисти смачивает часть кладки. Его помощник окунает кирпич в воду, быстро намазывает на него раствор и укладывает на подготовленное место. В результате кирпич не успевает впитать влагу из раствора и шов получается более тонким.