Всего за 29 руб. Купить полную версию

Рис. 8. Установка крупногабаритной рамы с открывающимися створками: 1 – неподвижная секция; 2 – открывающаяся створка; 3 – крепежный уголок; 4 – отливной козырек; 5 – нижний козырек; 6 – плита перекрытия; 7 – стена ограждения; 8 – шурупы; 9 – гвозди
Крупногабаритные рамы можно закрепить двумя способами: расклиниванием и установкой на металлический каркас. В первом случае упором служит металлическая полоса или угольник, на котором закреплен поручень балконного ограждения. Перед тем как приступить к установке готовой рамы, поручень снимают, а на его месте с помощью шурупов крепят нижнюю грань ее бруска, причем их вкручивают в те же отверстия, в которые были ввинчены шурупы, удерживавшие поручень.
Поскольку последний демонтируется, это следует учесть при проведении измерений и составлении чертежа будущей рамы, иначе она будет короче как раз на толщину поручня.
Верхнюю часть рамы фиксируют к балконной плите верхнего этажа с помощью деревянных клиньев. Для усиления этого крепления используют мебельные уголки, которые привинчивают шурупами или сажают на дюбеля.
Способ установки рамы на металлический каркас считается более надежным. К тому же он позволяет разделить конструкцию на отдельные секции. Каркас для боковых рам изготавливают из металлического уголка сечением 40 х 40 или 45 х 45 мм. Замеры производят с каждой стороны балкона с учетом возможных строительных погрешностей, иначе могут образоваться зазоры. Ширина обрамляющей рамы должна соответствовать ширине балконного ограждения, чтобы ее можно было приварить к нему или прикрепить с использованием анкерных болтов.
Для установки анкерного болта в стене просверливают отверстие глубиной не менее 100 мм и диаметром 10 мм, смачивают его водой, вставляют болт, направив его головкой внутрь, и фиксируют цементно-песчаным раствором, приготовленным в соотношении 1:2. На каждую раму потребуется закрепить по 2 болта с обеих ее сторон.
Передние обрамляющие уголки с боковыми рамами соединяются с помощью сварки. Для того чтобы установить деревянную раму, в ней сначала просверливают отверстия, а затем через них фиксируют ее на каркасе шурупами.
Боковые рамы можно сделать шире балконного ограждения (но не более чем на 25 см): это позволит установить подоконник, который закроет образовавшийся проем. Внутреннее пространство балкона при этом визуально расширится.
Перед установкой все элементы деревянной конструкции можно по старинке покрыть олифой и окрасить масляной краской. Помимо такой традиционной отделки, можно использовать современный тонирующий антисептик с УФ-фильтром, который в течение долгого времени будет защищать древесину от неблагоприятного воздействия атмосферных осадков, плесневых, деревоокрашивающих и дереворазрушающих грибов, насекомых-древоточцев и одновременно окрасит дерево под ценную породу. Такое средство в наши дни можно приобрести в любом магазине строительных материалов.
В неподвижные рамы стекла рекомендуется вставлять после установки конструкции, а открывающиеся створки, напротив, целесообразно остеклять заранее, чтобы облегчить процесс их закрепления на раме. Для навешивания открывающихся створок используют карточные или рояльные петли. Предварительно их следует окончательно подогнать и устранить обнаруженные дефекты.
При использовании карточных петель расстояние до них от верха и низа створки должно составлять не менее одной длины петли. Используемые шурупы не должны выступать за пределы карты, в противном случае створка начнет пружинить. Крепят карточные петли только на ровную древесину, никаких сучков и зазубрин на месте их фиксирования быть не должно.
Перед установкой петли карандашом наносят на створку ее контуры, после чего производят выборку древесины на ее толщину с помощью стамески. В образовавшееся углубление вставляют петлю и шилом намечают места крепления шурупов. Затем делают разметку и выборку древесины для другой петли, вкладывают в углубление верхнюю карту и крепят ее одним шурупом. Аналогичным образом устанавливают вторую карту, а после подгонки створки по месту закручивают остальные шурупы.
К открывающимся створкам рамы прикручивают шпингалеты или иные запорные устройства, чтобы в ходе эксплуатации они не распахнулись от ветра. Последним этапом сборки рамы является установка отливов из оцинкованной стали или пластика и козырька.
И еще несколько слов об остеклении. Как известно, в наружных створках окна стекло обычно располагают снаружи, чтобы вода, скопившая в фальцах после дождя или таяния снега, стекала по отливу, не попадая внутрь конструкции. Остеклить снаружи балконную раму представляется возможным только в том случае, если балкон располагается на нижнем этаже здания. На верхних этажах приходится производить остекление с внутренней стороны, хотя это и не совсем удобно, поскольку при необходимости окрашивания рамы приходится вынимать стекла из глухих створок. К тому же атмосферные осадки неизбежно попадают внутрь деревянных деталей конструкции, снижая срок ее эксплуатации.
Во избежание указанных неприятностей раму можно снабдить открывающимися или вынимающимися створками или фрамугами. Если в брусках створок и фрамуг сделать фальцы с двух сторон, получится подобие двойного стеклопакета. Однако следует иметь в виду следующее: хотя в данном случае защитные свойства рамы возрастут, вместе с этим увеличится ее вес, что потребует дополнительного укрепления конструкции. Кроме того, больше станет и толщина переплетов, что скажется не только на внешнем виде рамы, но и значительно сократит площадь остекления, а это повлечет за собой снижение освещенности помещения.
Поскольку балконные створки открываются внутрь, они занимают определенную площадь и мешают свободному передвижению. Этот недостаток поможет исправить конструкция с раздвижными окнами, которые перемещаются в плоскости рамы. Установить ее можно как на балконе, так и на лоджии, вмонтировав раздвижные створки в деревянную раму, устройство которой было описано выше. Для этого к нижним и верхним брускам рамы крепят полозья для стекол, которые вставляют сначала в верхнюю направляющую, а затем в нижнюю.
Для того чтобы сделать раму с раздвижными окнами на лоджии, понадобятся распорные штанги. Они представляют собой отрезки металлической трубы диаметром 15–20 мм, снабженные с обоих концов распорными наконечниками (рис. 9).

Рис. 9. Общий вид распорной штанги: 1 – верхний наконечник; 2 – труба; 3 – резьбовая втулка; 4 – нижний наконечник
Нижний наконечник выкручивается благодаря наличию резьбовой втулки и прочно закрепляет штангу между ограждениями верхней и нижней лоджий. Нужно установить две такие штанги, затем выбрать в деревянных брусках пазы под раздвижные стекла и прикрепить эти бруски к штангам скобами. На рис. 10 изображена лоджия в поперечном разрезе, остекленная описанным выше способом.

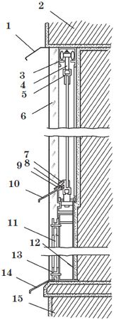
Рис. 10. Остекленная лоджия в поперечном разрезе: 1 – верхний отлив; 2 – верхнее перекрытие этажа; 3 – верхний профиль; 4 – двойная роликовая система; 5 – верхний профиль стекла; 6 – закаленное стекло; 7 – нижний профиль стекла; 8 – силиконовый уплотнитель; 9 – нижний профиль; 10 – нижний отлив; 11 – стекло; 12 – стальная стойка; 13 – глухая рама; 14 – отлив ограждения; 15 – нижнее перекрытие этажа
У рам с раздвижными стеклами есть как достоинства, так и недостатки. С одной стороны, их установка позволяет визуально расширить пространство лоджии или балкона, с другой – в холодное время года в полозьях может замерзнуть вода, вследствие чего окна невозможно будет открыть до тех пор, пока лед не растает. Деревянные рамы для остекления лоджий и балконов можно не только собрать в домашних условиях, но и приобрести в специализированных магазинах: это могут быть рамы с одинарным остеклением и створками или со стеклопакетом как отечественного, так и зарубежного производства. Самыми популярными среди потребителей считаются рамы финских, итальянских и немецких фирм, которые отличаются сложной конструкцией, длительным сроком эксплуатации и снабжены современной фурнитурой.
Рамы из алюминиевого профиля
Не меньшей популярностью, чем деревянные рамы, пользуются конструкции, собранные из алюминиевого профиля и имеющие ряд несомненных преимуществ. Они долговечные и обладают устойчивостью к воздействию неблагоприятных экологических факторов, относительно небольшим весом и при этом высокой прочностью. Для их изготовления применяют холодные однокамерные алюминиевые профили, не снабженные теплоизоляционными вставками.
Такую конструкцию можно заказать в соответствующей фирме, но при желании и наличии необходимых материалов можно заняться изготовлением рамы и в домашних условиях. Створки делают открывающимися или раздвижными. А установить такую раму можно как на уровне балконного ограждения, так и с отступом от него на 22–25 см. Далее будет рассмотрена последовательность сборки расширенной конструкции из алюминиевого профиля с раздвижными створками (рис. 11).