Всего за 29 руб. Купить полную версию
Деревянные рамы
У деревянных балконных рам нет деревянной коробки, в которую обычно заключают оконные рамы. В этом заключается их основное отличие. Кроме того, они рассчитаны на механическую и функциональную нагрузку. Их конструкции могут быть самыми разнообразными. Например, рамы можно сделать с глухими и открываемыми секциями либо наборными открываемыми секциями, а створки – открывающимися или раздвижными, сплошными или решетчатыми.
Размеры створок могут быть произвольными. Главное, чтобы ими удобно было пользоваться. Но ширина створок все же не должна превышать 70 см. А в целях обеспечения безопасности открываться они должны внутрь помещения. Разделяются створки горбыльками (брусочками, изготовленными из фасонного профиля, которые используются в остекленных дверях или окнах для деления их на части) и импостами (расположенными горизонтально или вертикально деталями остекленной двери или окна, которые разделяют конструкцию на секции).
Прежде чем приступать к изготовлению рамы, необходимо произвести замеры, сделать чертеж и рассчитать количество необходимого материала. Следует иметь в виду, что влажность приобретенной древесины не должна превышать 18–20 %, иначе изделие может покоробиться и перекоситься.
Рама собирается из деревянных брусков сечением 45 х 45 мм. Их можно нарезать из досок либо из дверных или оконных коробок, оставшихся после замены старых дверей или окон, с помощью циркулярной пилы, а затем обстругать со всех сторон, чтобы поверхность стала гладкой и однородной.
Полученные заготовки распиливают по длине в соответствии с имеющимся чертежом. При этом ориентируются на максимальные размеры проема по высоте. Следует также учесть, что при изготовлении рамы придется выбирать четверти для притворов и выполнять соединения на шипах.
Для того чтобы выбрать четверть или сделать выемку в углу детали, необходимо произвести разметку и обозначить риски с помощью рейсмуса, затем выбрать по ним древесину, используя зензубель. При этом его прямое лезвие должно быть направлено к боковой кромке железки под прямым углом. Выборку четвертей можно выполнить и с помощью циркулярной пилы, только затем деталь все равно придется обработать зензубелем. Вместо фальцев под стекло можно сделать искусственную четверть (рис. 4).

Рис. 4. Выполнение фальцев под стекло: а – выборка четверти; б – искусственная четверть
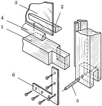
Между собой бруски сплачивают шиповым соединением. Шипы можно сделать одинарными, двойными и многократными с прямым профилем или профилем в виде равнобокой трапеции с широким основанием на торцевой грани. Их выполняют лучковой пилой, предварительно установив ее полотно под углом в 30° к станку (регулировку инструмента производят с помощью его ручки), по предварительно произведенной разметке. При распиливании заготовки в поперечном направлении ее следует располагать строго горизонтально, а при выполнении продольного распила брусок можно повернуть как горизонтально, так и вертикально. Чтобы шипы садились в проушины достаточно плотно, между ними должен быть зазор в 0,2–0,3 см (но не больше!). Если зазор будет больше, соединение может ослабнуть, а если меньше, шип с трудом будет входить в проушину, так что она может расколоться.
Грани шипа должны располагаться под прямым углом по отношению друг к другу. В идеале для каждой проушины должен предназначаться точно соответствующий ей по размеру шип, поэтому, чтобы не перепутать детали, бруски следует пронумеровать, отметив их правую и левую сторону. Ошибка в соединении заготовок может привести к перекосу рамы в ходе эксплуатации.
Чтобы выбрать проушины, сначала намечают на бруске ее контуры и вычерчивают их с помощью шаблона или угольника. Для сквозной проушины разметку проводят с обеих сторон бруска. Затем делают продольный пропил, а излишек древесины удаляют стамеской или выдалбливают долотом по направлению волокон (рис. 5). Работая стамеской, совершают поперечные движения до тех пор, пока не будет выбрана вся древесина в соответствии с разметкой. Инструмент периодически охлаждают, опуская в воду. Для удобства работы стамеску предварительно затачивают под углом в 15–25°.

Рис. 5. Выполнение проушин
Для того чтобы сделать шиповое соединение более жестким и прочным, его усиливают нагелем (деревянным штырем). Делают это следующим образом. Сначала поперек соединения просверливают отверстие, диаметр которого должен составлять 0,12-0,5 толщины нагеля, затем смазывают его клеем и вбивают в него нагель.
Нагели могут быть различными по форме: круглыми, конусообразными, шести– или восьмигранными. Их вырезают из древесины с прямым направлением волокон и меньшей влажностью, чем у брусков, из которых планируется собрать раму. Когда влажность брусков и нагелей станет одинаковой, соединение приобретет еще большую прочность.
Поскольку при сверлении древесина может расщепиться, отверстия под нагели следует выполнять очень аккуратно. Сначала берут сверло, диаметр которого меньше, чем у нагеля, и делают отверстие строго в центре, затем сверлом требуемого размера завершают работу поочередно с двух сторон шипового соединения.
Чтобы придать раме жесткость, по углам фиксируют с помощью шурупов накладные металлические уголки. Для каждого из них понадобится не менее 3 шурупов. Только следует иметь в виду: прежде чем приступать к выполнению этой завершающей операции, конструкцию необходимо сначала тщательно подогнать по месту, потому что после установки уголков откорректировать ее размеры будет уже невозможно.
Технология сборки деревянной балконной рамы показана на рис. 6.

Рис. 6. Сборка деревянной балконной рамы: 1 – брусок; 2 – скругленная рейка; 3 – стекло; 4 – штапик; 5 – нагель; 6 – металлический уголок
Открывающиеся створки следует делать на 1015 мм шире, чем требует чертеж. Такие припуски необходимы для выборки четвертей притвора. Для его изготовления створку крепят на верстаке, делают разметку и удаляют излишек древесины зензубелем. Чтобы она хорошо открывалась и достаточно плотно закрывалась, в наружных брусках нужно сделать скосы. Щель, образовавшуюся между створками, прикрывают нащельником, который прибивают гвоздями или прикручивают шурупами.
В нижних брусках рамы и на открывающихся створках выбирают пазы, в которые крепят отливы. Клеевое соединение в данном случае усиливают гвоздями или шурупами. На открывающихся створках концы отливов спиливают под углом в 45°, а на глухих (неоткрывающихся) делают прямыми.
Если в наличии имеются стекла небольшого размера, можно изготовить для балкона решетчатую раму. Ее конструкция состоит из глухих переплетов, соединенных горбыльками. Решетчатые рамы, так же как и обычные, можно сделать с открывающимися створками и форточками. Сборку начинают с пазового соединения горбыльков, располагая их таким образом, чтобы фальцы были в одной плоскости. После соединения горбыльков с помощью столярного или синтетического клея крепят наружные бруски обвяза.
После того как рама будет полностью собрана, можно приступать к ее установке, особенности которой зависят от вида конструкции. На рис. 7 показана установка конструкции, состоящей из отдельных подвижных или неподвижных рам, а на рис. 8 – установка крупногабаритной рамы с открывающимися створками.

Рис. 7. Установка конструкции, состоящей из отдельных рам: 1 – каркас балкона; 2 – шуруп; 3 – карточные петли; 4 – неподвижная секция; 5 – открывающаяся створка; 6 – фрамуга с царгой