Файлы символьных устройств
Файлы символьных устройств используются для доступа к устройствам, драйверы которых обеспечивают собственную буферизацию и побайтную передачу данных. В качестве примера устройств с символьным интерфейсом можно привести терминалы, принтеры и накопители на магнитной ленте. Заметим, что одно и то же физическое устройство может иметь как блочный, так и символьный интерфейсы. Для блочных устройств такой интерфейс также называют интерфейсом доступа низкого уровня (raw interface). Так, для побайтного доступа к разделам диска, приведенным в предыдущем примере, используются соответствующие файлы:
crw------- 1 root system 8, 1 Apr 18 11:04 /dev/rrz0a
crw------- 1 root system 8, 1 Apr 18 13:15 /dev/rrz0b
crw-r----- 1 root system 13,1 Apr 18 18:08 /dev/kmem
crw-rw-rw- 1 root system 7, 0 Apr 18 15:30 /dev/ptyp0
crw-rw-rw- 1 root system 7, 1 Apr 18 15:20 /dev/ptyp1
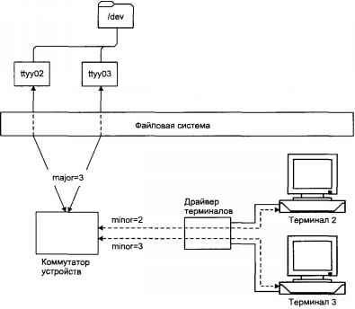
crw-rw-rw- 1 bill terminal 3, 2 Apr 18 16:10 /dev/tty02
crw-rw-rw- 1 bin terminal 3, 3 Apr 18 16:10 /dev/tty03
Последние три строки списка представляют интерфейс доступа к виртуальной памяти ядра и двум псевдотерминалам.
В поле размера файла (пятая колонка вывода команды ls(1)) у специальных файлов устройств выводятся два числа. Это так называемые старшее (major) и младшее (minor) числа. Часто драйвер обслуживает более одного устройства. При этом старшее число указывает ядру на конкретный драйвер (например, драйвер псевдо-терминалов), а младшее передается драйверу и указывает на конкретное устройство (например, конкретный псевдотерминал).
Интерфейс файловой системы для взаимодействия с устройством схематически представлен на рис. 1.7.

Рис. 1.7. Взаимодействие с устройством
Мнемоника названий специальных файлов устройств в файловой системе UNIX
Названия специальных файлов устройств в большой степени зависят от конкретной версии UNIX. Тем не менее в этих названиях присутствует общая логика, позволяющая даже в незнакомой системе определить, какие файлы отвечают за конкретные устройства. Например, имена файлов доступа к дисковым устройствам обычно содержат указание на тип диска, номер контроллера, логический номер устройства, раздел диска и т.д. По названию также легко определить, какой вид доступа предоставляет данный интерфейс (блочный или символьный).
В качестве примера рассмотрим специальный файл устройства для доступа к разделу диска в операционной системе Solaris:
/dev/dsk/c0t4d0s2
Данный файл предоставляет блочный интерфейс, а соответствующий ему символьный (или необработанный) файл имеет имя:
/dev/rdsk/c0t4d0s2
Файлы доступа к дисковым устройствам располагаются в специальных подкаталогах - /dev/dsk (для блочных устройств) и /dev/rdsk (для символьных устройств). Такая структура хранения специальных файлов характерна для систем UNIX версии System V.
Имя файла, характерное для систем версии SVR4, можно представить в общем виде:
cktldmsn
где k - номер контроллера, l - номер устройства (для устройств SCSI это идентификатор устройства ID), m - номер раздела, а n - логический номер устройства (LUN) SCSI.
Таким образом файл устройства /dev/rdsk/c0t4d0s2 обеспечивает доступ к первому разделу (нумерация разделов начинается с 0) диска с ID=4, LUN=2 первого контроллера.
Такой формат имен файлов в версии SVR4 применяется для всех дисковых устройств и накопителей на магнитной ленте. Иногда для этих стандартных имен в файловой системе имеются символические связи с более простыми названиями. Например, в Solaris имя /dev/sd0a может использоваться вместо /dev/dsk/c0t3d0s, также обеспечивая доступ к устройству:
lrwxrwxrwx 1 root root 12 Oct 31 17:48 /dev/sd0a ->dsk/c0t3d0s
В SCO UNIX имеются специальные файлы с более простыми именами /dev/root, /dev/usr и т.п, которые предоставляют доступ к разделам диска с такими же именами (root, usr).
Более простая мнемоника обнаруживается в именах специальных файлов других устройств. Так, например, параллельный порт в большинстве систем имеет имя /dev/lpn, где n - номер порта (0, 1 и т.д.). Терминальные линии, подключенные к последовательным портам компьютера обозначаются как /dev/ttynn, где nn является идентификатором линии. В табл. 1.6 приведены примеры других специальных файлов устройств.
Таблица 1.6. Имена некоторых специальных файлов устройств
| Общий вид имени | Пример | Описание устройства, доступ к которому обеспечивается через файл |
|---|---|---|
| /dev/rmtn | /dev/rmt0 | Накопитель на магнитной ленте |
| /dev/nrmtn | /dev/nrmt0 | Накопитель на магнитной ленте в режиме без перемотки назад по окончании работы |
| /dev/rstn | /dev/rst1 | SCSI-накопитель на магнитной ленте |
| /dev/cdn | /dev/cd0 | CD-ROM |
| /dev/cdrom | ||
| /dev/ttypn | /dev/ttyp12 | Псевдотерминал (подчиненный) |
| /dev/ptypn | /dev/ptyp5 | Псевдотерминал (мастер) |
| /dev/console | Системная консоль | |
| /dev/tty | Синоним терминальной линии управляющего терминала для данного процесса | |
| /dev/mem | Физическая оперативная память | |
| /dev/kmem | Виртуальная память ядра | |
| /dev/null | Нулевое устройство - весь вывод на него уничтожается, а при попытке ввода с этого устройства возвращается 0 байтов | |
| /dev/zero | Нулевое устройство - весь вывод на него уничтожается, а ввод приводит к получению последовательности 0 |
Пользователи системы
Прежде чем вы сможете начать работу в UNIX, вы должны стать пользователем системы, т.е. получить имя, пароль и ряд других атрибутов.
С точки зрения системы, пользователь - не обязательно человек. Пользователь является объектом, который обладает определенными правами, может запускать на выполнение программы и владеть файлами. В качестве пользователей могут, например, выступать удаленные компьютеры или группы пользователей с одинаковыми правами и функциями. Такие пользователи называются псевдопользователями. Они обладают правами на определенные файлы системы и от их имени запускаются задачи, обеспечивающие ту или иную функциональность UNIX.
Как правило, большинство пользователей являются реальными людьми, которые регистрируются в системе, запускают те или иные программы, короче говоря, используют UNIX в своей работе.
В системе существует один пользователь, обладающий неограниченными правами. Это суперпользователь или администратор системы.
Каждый пользователь системы имеет уникальное имя (или регистрационное имя - login name). Однако система различает пользователей по ассоциированному с именем идентификатору пользователя или UID (User Identifier). Понятно, что идентификаторы пользователя также должны быть уникальными. Пользователь является членом одной или нескольких групп - списков пользователей, имеющих сходные задачи (например пользователей, работающих над одним проектом). Принадлежность к группе определяет дополнительные права, которыми обладают все пользователи группы. Каждая группа имеет уникальное имя (уникальное среди имен групп, имя группы и пользователя могут совпадать), но как и для пользователя, внутренним представлением группы является ее идентификатор GID (Group Identifier). В конечном счете UID и GID определяют, какими правами обладает пользователь в системе.
Вся информация о пользователях хранится в файле /etc/passwd. Это обычный текстовый файл, право на чтение которого имеют все пользователи системы, а право на запись имеет только администратор (суперпользователь). В этом файле хранятся пароли пользователей, правда в зашифрованном виде. Подобная открытость - недостаток с точки зрения безопасности, поэтому во многих системах зашифрованные пароли хранятся в отдельном закрытом для чтения и записи файле /etc/shadow.
Аналогично, информация о группах хранится в файле /etc/group и содержит списки пользователей, принадлежащих той или иной группе.