
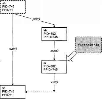
Рис. 1.5. Создание процесса и запуск программы
Если сделать "отпечаток" выполняемых процессов, например командой ps(1), между указанными стадиями, результат был бы следующим:
Пользователь работает в командном режиме:
UID PID PPID С STIME TTY TIME CMD
user1 745 1 10 10:11:34 ttyp4 0:01 sh
Пользователь запустил команду ls(1), и shell произвел вызов fork(2):
UID PID PPID С STIME TTY TIME CMD
user1 745 1 10 10:11:34 ttyp4 0:01 sh
user1 802 745 14 11:00:00 ttyp4 0:00 sh
Порожденный shell произвел вызов exec(2):
UID PID PPID С STIME TTY TIME CMD
user1 745 1 10 10:11:34 ttyp4 0:01 sh
user1 802 745 12 11:00:00 ttyp4 0:00 ls
Процесс ls(1) завершил работу:
UID PID PPID С STIME TTY TIME CMD
user1 745 1 10 10:11:34 ttyp4 0:01 sh
Описанная процедура запуска новой программы называется fork-and-exec.
Однако бывают ситуации, когда достаточно одного вызова fork(2) без последующего exec(2). В этом случае исполняемый код родительского процесса должен содержать логическое ветвление для родительского и дочернего процессов.
Все процессы в UNIX создаются посредством вызова fork(2). Запуск на выполнение новых задач осуществляется либо по схеме fork-and-exec, либо с помощью exec(2). "Прародителем" всех процессов является процесс init(1М), называемый также распределителем процессов. Если построить граф "родственных отношений" между процессами, то получится дерево, корнем которого является init(1M). Показанные на рис. 1.6 процессы sched и vhand являются системными и формально не входят в иерархию (они будут рассматриваться в следующих главах).

Рис. 1.6. Типичное "дерево" процессов в UNIX
Сигналы
Сигналы являются способом передачи от одного процесса другому или от ядра операционной системы какому-либо процессу уведомления о возникновении определенного события. Сигналы можно рассматривать как простейшую форму межпроцессного взаимодействия. В то же время сигналы больше напоминают программные прерывания, - средство, с помощью которого нормальное выполнение процесса может быть прервано. Например, если процесс производит деление на 0, ядро посылает ему сигнал SIGFPE, а при нажатии клавиш прерывания, обычно <Del> или <Ctrl>+<C>, текущему процессу посылается сигнал SIGINT.
Для отправления сигнала служит команда kill(1):
kill sig_no pid
где sig_nо - номер или символическое название сигнала, a pid - идентификатор процесса, которому посылается сигнал. Администратор системы может посылать сигналы любым процессам, обычный же пользователь может посылать сигналы только процессам, владельцем которых он является (реальный и эффективный идентификаторы процесса должны совпадать с идентификатором пользователя). Например, чтобы послать процессу, который вы только что запустили в фоновом режиме, сигнал завершения выполнения SIGTERM, можно воспользоваться командой:
$ long_program &
Запустим программу в фоновом режиме
$ kill $!
По умолчанию команда kill(1) посылает сигнал SIGTERM; переменная $! содержит PID последнего процесса, запущенного в фоновом режиме
При получении сигнала процесс имеет три варианта действий для выбора:
1. Он может игнорировать сигнал. Не следует игнорировать сигналы, вызванные аппаратной частью, например, при делении на 0 или ссылке на недопустимые области памяти, так как дальнейшие результаты в отношении данного процесса непредсказуемы.
2. Процесс может потребовать действия по умолчанию. Как ни печально, обычно это сводится к завершению выполнения процесса.
3. Наконец, процесс может перехватить сигнал и самостоятельно обработать его. Например, перехват сигнала SIGINT позволит процессу удалить созданные им временные файлы, короче, достойно подготовиться к "смерти". Следует иметь в виду, что сигналы SIGKILL и SIGSTOP нельзя ни перехватить, ни игнорировать.
По умолчанию команда kill(1) посылает сигнал с номером 15 - SIGTERM, действие по умолчанию для которого - завершение выполнения процесса, получившего сигнал.
Иногда процесс продолжает существовать и после отправления сигнала SIGTERM. В этом случае можно применить более жесткое средство - послать процессу сигнал SIGKILL с номером (9), - поскольку этот сигнал нельзя ни перехватить, ни игнорировать:
$ kill -9 pid
Однако возможны ситуации, когда процесс не исчезает и в этом случае. Это может произойти для следующих процессов:
□ Процессы-зомби. Фактически процесса как такового не существует, осталась лишь запись в системной таблице процессов, поэтому удалить его можно только перезапуском операционной системы. Зомби в небольших количествах не представляют опасности, однако если их много, это может привести к переполнению таблицы процессов.
□ Процессы, ожидающие недоступные ресурсы NFS (Network File System), например, записывающие данные в файл файловой системы удаленного компьютера, отключившегося от сети. Эту ситуацию можно преодолеть, послав процессу сигнал SIGINT или SIGQUIT.
□ Процессы, ожидающие завершения операции с устройством, например, перемотки магнитной ленты.
Сигналы могут не только использоваться для завершения выполнения но и иметь специфическое для приложения (обычно для системных демонов) значение (естественно, это не относится к сигналам SIGKILL и SIGSTOP). Например, отправление сигнала SIGHUP серверу имен DNS named(1M) вызовет считывание базы данных с диска. Для других приложений могут быть определены другие сигналы и соответствующие им значения.
Более подробно сигналы мы рассмотрим в главах 2 и 3.
Устройства
Как уже отмечалось, UNIX "изолирует" приложения (а значит и пользователя) от аппаратной части вычислительной системы. Например, в имени файла отсутствует указатель диска, на котором этот файл расположен, а большая часть взаимодействия с периферийными устройствами неотличима от операций с обычными файлами.
UNIX предоставляет единый интерфейс различных устройств системы в виде специальных файлов устройств. Специальный файл устройства связывает прикладное приложение с драйвером устройства. Каждый специальный файл соответствует какому-либо физическому устройству (например, диску, накопителю на магнитной ленте, принтеру или терминалу) или т.н. псевдоустройству (например, сетевому интерфейсу, пустому устройству, сокету или памяти). Вся работа приложения с устройством происходит через специальный файл, а соответствующий ему драйвер обеспечивает выполнение операций ввода/вывода в соответствии с конкретным протоколом обмена данными с устройством.
Существует два типа специальных файлов устройств:
□ Файлы блочных устройств
□ Файлы символьных устройств
Файлы блочных устройств
Файлы блочных устройств служат интерфейсом к устройствам, обмен данными с которыми происходит большими фрагментами, называемыми блоками. При этом ядро операционной системы обеспечивает необходимую буферизацию. Примером физических устройств, соответствующих этому типу файлов, являются жесткие диски. Приведем фрагмент подробного списка файлов каталога /dev системы Digital UNIX, отражающий файлы для доступа к первому и второму разделам первого диска SCSI:
brw------- 1 root system 8, 1 Apr 18 11:03 /dev/rz0a
brw------- 1 root system 8, 1 Apr 18 13:15 /dev/rz0b