...
Specify point on side to offset or [Exit/Multiple/Undo] <Exit>:
Current settings: Erase source=No Layer=Source OFFSETGAPTYPE=0 – текущие установки команды
Specify offset distance or [Through/Erase/Layer] <Through>: – указать величину смещения
Select object to offset or [Exit/Undo] <Exit>: – выбрать объект для создания подобных
Specify point on side to offset or [Exit/Multiple/Undo] <Exit>: – указать точку, определяющую сторону смещения
Select object to offset or [Exit/Undo] <Exit>: – выбрать объект для создания подобных
Specify point on side to offset or [Exit/Multiple/Undo] <Exit>: – указать точку, определяющую сторону смещения
Select object to offset or [Exit/Undo] <Exit>: – нажать клавишу Enter для завершения команды
Ключи команды OFFSET:
• Through – позволяет задать смещение через точку. При этом выдаются следующие запросы:
...
Specify offset distance or [Through/Erase/Layer] <Through>: T – переход в режим указания смещения через точку
Select object to offset or [Exit/Undo] <Exit>: – выбрать объект для создания подобных
Specify through point or [Exit/Multiple/Undo] <Exit>: – указать, через какую точку
Select object to offset or [Exit/Undo] <Exit>: – нажать клавишу Enter для завершения работы команды
• Erase – позволяет удалить исходный объект после смещения;
• Layer – позволяет ввести параметр слоя для смещаемых объектов: текущий или источник;
• Multiple – осуществляет создание нескольких подобных объектов (эквидистант) с заданным смещением.
Значение текущей величины смещения хранит системная переменная OFFSETDIST. Переменная OFFSETGAPTYPE управляет способом создания подобных полилиний, если при смещении образуется зазор между отдельными сегментами полилинии.
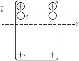
Пример. Построение эквидистанты
Построить несколько вариантов эквидистанты заданной полилинии (рис. 12.9).

Рис. 12.9. Построение эквидистанты
Запустите команду OFFSET, вызвав ее из падающего меню Modify → Offset или щелчком на пиктограмме Offset на панели инструментов Modify. Ответьте на запросы:
...
_OFFSET
Specify offset distance or [Through/Erase/Layer] <Through>: 15 – смещение
Select object to offset or [Exit/Undo] <Exit>: – укажите точку 1
Specify point on side to offset or [Exit/Multiple/Undo] <Exit>: – укажите точку 2
Select object to offset or [Exit/Undo] <Exit>: – укажите точку 3
Specify point on side to offset or [Exit/Multiple/Undo] <Exit>: – укажите точку 4
. . .
Select object to offset or <exit>: – нажмите клавишу Enter для завершения работы команды
Размножение объектов массивом
![]()
Команда ARRAY осуществляет размножение объектов массивом . Она вызывается из падающего меню Modify → Array… или щелчком на пиктограмме Array… на панели инструментов Modify. При этом открывается диалоговое окно Array, где можно настроить следующие параметры.
• Rectangular Array – режим установки значений прямоугольного массива (рис. 12.10):

Рис. 12.10. Диалоговое окно формирования прямоугольного массива
– в полях Rows: и Columns: указывается количество рядов и столбцов массива;
– в области Offset distance and direction – указываются расстояния и направление. При этом расстояния можно ввести с клавиатуры в соответствующие поля или с помощью мыши, для чего необходимо воспользоваться кнопками:
· в поле Row offset: задаются расстояния между рядами массива;
· в поле Columns offset: задаются расстояния между столбцами массива;
· в поле Angle of array: задается угол поворота элемента;
· кнопка Pick Both Offsets используется для указания обоих расстояний при помощи мыши;
· кнопка Pick Row offset используется для указания расстояния между рядами при помощи мыши;
· кнопка Pick Column offset используется для указания расстояния между столбцами при помощи мыши;
· кнопка Pick Angle of Array используется для указания угла поворота массива при помощи мыши;
· Tip – совет: по умолчанию при отрицательном расстоянии между рядами они добавляются вниз, при отрицательном расстоянии между столбцами они добавляются влево.
• Кнопка Select objects служит для выбора элементов массива.
• Результат работы команды можно оценить, нажав кнопку Preview< или просмотрев его на схеме справа в диалоговом окне.
• Polar Array – режим установки значений кругового массива (рис. 12.11):

Рис. 12.11. Диалоговое окно формирования кругового массива
– в строке Center point: – в полях X: и Y:, указываются соответствующие координаты центра массива;
– кнопка Pick Center Point – используется для указания центра кругового массива при помощи мыши;
– в раскрывающемся списке Method: – выбирается один из способов построения:
· Total number of items & Angle to fill – количество элементов и угол заполнения;
· Total number of items & Angle between items – количество элементов и угол между элементами;
· Angle to fill & Angle between items – угол заполнения и угол между элементами;
– в зависимости от выбранного способа построения активизируются два поля из следующих трех:
· Total number of items: – количество элементов;
· Angle to fill: – угол заполнения;
· Angle between items: – угол между элементами;
· кнопка Pick Angle to Fill используется для указания угла заполнения при помощи мыши;
· кнопка Pick Angle between Items используется для указания угла между элементами при помощи мыши;
· Tip – совет: положительное значение угла заполнения соответствует повороту против часовой стрелки, отрицательное значение соответствует повороту по часовой стрелке;
– установкой флажка Rotate items as copied назначается поворот элемента массива вокруг своей оси;
– базовую точку при желании можно указать в области Object base point, для чего понадобится развернуть окно щелчком на кнопке More:
· Set to object\'s default – как установлено в объекте;
· Base point: – координаты базовой точки по X и Y в соответствующих полях;
· кнопка Pick Base Point – используется для указания базовой точки при помощи мыши.
Перемещение объектов
![]()
Команда MOVE осуществляет перемещение объектов. Она вызывается из падающего меню Modify → Move или щелчком на пиктограмме Move на панели инструментов Modify.
Запросы команды MOVE:
...
Select objects: – выбрать объекты
Select objects: – нажать клавишу Enter для завершения выбора объектов
Specify base point or [Displacement] <Displacement>: – указать базовую точку или перемещение
Specify second point or <use first point as displacement>: – указать вторую точку перемещения или считать перемещением первую точку
Пример. Перемещение объектов
Переместите две нижние окружности так, чтобы их центры совпали с маркерами центров, обозначенными в нижней части рисунка (рис. 12.12).

Рис. 12.12. Перемещение объектов
Запустите команду MOVE, вызвав ее из падающего меню Modify → Move или щелчком на пиктограмме Move на панели инструментов Modify. Ответьте на запросы: