
Рис. 12.4. Контекстное меню ручки
Если при указании в команде редактирования первого нового положения для объекта нажата клавиша Shift, активизируется режим многократного копирования . Например, в режиме Stretch функция многократного копирования растягивает объект, такой как отрезок, и копирует его в любую точку графической области, указанную пользователем. Другой способ активизировать режим многократного копирования – выбрать ключ Copy в командной строке, а затем указывать положение или вводить координаты для каждой копии объекта. Режим многократного копирования остается активным до тех пор, пока не будет выбран другой текущий режим ручек или нажата клавиша Enter для завершения операции.
Набор команд редактирования в программе AutoCAD находится в падающем меню Modify или на панели инструментов Modify (рис. 12.5).

Рис. 12.5. Инструменты редактирования
Удаление и восстановление объектов
![]()
Команда ERASE осуществляет удаление (стирание) объектов. Она вызывается из падающего меню Modify → Erase или щелчком на пиктограмме Erase на панели инструментов Modify.
Запросы команды ERASE:
...
Select objects: – выбрать объекты
Select objects: – выбрать объекты
Select objects: – нажать клавишу Enter для завершения работы команды
Выбор объектов, которые следует стереть, может производиться любым из доступных способов.
Для восстановления удаленных последней командой ERASE объектов используется команда OOPS. Ее название – "ОЙ" – весьма удачно отражает эмоции пользователя, испытываемые в момент применения этой команды.
Пример. Удаление объектов
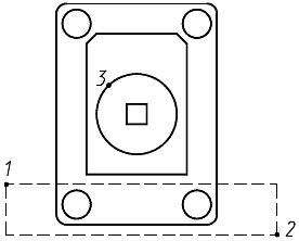
Удалить из рисунка две нижние окружности и окружность в центре (рис. 12.6).

Рис. 12.6. Удаление объектов
Запустите команду ERASE, вызвав ее из падающего меню Modify → Erase или щелчком на пиктограмме Erase на панели инструментов Modify. Ответьте на запросы:
...
_ERASE
Select objects: W – переход в режим выбора объектов рамкой
Specify first corner: – укажите точку 1
Specify opposite corner: – укажите точку 2
Select objects: – укажите точку 3 для выбора окружности в центре
Select objects: – нажмите клавишу Enter для завершения работы команды
Копирование объектов
![]()
Команда COPY осуществляет копирование объектов. Она вызывается из падающего меню Modify → Copy или щелчком на пиктограмме Copy на панели инструментов Modify.
Запросы команды COPY:
...
Select objects: – выбрать объекты
Select objects: – нажать клавишу Enter для завершения выбора объектов
Specify base point or [Displacement/mOde] <Displacement>: – указать базовую точку или перемещение
Specify second point or <use first point as displacement>: – указать вторую точку размещения копии объекта или считать перемещением первую точку
Specify second point or [Exit/Undo] <Exit>: – указать вторую точку размещения копии объекта или нажать Enter для завершения команды
Specify second point or [Exit/Undo] <Exit>:
Запрос, требующий указания точки смещения копии объекта, делается многократно. Каждое смещение определяется относительно исходной базовой точки. После получения нужного количества копий в ответ на запрос необходимо нажать клавишу Enter.
Пример. Копирование объектов
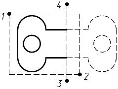
Получить две копии детали (рис. 12.7).

Рис. 12.7. Копирование объектов
Запустите команду COPY, вызвав ее из падающего меню Modify → Copy или щелчком на пиктограмме Copy на панели инструментов Modify. Ответьте на запросы:
...
_COPY
Select objects: – укажите точку 1
Select objects: – нажмите клавишу Enter для завершения выбора объектов
Specify base point or [Displacement/mOde] <Displacement>: – укажите точку 2
Specify second point or <use first point as displacement>: – укажите точку 3
Specify second point or [Exit/Undo] <Exit>: – укажите точку 4
Specify second point or [Exit/Undo] <Exit>: – нажмите клавишу Enter для завершения работы команды
Зеркальное отображение объектов
![]()
Команда MIRROR осуществляет зеркальное отображение объектов. Она вызывается из падающего меню Modify → Mirror или щелчком на пиктограмме Mirror на панели инструментов Modify.
Запросы команды MIRROR:
...
Select objects: – выбрать объекты
Select objects: – нажать клавишу Enter для завершения выбора объектов
Specify first point of mirror line: – указать первую точку оси отражения
Specify second point of mirror line: – указать вторую точку оси отражения
Delete source objects? [Yes/No] <N>: – удалить или оставить исходные объекты
При зеркальном отображении тексты, атрибуты и их определения также приобретают зеркальный вид. Это происходит из-за того, что операция зеркального отображения выполняется в строгом соответствии с математическими законами отражения.
Чтобы полученный в результате зеркального отображения текст имел привычный вид, следует присвоить системной переменной MIRRTEXT значение 0. По умолчанию эта переменная включена. Если же ее отключить, отображенный текст будет ориентирован и выровнен точно так же, как и исходный. При этом команда MIRROR особым образом обрабатывает элементы текста и примитивы атрибутов, отображая их в прежней ориентации. Переменная MIRRTEXT воздействует только на простые объекты текста, созданные командами TEXT, DTEXT, MTEXT, а также на определения атрибутов и их переменные, не входящие внутрь вставленного блока. Тексты и постоянные атрибуты внутри блока отражаются, как и все составляющие блока, зеркально, независимо от установки системной переменной MIRRTEXT.
Пример. Зеркальное отображение объектов
Зеркально отобразить деталь относительно вертикальной оси, не удаляя старый объект (рис. 12.8).

Рис. 12.8. Зеркальное отображение объектов
Запустите команду MIRROR, вызвав ее из падающего меню Modify → Mirror или щелчком на пиктограмме Mirror на панели инструментов Modify. Ответьте на запросы:
...
_MIRROR
Select objects: W – переход в режим выбора объектов рамкой
Specify first corner: – укажите точку 1
Specify opposite corner: – укажите точку 2
Select objects: – нажмите клавишу Enter для завершения выбора объектов
Specify first point of mirror line: END – укажите точку 3 с динамической объектной привязкой к конечной точке отрезка
Specify second point of mirror line: END – укажите точку 4 с динамической объектной привязкой к конечной точке отрезка
Delete source objects? [Yes/No] <N>: – нажмите клавишу Enter для отказа от удаления старого объекта
Создание подобных объектов
![]()
Команда OFFSET осуществляет создание подобных объектов (эквидистант) с заданным смещением. Она вызывается из падающего меню Modify → Offset или щелчком на пиктограмме Offset на панели инструментов Modify.
Можно строить подобные отрезки, дуги, окружности, двумерные полилинии, эллипсы, эллиптические дуги, прямые, лучи и плоские сплайны. Подобные окружности имеют диаметр, больший или меньший, чем исходный, в зависимости от того, как задано смещение. Если оно указано точкой вне окружности, то новая окружность имеет больший диаметр, а если внутри окружности – меньший.
Запросы команды OFFSET: