Всего за 59.9 руб. Купить полную версию

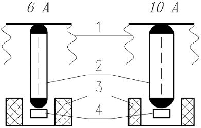
Рис. 18.Размещение плавких вставок в предохранителе:
1 – головка предохранителя; 2 – плавкая вставка; 3 – контактная пластина; 4 – контрольная фарфоровая гильза
Защитными средствами энергосистемы дома служат предохранители и автоматические выключатели.
Резьбовые предохранители серии ПАР-6,3 или ПАР-10 имеют ряд преимуществ перед плавкими предохранителями: они обеспечивают более совершенную защиту, не требуют замены, просты в управлении. Автоматические предохранители имеют термобиметаллические и электромагнитные расцепители, осуществляющие защиту электрических цепей от перегрузок и токов короткого замыкания. При прохождении тока, в 2 раза превышающего номинальный, предохранитель срабатывает в течение 2,5 мин. Электромагнитный элемент имеет отсечку (мгновенное отключение) при 7?10-кратном токе по отношению к номинальному.
Автоматические выключатели (рис. 19) АБ-25 м и АЕ-1000 предназначены для защиты однофазных осветительных сетей от токов перегрузки и короткого замыкания, а также для включения и отключения этих цепей вручную.
Автоматический выключатель АЕ-1031 состоит из основания, крышки, механизма свободного расцепления, расцепителя максимального тока (теплового, электромагнитного или комбинированного) и дугогасительного устройства, представляющего собой камеру с деионной решеткой из стальных пластин. Электромагнитный расцепитель максимального тока срабатывает только при коротком замыкании без выдержки времени. Электромагнитный расцепитель содержит сердечник, якорь и возвратную пружину. При коротком замыкании якорь притягивается к сердечнику и воздействует на отключающий элемент, вызывая быстрое срабатывание (отключение) выключателя. Тепловой расцепитель срабатывает с обратнозависимой от тока выдержкой времени при перегрузках и коротком замыкании.
Автоматический выключатель АБ-25 м имеет тепловой расцепитель, биметаллический термоэлемент которого соединяется последовательно с коммутирующей контактной системой. При возникновении токов короткого замыкания или перегрузке термоэлемент изгибается, освобождая при этом рычаг механизма отключения; выключатель срабатывает, контакты размыкаются. Номинальные токи расцепителей устанавливаются на заводе-изготовителе и в процессе эксплуатации не регулируются. Изменять установки расцепителей нельзя.
При перегрузке или токах короткого замыкания, превышающих установку тока срабатывания, контактная система отключается автоматически, причем вне зависимости от того, будет или не будет удерживаться рукоятка управления вручную. Иными словами, механизм свободного расцепления выключателей обеспечивает мгновенное замыкание или размыкание контактной системы при автоматическом или ручном управлении.

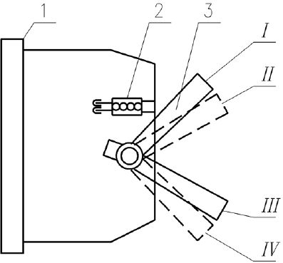
Рис. 19.Выключатель автоматический:
1 – корпус; 2 – указатель срабатывания; 3 – рукоятка управления.
Позиции рукоятки управления: I – включен; II – выключатель отключился автоматически; III – отключение вручную; IV – взвод для автоматическою срабатывания
На автоматическое отключение выключателей указывает рукоятка управления, которая устанавливается в соответствующее положение. Для включения выключателя после срабатывания рукоятку необходимо перевести в положение взвода для автоматического срабатывания, а затем перевести в положение "включен".
Для защиты от перенапряжения (через предохранители и автоматические выключатели) и учета потребляемой электроэнергии используют счетчики. Они бывают одно– и трехфазными.
Устанавливают счетчик в соответствии с требованиями ПУЭ. В месте крепления кожуха счетчика должна быть пломба с клеймом, указывающим срок его проверки.
При установке трехфазных счетчиков давность пломбы должна быть не более 12 месяцев, однофазных – не более 2 лет. Внешний вид счетчиков должен свидетельствовать о правильности его хранения. Крышку колодки для подключения проводов пломбирует служба владельца сетей при допуске счетчика к эксплуатации или при его замене. Ответственность за сохранность и целостность счетчика и пломб на нем несет потребитель. Владелец сетей обеспечивает плановую замену счетчиков, принятых на обслуживание, в сроки, установленные Госстандартом.
При нарушении проводки к счетчику и его повреждении по вине потребителя ремонт, замену и проверку аппарата оплачивает потребитель. Кроме того, энергоснабжающая организация имеет право требовать приобретения нового электросчетчика взамен поврежденного.
Для нормальной работы счетчика нужно соблюдать следующие требования:
♦ Счетчик нужно расположить в сухом помещении с температурой в зимнее время не ниже 0 °C. Загромождать подход к счетчику нельзя.
♦ Высота от пола до места подключения проводов к счетчику 0,8–1,7 м.
♦ Не допускается размещать на счетчике какие-либо предметы. Как правило, место для счетчика выбирают вблизи входной двери на стене, имеющей достаточно жесткую конструкцию.
♦ Счетчик следует устанавливать на специальном щитке вместе с необходимыми коммутационными и защитными аппаратами.
♦ Счетчики допускается крепить на деревянных, пластмассовых или металлических щитках, при этом аппараты защиты линий, отходящих от него, можно монтировать отдельно, но не далее 10 м по длине проводки.
Для безопасной установки или замены счетчика нужно предусмотреть возможность отключения питающих проводов. Расстояние от счетчика до отключающего его коммутационного или защитного аппарата не должно превышать 10 м. Обычно этому требованию отвечает вводное устройство, но лучше использовать пакетный выключатель на щитке, общем со счетчиком.
При однофазном ответвлении необходим счетчик однофазного тока на 220 В и номинальную силу тока 5 или 10 А.
Однофазный счетчик предназначен для непосредственного учета потребляемой энергии в однофазных цепях переменного тока частотой 50 Гц и рассчитан на работу при номинальном напряжении 127 или 220 В. Номинальные значения напряжения (127 или 220 В), токов (5, 10 или 20 А), перегрузочная способность, постоянная счетчика указаны на его щитке.
На щитке счетчика указывается также наибольшая допустимая сила тока, которая в 3-3,5 раза больше номинальной, например для счетчика на силу тока 5 А наибольшая допустимая сила тока – 15-17 А, для счетчика на 10 А – 30-34 А.
При трехфазном ответвлении применяют трехфазный счетчик для четырехпроводной сети напряжением 380/220 В на 5 или 10 А. При этом допускается использовать три однофазных счетчика на 220 В. Проводку от вводного устройства к щитку со счетчиком выполняют кабелем или изолированными проводами в металлической трубе без каких-либо сращиваний, паек и других нарушений цельности провода. Сечение жил принимают в зависимости от мощности токоприемников, но не менее 4 мм для алюминиевых проводов и 2,5 мм для медных.

Рис. 20.Трехфазный учетно-распределительный щиток:
1– трехполюсный выключатель; 2 – трехфазный счетчик для четырехпроводной сети; 3 – кожух; 4 – приборная панель; 5 – отходящие кабели; 6 – автоматический выключатель трехфазной группы; 7 – планка с зажимами для нулевых проводов; 8 – резьбовые предохранители однофазных групп; 9 – питающий кабель
Если владельцем электрической сети не оговорена предельно допустимая сила тока, то защита во вводном устройстве или на ответвлении должна отключать ток, длительно превышающий 25 А, т. е. номинальный ток плавкой вставки или ток установки автоматического выключателя должен быть 20 или 25 А.
При монтаже электропроводки, подключаемой к счетчику, необходимо оставлять концы проводов длиной не менее 120 мм. Изоляция или оболочка нулевого провода на длине 100 мм перед счетчиком должна иметь отличительную окраску.
В зависимости от расположения помещений в доме проводку от вводного устройства к счетчику можно вести как по наружным стенам, так и внутри здания. Проход трубы через стену уплотняют битумом или цементно-алебастровым раствором. Для защиты провода (кабеля) в месте его прохода через стену применяют отрезок металлической или пластмассовой трубы. На концы трубы с наружной стороны надевают воронку, с внутренней – втулку. Защиту от проникновения влаги обеспечивают битумной заливкой.
Учетно-распределительные щитки крепятся к стене или устанавливаются в нише (в каменных постройках). Однофазные щитки выпускают с выключателем и без него, на две и на три отходящие группы, с резьбовыми предохранителями (пробками) и автоматическими выключателями.
Широко распространенные однофазные щитки прежних выпусков с аппаратами защиты в обоих отходящих проводах, применять в электропроводке опасно, а в условиях приусадебного хозяйства недопустимо.
Трехфазные учетно-распределительные щитки (рис. 20) выпускают с выключателями со стороны ввода, а на отходящих линиях могут быть плавкие предохранители либо автоматы.