Всего за 114.9 руб. Купить полную версию

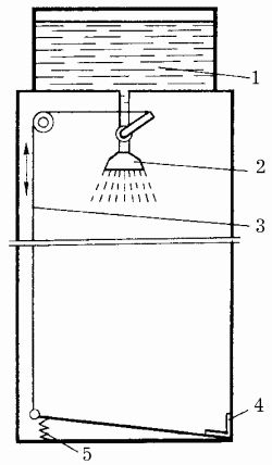
Рис. 10. Летний душ: 1 – бачок с водой, 2 – воронка от лейки, 3 – тросик, 4 – дверная петля, 5 – пружина от матраса.
Если на участке имеется водопровод, то душ можно оборудовать дровяной колонкой. Это дает возможность пользоваться душем и в прохладное время. Для стока воды делают колодец с фильтром из шлака или гравийного щебня. Однако такое устройство подойдет только для песчаной и супесчаной почвы.
Размер колодца зависит от суточной нагрузки фильтирующей поверхности. К колодцу можно подключить и другие бытовые стоки, однако следует учитывать, что суточная нагрузка в этом случае не должна превышать 250 л. Средние размеры колодца при таком расходе воды составляют 1 х 1 м.
Стенки колодца возводят из красного кирпича, нижняя часть выкладывается из дырчатого кирпича на высоту примерно 1 м. Если колодец расположен в стороне от душа, то его нужно накрыть люком. После строительства дырчатых стенок колодец засыпают фильтрующим материалом.
Обязательным условием для правильного функционирования колодца является наличие вентиляционного стояка диаметром 100 мм. Нижний конец стояка помещают в фильтрационный материал, а над ямой делают насыпь из грунта.
Теплицы и парники
Теплицы необходимы для выращивания на приусадебном участке теплолюбивых растений. Самым простым вариантом является односкатная пристенная теплица. Подобная конструкция позволяет рационально использовать пространство на приусадебном участке. Односкатная теплица может находиться в эксплуатации в течение всего года (рис. 11). Угол наклона крыши зависит от климатических условий, в среднем он равен 25–35°. Пол является продолжением хозяйственной отмостки стены. Наполнителем для пола служит смесь щебенки и песка или шлак.

Рис. 11. Односкатная пристенная теплица: а – общий вид, б – поперечный разрез: 1 – основание с уклоном, 2 – фундамент, 3 – гидроизоляция стены, 4 – водоотливной козырек, 5 – подъемная рама-форточка, 6 – угловой продольный брусок, 7 – настенный брусок каркаса.
Каркас теплицы выполняется из деревянных брусков и металлических уголков. Верхний конец стропил каркаса пркрепляют к настенному бруску, а нижний – к фундаменту, выложенному из кирпича или толстых досок. Ряд стропил соединяют с помощью углового продольного бруска. Стропила изготовляются Т-образной формы для того, чтобы потом легче было уложить тепличные рамы. В конструкции теплицы должна быть предусмотрена одна открывающаяся рама, с помощью которой осуществляется вентиляция сооружения. Для обогрева используются системы, аналогичные парниковым.
В приусадебном хозяйстве парник применяется для выращивания рассады ранних овощей и цветочных культур. Для отопления теплиц используют конский навоз или его смесь со стружками и листьями. Можно добавить и торф, тогда продолжительность горения увеличивается. Хорошим биотопливом считается мусор, смешанный с коровьим навозом. В результате его горения образуется большое количество тепла, которое выделяется равномерными порциями.
В качестве заменяющего навоз средства можно предложить смесь из 1000 кг соломы, 300 кг серно-кислого аммония, 100 кг суперфосфата и 30 кг гашеной извести (указанные величины можно уменьшить). Для приготовления этой смеси солому укладывают в несколько слоев в стог высотой 2 м и пересыпают каждый слой смесью из аммония, суперфосфата и гашеной извести. Средний расход воды для увлажнения составляет 700 л. Оптимальная температура для обогрева парника достигается через 5–6 дней.
В зависимости от массы топлива парники делятся на теплые, полутеплые и холодные. По способу закладки выделяют углубленные и наземные. Наиболее распространенным вариантом является углубленный односкатный парник. Подобный парник выглядит как траншея, которую набивают топливом. В конструкции предусмотрена обвязка из двух продольных бревен и поперечных слег. Слеги накрываются парниковыми рамами. Все деревянные детали выполняются из подтоварника диаметром 12–14 см. Ширина обвязки равняется 1,94 м, длина – 4,2 м. При установке парника верхнюю его часть приподнимают и плотно утрамбовывают землей, чтобы получился скат в виде отмостки.
Надземные парники изготавливать намного проще, особенно ранней весной, когда грунт еще не отошел от морозов. Обвязка в таком варианте представляет собой короб, который скалачивают из досок шириной 200–250 мм. Конструкция рассчитана максимум на четыре рамы.
Стандартные парниковые рамы делают из деревянных брусков сечением 55 х 47 мм. Остекленение начинают выполнять снизу вверх, накладывая первые листы стекла на нижнюю обвязку и используя для закрепления любые обрезки материала и замазку, приготовленную из пяти частей мела и одной части олифы. Для покрытия рам лучше использовать полиэтиленовую пленку. Во избежание провисания пленки на подрамник натягивают проволоку. Чтобы парник был более теплым, пленку можно натянуть с двух сторон подрамника.
Для обогрева парника необязательно использовать биотопливо. В современных условиях можно предложить воздушную, электрическую или водяную систему. Все подобные устройства похожи на систему, работающую на биотопливе, только в этих случаях парник прогревается за счет труб с горячей водой, воздухом или проложенным вдоль них нагревательным элементом (рис. 12).

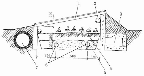
Рис. 12. Боковой разрез парника с почвенно-воздушным обогревом: 1 – рама, 2 – труба воздушного обогрева, 3 – воздуховод из кирпича, 4 – растительный слой, 5 – слой песка, 6 – трубы почвенного обогрева, 7 – воздуховод из керамических труб.
Для создания этого устройства в слое песка на дне траншеи прокладывают несколько рядов неизолированной проволоки, которую подсоединяют к трансформатору с напряжением 50 В. Для парника воздушного обогрева берут трубы диаметром до 75 мм. Они подсоединены к системе с помощью воздухоотводов из асбоцементных или керамических труб. В воздухоотводы поступает воздух, нагретый с помощью электрокалориферов.
Летняя кухня
В летней кухне можно проводить многие хозяйственные работы. Иногда ее можно использовать в качестве столовой или просто места для отдыха. Открытые кухни-столовые характерны для южных районов. Планируют место для кухни с таким расчетом, чтобы она располагалась рядом с домом и для ее возведения требовались минимальные затраты.
Для кухни выстраивают легкий каркас, который обшивают продольными досками. Крыша должна быть односкатной пологой. Помещение разделяют на две части: кухню и столовую. На кухне можно разместить газовую плиту, рабочий стол, мойку, холодильник и навесные шкафы для посуды. В плане следует предусмотреть окно с одной стороны и обрешетку с другой. Столовая обставляется в соответствии с художественным вкусом хозяина. Однако желательно, чтобы интерьер гармонировал с внешней отделкой кухни.
Место для компоста
На каждом приусадебном участке необходимо наличие места для компоста. Здесь складывают различные бытовые отходы, листья и сорняки с целью получения органического удобрения. Глубина ямы должна быть не более 50 см. Для предотвращения размывания краев ямы дождевой водой их укрепляют бортиками из кирпича или досок. Дно ямы покрывают слоем торфа толщиной 10–15 см. Через определенные промежутки времени компост переворачивают лопатой, добавляя суперфосфат или фосфоритную муку. Как правило, компостом можно пользоваться через год-два. Процесс перепревания ускоряется, если уложить компост штабелями, которые накрывают конусными коробками.
Место для кострища
Многие владельцы дачных участков осенью после обрезки деревьев сжигают ветки на любом удобном для них месте. Выделяющийся в результате горения углекислый газ загрязняет окружающую среду, а на почве долгое время ничего не растет. Поэтому важно иметь на своем участке специальное место для сжигания разнообразных отходов. Место для кострища располагают подальше от жилых построек и деревьев. Рекомендуется устраивать кострище на металлическом поддоне, который устанавливают на земляной насыпи.
Погреб
На приусадебном участке с развитым подсобным хозяйством просто необходимо иметь погреб для хранения продуктов. Температурный режим и постоянный уровень влажности способствует сохранению вкусовых качеств продуктов. Максимальная площадь погреба, как правило, не превышает 8 м. Погреб можно поместить где угодно: под садовым домиком, сараем, гаражом или отдельно. Погреба, которые находятся под сооружением, относятся к числу заглубленных. Среди отдельно стоящих выделяют заглубленные, полузаглубленные и наземные.
В качестве материалов для строительства подобных сооружений выбирают кирпич, бетон, бревна. Можно соорудить и простой земляной погреб. Нельзя строить погреба из металла, так как в них тяжело поддерживать температурно-влажностный режим.
Долговечность погреба зависит от правильных гидроизоляционных процедур. Различают противонапорную и безнапорную гидроизоляцию. Противонапорная гидроизоляция устанавливается, если уровень грунтовых вод выше пола погреба со стороны напора воды. Для гидроизоляции этого вида используют плотные водостойкие бетоны. В случаях если для создания гидроизоляции берут обычный бетон, его покрывают цементным раствором, приготовленным из 1 части цемента и 2 частей воды. Изготавливают также гидроизоляцию из нескольких слоев рулонного материала и фиксируют ее с помощью защитной стенки, которая сооружается из красного кирпича. Основная функция защитной стенки предотвратить попадание влаги на мягкие материалы гидроизоляции.