Министерство обороны СССР - 120-мм миномет обр. 1938 г. Руководство службы стр 20.

Шрифт
Фон

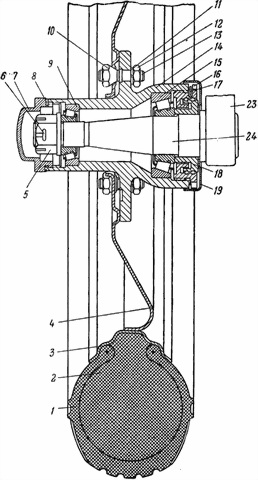
Чтобы пружина не сжималась до соприкосновения витков, поворот рычага 4 ограничивается резиновым буфером 1, который помещается в обойме 3, приваренной к кронштейну 16.

В обойме буфер удерживается винтом 2. Для предохранения от загрязнения снизу механизм подрессоривания закрыт крышкой 18, один конец которой шарнирно соединен с

кронштейном петлей, а другой при помощи запора 17.

На полуось 24 кривошипа (рис. 46) надета тарелка 19 и напрессована втулка 18; они предохраняют ступицу колеса от попадания в нее пыли и влаги.

Действие механизма подрессоривания

Сила тяжести хода и уложенного на него миномета через ось, кронштейн, кривошип, рычаг и тягу передается на пружину 8 (см. рис. 45), при этом пружина несколько сжимается.

При движении хода толчки, воспринимаемые полуосью, заставляют кривошип и шип поворачиваться по направлению движения часовой стрелки. Вместе с шипом поворачивается рычаг, который тянет за собой тягу, сжимающую пружину.

Пружина смягчает действие толчков на кронштейн, а следовательно, на раму хода и на миномет.

Рис. 46. Колесо:

1 резиновая покрышка; 2 губчатый каучук; 3 обод; 4 диск; 5 гайка с буртиком (1-34); 8 шплинт (А51040-37); 7 колпак (25); 8 стопорное кольцо (26); 9 роликоподшипник (22); 10 гайка с конусом (2-12); 11 пружинная шайба (А51027-6); 12 гайка (А51010-6); 13 шпилька (28); 14 ступица (21); 15 роликоподшипник (23); 16 круглая гайка (24); 17 стопорное кольцо (27); 18 втулка (1-83); 19 тарелка (1-82); 23 планка (1-81); 24 полуось (1-80)

Разборка и сборка механизма подрессоривания

Разборка

Механизм подрессоривания разбирать при замене неисправных деталей, а также при периодической чистке и смазывании.

Разборку и сборку механизма подрессоривания можно производить, не снимая колесо с полуоси.

Для разборки механизма подрессоривания необходимо:

поставить ось хода на подставки (можно использовать домкрат автотягача) и, вывесив колеса, снять их с полуосей 24 (см. рис. 45) для облегчения и удобства разборки.

Для удобства работы при разборке механизма подрессоривания снять с хода ящик орудийного 3ИП, расшплинтовать гайки и свинтить их ключом Сб4-2 с болтов;

расстопорить и вывинтить винты 5, снять кожух 13;

расшплинтовать и свинтить гайку 9 с тяги 7, снять шаровую шайбу 12 и направляющую шайбу 11, пружину 8 и шайбу 14. При свинчивании гайки 9 следует заметить ее положение для того, чтобы при сборке установить ее в первоначальное положение.

При полной разборке механизма подрессоривания, кроме указанного, следует:

разомкнуть запор 17 и открыть крышку 18;

расшплинтовать и свинтить гайку 20 с шипа 27, снять шайбу 21 и отделить кривошип от кронштейна 16; если усилием рук не удается вынуть шип 27 из кронштейна, то следует наложить на нарезной конец шипа деревянную накладку и ударами молотка по ней сдвинуть шип с места, затем вынуть его руками; при этом нужно заметить положение рычага 4 на шипе 27;

вынуть рычаг 4 вместе с тягой 7 из кронштейна;

вывинтить винты 30, снять шайбу 29 и кожаную прокладку 28 (если их требуется заменить); без надобности шайбу 29 и прокладку 28 не отделять.

Если необходимо, заменить изношенный буфер 1, вывинтить винт 2, вынуть изношенный буфер, поставить новый и закрепить его тем же винтом.

После чистки и смазывания механизма или замены неисправных деталей необходимо через масленку ввести в канал шипа 27 такое количество смазки, чтобы она вышла на поверхность шипа через отверстие б. После этого протереть и смазать втулки 25 и 26 кронштейна.

Сборка

Если была произведена полная разборка механизма подрессоривания, то для сборки необходимо:

поставить прокладку 28 и шайбу 29, закрепив их винтами 30;

вставить рычаг 4 с тягой 7 в кронштейн 16;

вставить кривошип шипом 27 в кронштейн 16 и в отверстие с шлицами рычага 4, сохранив их взаимное положение, занимаемое ими до разборки. Если усилием рук кривошип не входит в кронштейн и в отверстие рычага, то следует наложить на торец шипа 27 деревянную прокладку и, слегка ударяя по ней молотком, поставить шип кривошипа до упора кольцевого выступа в торец втулки 25. Поставить шайбу 21, навинтить и зашплинтовать на нарезном конце шипа гайку 20;

закрыть крышку 18 и замкнуть запор 17.

Далее произвести окончательную сборку механизма, для чего необходимо:

надеть на тягу 7 шайбу 14, пружину 8, направляющую шайбу 11 и шаровую шайбу 12 и навинтить гайку 9 в положение до ее разборки; зашплинтовать гайку на конце тяги 7;

поставить кожух 13 и закрепить его винтами 5, застопорив винты проволокой.

Если были сняты колеса с полуосей хода и ящик орудийного ЗИП, то поставить ось хода на подставки (домкрат) и надеть колеса, а затем поставить и ящик орудийного ЗИП.

При сборке после навинчивания гайки 20 кривошип должен вращаться свободно, но без заметного осевого (продольного) люфта.

Если при осмотре пружины 8 в местах соприкосновения витков будет обнаружено просветление проволоки вследствие сжатия пружины, значит, износился буфер 1, ограничивающий поворот рычага 4. В этом случае буфер необходимо заменить, как указано выше.

Если пружина 8 ослабла, то необходимо ее поджать, завинчивая гайку 9.

Ваша оценка очень важна

0
Шрифт
Фон

Помогите Вашим друзьям узнать о библиотеке