Министерство обороны СССР - 12,7-мм пулеметы обр. 1938/46 г. и 1938 г. Наставление по стрелковому делу стр 9.

Шрифт
Фон

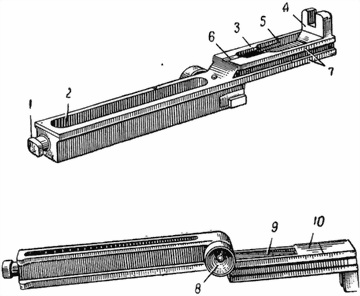
В средней части ствольной коробки находятся выем для приемника, окно для прохода патронов, направляющий штифт приемника для ограничения бокового смещения приемника на ствольной коробке и основание прицела.

Рис. 18. Ствольная коробка:

1 сквозной канал для ствола; 2 продольный паз для прохода выступа ствола; 3 сквозное поперечное окно; 4 поперечный паз для крепления зенитного прицела; 5 задержки приемника; 6 проушина; 7 паз для шайбы клина; 8 цапфы; 9 выем для приемника; 10 направляющий штифт для приемника; 11 основание прицела; 12 отверстие для чеки; 13 вертикальные пазы для соединения с затыльником; 14 продольные пазы для выступов спусковой коробки; 15 продольные пазы для направления движения затворной рамы; 16 боевые уступы; 17 желобки

Задняя стенка окна имеет скос для упора отражателя при отходе затвора назад.

В задней части ствольная коробка имеет сквозное отверстие чеки затыльника, вертикальные пазы для соединения с затыльником и продольные пазы для выступов спусковой коробки.

Нижняя часть ствольной коробки открытая; в ней размещается подвижная система, спусковая коробка и затыльник.

Внутри ствольная коробка имеет: продольные пазы для направления движения затворной рамы; наклонные выемы, образующие боевые уступы для входа боевых упоров затвора при запирании канала ствола, и желобки для сбора излишней смазки и попавшей в ствольную коробку грязи, что уменьшает трение затвора при его движении.

ПРИЦЕЛ
61. Прицел

Основание прицела (рис. 19) нижней частью вдвинуто в продольный паз верхней стенки ствольной коробки и закреплено двумя заклепками. Основание прицела имеет проушины для шарнирного соединения с прицельной рамкой, гнездо для пружины и толкателя прицельной рамки и паз для зуба защелки приемника.

Рис. 19. Основание прицела:

1 проушины; 2 гнездо для пружины и толкателя; 3 паз для зуба защелки приемника

Рис. 20. Прицельная рамка:

1 ушко; 2 ограничительный выступ; 3 ходовой винт с маховичком; 4 деления с цифрами; 5 ось

Прицельная рамка (рис. 20) имеет:

ушко со сквозным отверстием для соединения с основанием прицела при помощи оси; нижняя стенка ушка является пяткой для упора толкателя прицельной рамки;

ограничительный выступ для установки прицельной рамки в вертикальном положении;

паз для ходового винта прицельной рамки;

ходовой винт с маховичком для точной установки хомутика на нужное деление рамки;

деления с цифрами (на правой стойке четные от 0 до 32, на левой стойке нечетные от 0 до 33); деления и цифры означают расстояния в сотнях метров.

Пружина прицельной рамки (рис. 21) цилиндрическая. Она удерживает прицельную рамку в вертикальном и горизонтальном положениях.

Нижним концом пружина упирается в дно гнезда основания прицела, верхним в дно толкатель.

Толкатель (рис. 22) представляет собой полый цилиндр с дном. Он устанавливается так, чтобы пружина прицельной рамки сжималась между дном толкателя и дном гнезда основания прицела.

Рис. 21. Пружина прицельной рамки

Рис. 22. Толкатель

Рис. 23. Хомутик:

1 защелка; 2 пружина; 3 неподвижный целик

Хомутик (рис. 23) имеет защелку с пружиной для удержания его на прицельной рамке в приданном ему положении и неподвижный целик с прорезью для прицеливания.

ЗАТВОРНАЯ РАМА
62. Затворная рама

в передней части сухарь для соединения с муфтой и продольное окно для прохода гильз;

в средней части поперечное отверстие для рукоятки рамы;

в задней части сверху плоскость, на которую ложится затвор своей нижней поверхностью, и стойку с вырезом для соединения с головкой ударника; плоскость имеет фигурный выем для нижнего выступа затвора и нижних выступов боевых упоров и паз для переднего выступа затвора;

в задней части снизу скошенную выемку по которой скользит шептало; в выемку вклепан вкладыш, передний край которого образует боевой взвод;

по бокам продольные выступы для движения по продольным пазам ствольной коробки.

Рис. 24. Затворная рама:

1 сухарь; 2 продольное окно; 3 плоскость; 4 стойка с вырезом; 5 фигурный выем; 6 паз для переднего выступа затвора; 7 продольные выступы; 8 рукоятка рамы; 9 скошенная выемка; 10 вкладыш

63. Шток с газовым поршнем (рис. 25) предназначается для передачи действия части пороховых газов на затворную раму. Шток имеет:

на переднем конце два направляющих кольцевых выступа и газовый поршень, на торце которого сделана выемка;

в средней части четыре выема (долы) для облегчения;

на заднем конце два поперечных выема под ключ и ленточную резьбу для соединения с муфтой;

Рис. 25. Шток с газовым поршнем:

1 направляющие кольцевые выступы; 2 газовый поршень; 3 долы; 4 два поперечных выема под ключ; 5 ленточная резьба; 6 лыска для шпильки поршня

на заднем обрезе лыску для шпильки поршня.

На шток надевается возвратно-боевая пружина.

64. Направляющая трубка поршня (рис. 26) служит для помещения в ней возвратно-боевой пружины, для направления движения штока с газовым поршнем и для предохранения их от повреждения и засорения. Направляющая трубка поршня имеет кольцевой поясок для упора в стенку заднего цилиндрического выступа газовой каморы, накатку, упор для соединения со стволом, кольцевое дно для упора заднего конца возвратно-боевой пружины.

Ваша оценка очень важна

0
Шрифт
Фон

Помогите Вашим друзьям узнать о библиотеке