Апальков Юрий Валентинович - Боевые корабли японского флота 10.1918-8.1945 гг. Подводные лодки стр 10.

Шрифт
Фон

Схема боевой организации подводных лодок Императорского флота по состоянию на 1.05.1934 г.

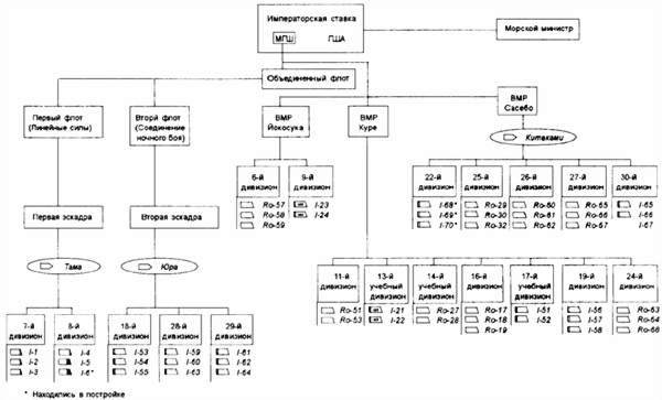
Схема боевой организации подводных лодок Императорского флота по состоянию на 1.12.1941 г.

В апреле 1930 г., после завершения Лондонской конференции, основными потенциальными противниками объявили Великобританию и США Одновременно был разработан оперативный план использования Императорского флота в ходе войны на Тихом океане. В нем лодкам отводилась весьма существенная роль. В частности, две эскадры (общей численностью 18 кораблей) передавались в распоряжение Третьего флота, призванного проводить операции по захвату Филиппинских о-вов. К третьему флоту так же были приписаны четыре заградителя, ранее числившиеся в составе Первого флота. Остальные корабли, подчинявшиеся командующему Шестым флотом, должны были оперировать в центральной и южных частях Тихого океана, базироваться на подмандатные о-ва и оказывать поддержку Объединенному флоту.

В начале 1936 г. была принята новая Имперская политика, предусматривающаяполный отказ от каких-либо ограничений в области морских вооружений. Главным направлением экспансии была выбрана юго-западная часть Тихого океана и тихоокеанское побережье Азии. В числе вероятных противников в порядке значимости фигурировали: США, СССР, Китай и Великобритания. Для достижения поставленных целей Япония должна была иметь 70 лодок со сроком службы не больше 13 лет суммарным водоизмещением 123800 т. Из них:

27 большие патрульные (Дзинсен) стандартным водоизмешением 2000 т: семь флагманы соединений (Кикансен) стандартным водоизмещением 2800 т и 36 большие (Кайдасен) стандартным водоизмещением 1400 т. Эти корабли должны были войти в так называемую Первую линию, состоявшую из Первого и Второго флотов. В распоряжение командующего Первым флотом передавались четыре эскадры. Каждая из эскадр имела своим флагманом лодку стандартным водоизмещением 2800 т (Кикансен) и состояла из трех дивизионов трехкорабельного состава. Дивизионы формировались из больших (океанских) лодок стандартным водоизмещением 1400 т (Кайдасен). Эскадры Первого флота предназначались для совместных действий с линейными силами. Во Второй флот входили две эскадры, так же возглавляемые лодками стандартным водоизмещением 2800 т. Здесь дивизионы, формировавшие эскадры, состояли из больших патрульных лодок стандартным водоизмещением 2000 т (всего 18 единиц). Эти корабли были призваны в любое время суток атаковать линейные силы противника и вести разведку в интересах командования Объединенным флотом. Одна эскадра формировала Четвертый флот, призваннный оперировать в южной части Тихого океана и у западного побережья США Она состояла из девяти больших патрульных лодок стандартным водоизмещением 2000 т, сведенных в три дивизиона. Флагман эскадры принадлежал к кораблям стандартным водоизмещением 2800 т.

17.04.1936 г. МГШ представил Императору и Совету обороны оценку текущего состояния флота и тех мер, которые необходимо предпринятьдля достижения желаемой морской мощи. Согласно этому документу по состоянию на 1936 г. Япония могла включить в состав Первого флота только 14 больших (океанских) ПЛ, срок службы которых к 1941 г. не превышал 13 лет. Второй флот насчитывал четыре большие патрульные лодки, из которых две (I-7 и I-8) находились в постройке. Таким образом, при самом благоприятном стечении обстоятельств, до 1941 г. надлежало построить 52 корабля. Чисто теоретически, эти планы казались выполнимыми, принимая во внимание то, что на постройку девяти ПЛ стандартным водоизмещением порядка 2000 т, японская промышленность затрачивала около трех лет. На практике же, приоритет в развитиии флота отдавался тяжелым артиллерийским кораблям, и о заказе такого большого числа лодок не могло быть и речи.

В июле 1939 г. МГШ внес изменения в классификацию лодок: большие патрульные стали классифицироваться как крейсерские; малые патрульные и большие (океанские) как ПЛ нападения (атаки); флагмана соединений как штабные. Появление штабных лодок было вызвано двумя причинами. Во-первых, МГШ считал нецелесообразным использование стандартных легких крейсеров в качестве флагманов эскадр, предполагая их заменить на корабли типа Ойодо, на которые возлагались чисто штабные функции и ведение разведки с помощью высокоскоростных гидросамолетов. Во-вторых, при непосредственном контакте с противником, крейсер был уязвим, а лодка могла эффективно руководить соединениями.

Б.2 Боевая организация японских подводных сил в период с декабря 1941 г. по август 1945 г.

К декабрю 1941 г. Япония располагала 63 боеспособными лодками. В постройке находилось 29 кораблей и еще на 38 выделили средства в рамках бюджета на 1941/42 гг. Организация японских подводных сил по состоянию на декабрь 1941 г. Формально подводными силами руководил командующий Шестым флотом вице-адмирал Мицуми Симидзу, но под его началом находились только Первая, Вторая и Третья эскадры. Шестой флот предназначался для борьбы с боевыми кораблями противника на подходах к Гавайским о-вам и у западного побережья США Кроме того, он должен был вести разведку в интересах командующего Объединенным флотом. Вице-адмирал Мива и его штаб находились на борту учебного крейсера "Катори". Четвертая и Пятая эскадры, возглавляемые легкими крейсерами "Кину" и "Юра", так же состояли в первой линии, но формировались из устаревших кораблей. Они подчинялись командующему Комбинированным флотом и должны были вести борьбу с боевыми кораблями союзников в южной части Тихого океана, обеспечивая вторжение на Филиппины и Британскую Малайю. Шестую эскадру при писали к Третьему флоту для обеспечения оккупации Филиппин, Восточной Голландской Индии и Британской Малайи. Седьмая эскадра предназначалась для обороны подмандатных о-вов и Метрополии. Часть кораблей из ее состава принадлежали ВМР Куре и занимались подготовкой экипажей строившихся лодок, а остальные находились в подчинении командующего Четвертым флотом. Все японские ПЛ имели отлично подготовленные экипажи,

Ваша оценка очень важна

0
Шрифт
Фон

Помогите Вашим друзьям узнать о библиотеке