Li Qing - Real-Time Concepts for Embedded Systems стр 14.

Шрифт
Фон

The monitor is generally developed by the hardware engineers and is also used by the hardware engineers to perform both system device diagnostics and low-level code debugging. Some manufactures give the monitor source code to their customers. In that case, the code can be extracted and modified to work with a custom-designed target board.

3.2.3 Target Debug Agent

3.3 Target Boot Scenarios

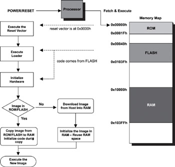
We have described the software components involved in transferring images from the host to the target. In this section, we describe the details of the loading process itself and how control is transferred to the newly acquired image.

Embedded processors, after they are powered on, fetch and execute code from a predefined and hard-wired address offset. The code contained at this memory location is called the reset vector . The reset vector is usually a jump instruction into another part of the memory space where the real initialization code is found. The reason for jumping to another part of memory is to keep the reset vector small. The reset vector belongs to a small range of memory space reserved by the system for special purposes. The reset vector, as well as the system boot startup code, must be in permanent storage. Because of this issue, the system startup code, called the bootstrap code, resides in the system ROM, the on-board flash memory, or other types of non-volatile memory devices. We will revisit the loader program from the system-bootstrapping perspective. In the discussions to follow, the loader refers to the code that performs system bootstrapping, image downloading, and initialization.

The concepts are best explained through an example. In this example, assume an embedded loader has been developed and programmed into the on-board flash memory. Also, assume that the target image contains various program sections. Each section has a designated location in the memory map. The reset vector is contained in a small ROM, which is mapped to location 0x0h of the address space. The ROM contains some essential initial values required by the processor on reset. These values are the reset vector, the initial stack pointer, and the usable RAM address.

In the example shown in Figure 3.2, the reset vector is a jump instruction to memory location 0x00040h; the reset vector transfers program control to the instruction at this address. Startup initialization code begins at this flash memory address. This system initialization code contains, among other things, the target image loader program and the default system exception vectors. The system exception vectors point to instructions that reside in the flash memory. See Chapter 10 for detailed discussions on interrupts, exceptions, and exception vectors and handlers.

Figure 3.2: Example bootstrap overview.

The first part of the system bootstrap process is putting the system into a known state. The processor registers are set with appropriate default values. The stack pointer is set with the value found in the ROM. The loader disables the system interrupts because the system is not yet prepared to handle the interrupts. The loader also initializes the RAM memory and possibly the on-processor caches. At this point, the loader performs limited hardware diagnostics on those devices needed for its operation.

As discussed in Chapter 2, program execution is faster in RAM than if the executable code runs directly out of the flash memory. To this end, the loader optionally can copy the code from the flash memory into the RAM. Because of this capability, a program section can have both a load address and a run address. The load address is the address in which the program sections reside, while the run address is the address to which the loader program copies the program sections and prepares it for execution. Enabling runtime debugging is another main reason for a program to execute out of the RAM. For example, the debugger must be able to modify the runtime code in order to insert breakpoints.

An executable image contains initialized and uninitialized data sections. These sections are both readable and writeable. These sections must reside in RAM and therefore are copied out of the flash memory into RAM as part of system initialization. The initialized data sections (.data and.sdata) contain the initial values for the global and static variables. The content of these sections, therefore, is part of the final executable image and is transferred verbatim by the loader. On the other hand, the content for the uninitialized data sections.bss and.sbss) is empty. The linker reserves space for these sections in the memory map. The allocation information for these sections, such as the section size and the section run address, is part of the section header. It is the loaders job to retrieve this information from the section header and allocate the same amount of memory in RAM during the loading process. The loader places these sections into RAM according to the sections run address.

An executable image is likely to have constants. Constant data is part of the.const

Ваша оценка очень важна

0
Шрифт
Фон

Помогите Вашим друзьям узнать о библиотеке