Виктор Николаевич Сарафанников - Локальную вычислительную сеть-сделай сам. О супе домашнем замолвим мы слово... стр 22.

Шрифт
Фон

Удобна основательная коптильня, приведенная на рис. 9.

Рис. 9 Основательная коптильня:

1 и 2 задвижки; 3 поперечная перекладина с крючками; 4 железный лист; 5 поддон из железного листа; 6 топка

Здесь камеру сооружают из кирпича или железного листа 1,52 мм толщиной. Можно ее сделать даже из ивового плетня,

обмазанного сверху глиной, а изнутри обшитого листом из кровельной жести. Отступя от потолка 5-10 см, подвешивают жестяной лист 4. Это делают для равномерного расползания дыма по камере. Аналогичный лист в качестве поддона 5 кладут на дно камеры. На этом поддоне размещают опилки. От печки 6 в камеру поступает жар, опилки начинают тлеть и дымить. Для улучшения запаха в опилки можно добавить мяту или можжевеловые ветки, особенно перед концом копчения.

Многовариантная домашняя коптильня представлена на рис. 10.

Рис. 10. Многовариантная домашняя коптильня:

1 печь; 2 отводка с фланцем; 3 дымоход-труба

На сельском подворье изготавливают из листового металла камеру. Если нет листового железа, то ее можно соорудить из кирпича или в крайнем случае из куска металлической трубы диаметром 300400 мм. Высота камеры 500600 мм. Металлическую камеру изнутри целесообразно обшить деревом несмолистых пород для уменьшения выпадения конденсата при копчении в прохладную погоду. Из куска трубы же диаметром 400 мм и высотой 500 мм делают печь. Внутри трубы, отступя 150 мм от низа, сооружают колосник с решеткой не слишком редкой, чтобы опилки не проваливались в поддувало. Потом делают дверки топки и поддувала Саму же трубу с обеих сторон наглухо закрывают листовым железом при помощи сварки. Затем вверху печи ввертывают отводку с фланцем для последующего соединения с трубой 3. Такую же отводку делают и в камере. Фланцевое соединение хорошо сделать и на трубе. Это облегчит сборку и разборку дымохода-трубы при ее очистке от копоти. Диаметр дымохода 80100 мм, длина для холодного копчения 4,45,5 м, для горячего 11,5 м. Конфигурации дымохода в зависимости от условий подворья могут быть всевозможных вариантов, три из которых представлены на рис. 10. В камере устраивают обязательно вытяжку с «грибом». Коптильню желательно располагать в тени, так как из-за солнечных лучей дым не будет успевать остывать в дымоходе.

Возможно устройство коптильни и в обычной отопительной печи после некоторой ее доработки. В дымоходе чуть ниже задвижки разбирают кирпичную кладку, для того чтобы можно было вмонтировать печную дверцу и прут для подвески колбасных изделий (рис. 11).

Рис. 11. Устройство

коптильни в дымоходе обычной печи:

1 задвижка; 2 прут для подвешивания колбасных изделий; 3 дверца коптильни; 4 топочное отделение с кирпичами-охладителями дыма; 5 поддувало

В топочном отделении на колосники размещают несколько кирпичей. Саму топку дров и опилок устраивают в поддувальном отделении. Дым, проходя через кирпичи, несколько остывает и в дымоход-коптильню поступает нужной температуры 6065 °C. Тягу дыма в коптильне регулируют при помощи печной задвижки. Через двое суток колбасное изделие, как правило, бывает готово.

Умельцы придумали еще один очень быстрый и несложный способ копчения (рис. 12).

Рис. 12. Простейшая коптильня:

1 бочка с отверстиями для отрезков проволоки; 2 стакан с опилками; 3 паяльная лампа

Как видно из рисунка, для копчения подойдет любая бочка: железная или деревянная на 120 л. Железную бочку освобождают от дна и хорошенько прожигают. Деревянную нужно только промыть и высушить. Для коптильни делают металлический стакан диаметром 6070 мм, длиной 500600 мм. Для этой цели подойдет любой отрезок трубы, отслуживший свой срок кардан, старый огнетушитель. Толщина стенки стакана должна быть не менее 3 мм. С одной стороны стакан заваривают, с другой нарезают резьбу, чтобы можно было его ввинчивать в дно коптильни. А можно и не нарезать резьбу. Бочку ставят на подставку, снизу ввинчивают или вставляют стакан с опилками. В опилки хорошо добавить немного сахара дыма будет больше. Внизу рядом со стаканом размещают паяльную лампу, и процесс копчения пошел.

Вариантов устройства коптилен может быть множество. Еще об одном способе копчения, а именно при помощи электротока, расскажем ниже. Описание этого способа журнал «Сделай сам» уже давал в заметке, написанной Л.A. Ерлыкиным.

Холодное копчение при помощи электротока

Известен технологический процесс холодного копчения с использованием высоковольтного электрического поля. Идея его не нова, например, в промышленности с помощью этого процесса красят автомашины и т. п.

Копчение по этому процессу дает ряд преимуществ: не надо специального помещения, высокий КПД использования дров, значительное сокращение времени обработки, идеальные противопожарные условия, хорошие экологические результаты (установка практически не дымит) и другие.

В нашем случае копчение продуктов занимает от 1,5 до 6,0 часов в зависимости от их единичных размеров.

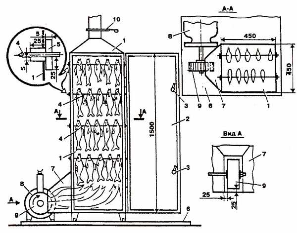
Коптильная установка (рис. 13) представляет собой короб 1 из оцинкованного железа.

Рис. 13

Одна боковая сторона короба дверца 2, которую крепят на петлях. Дверца 2 имеет по всему периметру уплотнение (поролон, войлок и т. п.) и два запора 3 типа оконных (затягивающих уплотнение при закрытии)

Ваша оценка очень важна

0
Шрифт
Фон

Помогите Вашим друзьям узнать о библиотеке