Коршевер Наталья Гавриловна - Электрика в вашем доме стр 2.

Шрифт
Фон

Но когда необходимо не только определить наличие или отсутствие тока в сети, не только обозначить «фазу» или «ноль», но и измерить определенные параметры тока, то это можно сделать с помощью специальных приборов: амперметра, вольтметра или омметра.

Справедливости ради следует сказать, что даже не у всех профессиональных электриков имеются в наличии все эти приборы. Куда рациональнее и проще обзавестись комбинированным ампервольтомметром, в народе называемым тестером; с его помощью можно измерить силу и напряжение постоянного тока, среднее значение силы тока и напряжения переменного тока, сопротивление постоянному току. Диапазон измеряемых параметров: ток в пределах от 0 до 2,5 А; напряжение до 1000 В; сопротивление постоянному току до 10000 кОм. Прибор оснащен достаточно мощной защитой: он способен выдержать кратковременные перегрузки до 25-кратных значений от конечного значения диапазона измерения.

Большой проблемой является определение места обрыва в скрытой проводке. Для не посвященного в тонкости электротехники человека единственными инструментами, с помощью которых это можно сделать, представляются молоток и зубило.

А ведь обнаружить место обрыва можно и не производя таких колоссальных затрат времени, труда и средств (на последующее оштукатуривание стен), с помощью достаточно простого устройства, принципиальная схема которого представлена на рис. 4.

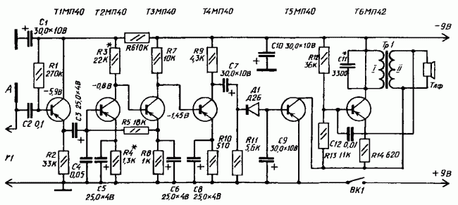
Рис. 4. Принципиальная схема устройства для определения места неисправности скрытой проводки.

Действие прибора основано на регистрации электрического поля, которое образуется вокруг проводника (провода), находящегося под напряжением. Мощность прибора позволяет зарегистрировать ток частотой 50 Гц на расстоянии 68 см от проводника. Такое устройство можно приобрести в готовом виде или попытаться собрать по нижеследующему описанию.

Для сборки прибора и обнаружения неисправности в скрытой электропроводке необходимы следующие комплектующие: четырехкаскадный усилитель звуковой частоты с коэффициентом усиления 30005000 единиц, выпрямитель, ключевой каскад, генератор звуковой частоты на 9001600 Гц, две батареи 3336Л, трансформатор, антенна и головные телефоны (наушники).

Для питания устройства осуществляют последовательное соединение батарей 3336Л (их суммарный ток 58 мА). Проводник с током в антенне А наводит в приборе напряжение частотой 50 Гц, которое увеличивается усилителем звуковой частоты (собранным на транзисторах Т1 Т4). Далее напряжение выпрямляется диодом Д1 (его значение на выходе 0,20,4 В) и поступает на базу транзистора Т5 ключевого каскада. Под действием напряжения блокинг-генератор, собранный на транзисторе Т6, начинает

генерировать колебания звуковой частоты, которые отчетливо слышны в головных телефонах, соединенных с генератором.

Все детали прибора, кроме выключателя ВК1, батарей питания, гнезд Г1 и телефонов, размещают на гетинаксовой плате размером 12 x 7,2 см. Саму плату вместе с батареями, гнездами и тумблером выключателя помещают внутрь металлического корпуса размером 15 x 7,8 x 4,5 мм. Антенна А размером 13 x 6,5 см, изготовленная из листовой медной фольги, укрепляется в окне крышки корпуса на изолирующей гетинаксовой плате.

Для нормальной работы прибора статический коэффициент усиления по току (Вст) всех транзисторов прибора должен быть в интервале 3550.

Трансформатор Тр1, монтируемый в прибор, изготавливают на магнитопроводе Ш5 x 6. Первичная обмотка трансформатора (I) должна состоять из 1500 витков провода ПЭВ диаметром 0,1 мм, вторичная обмотка (II) из 600 витков такого же провода. После установки трансформатора следует проверить работоспособность блокинг-генератора, для чего коллектор и эмиттер транзистора Т5 временно замыкают накоротко проволочной перемычкой: при правильном подключении выводов обмотки (I) трансформатора Тр1 генератор начинает работать, в противном случае выводы нужно поменять местами.

Ключевой каскад приводят в рабочее состояние подачей на базу транзистора Т5 отрицательного напряжения 0,20,4 Вт, которое снимается с делителя. Делитель составляют из постоянных резисторов сопротивлением 5,1 кОм и 150 Ом, включенных в общую цепь питания (если в качестве резистора R2 в схеме использовать переменное сопротивление, прибор будет более чувствителен). Напряжение питания блокинг-генератора при наладке ключевого каскада должно составлять 78 В. Налаживание самого усилителя звуковой частоты производят путем подбора сопротивления резистора R3, от которого зависят режимы работы транзисторов Т2Т4.

После сборки и наладки всех составляющих и самого прибора в целом можно приступать к определению места повреждения скрытой проводки (проходя по ее трассе). В цепь, трассу, место неисправности которой предстоит определить, подают напряжение; к прибору подсоединяют головные телефоны и включают его питание. Звуковой сигнал, прослушивающийся в телефонах некоторое время после включения и соответствующий тону генератора, свидетельствует о том, что прибор работает нормально.

Далее антенну прибора направляют в сторону предполагаемой трассы скрытой электропроводки: в зависимости от расстояния между проходящим в стене проводом и антенной тон генератора будет усиливаться или ослабевать, что и позволит проследить трассу залегания провода в стене. Исчезновение звукового сигнала в головных телефонах указывает место обрыва проводки (как правило, тон генератора исчезает на расстоянии 57 см от места обрыва). На протяжении всего времени обследования электропроводки прибором его корпус должен находиться в постоянном контакте с руками.

Ваша оценка очень важна

0
Шрифт
Фон

Помогите Вашим друзьям узнать о библиотеке