Слуцкий Игорь - Самый полный справочник птицевода стр 7.

Книгу можно купить на ЛитРес.
Всего за 239.9 руб. Купить полную версию
Шрифт
Фон

Электрооборудование для обогрева молодняка


Поилку можно изготовить из досок в виде треугольника или из цементной или гончарной трубы, распилив ее вдоль на две равные части. Из проточной поилки вода должна поступать в утепленную сточную яму, которую устраивают возле птичника. Поилку можно сделать с электроподогревом. Для этого используют электроподогреватель воды на 20, 60 и 100 Вт (соответственно на 10, 50 и 100 л воды), который опускают в поилку.

Электроподогреватель представляет собой колбу-пробирку длиной 12–15 см, в которую вмонтирована нихромовая спираль. К концам спирали припаян изолированный шнур с вилкой для включения в электрическую сеть. Воду подогревают до нужной температуры.

Простой способ предохранения воды от замерзания – обертывание ведра-поилки изоляционным материалом и подливание теплой воды. Можно также погрузить в воду деревянный кружок несколько меньшего диаметра, чем ведро. Кружок, плавая, не дает воде замерзнуть. В нем следует сделать 3–4 круглых отверстия, через которые птица будет пить воду.


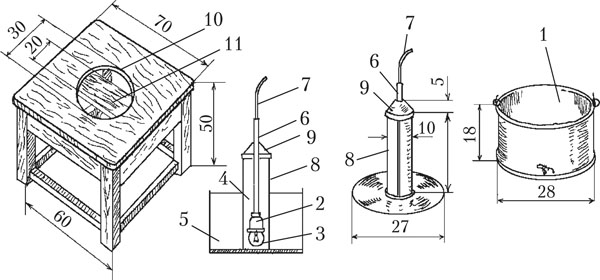
Как сделать поилку с электроподогревом.

Поилку с электроподогревом можно сделать самостоятельно. На схеме изображена поилка с электроподогревом, а также даны ее размеры. Такие устройства рекомендуются для зимы.


Кормушки и поилки для цыплят: а – вакуумная поилка: 1 – емкость для воды; 2 – отверстие для вытекания воды; 3— подставка; 4 – миска; б – лотковая кормушка


Поилка с электрообогревом: 1 – оцинкованное ведро; 2 – патрон для электролампы; 3 – лампа мощностью 10 ватт; 4 – сухой песок; 5 – вода; 6 – шланг резиновый; 7 – электропровод; 8 – цилиндр из оцинкованной листовой стали (швы пропаяны); 9 – крышка съемная из оцинкованной листовой стали; 10 – гнездо для ведра; 11 – подставка для ведра (доска, прибитая гвоздями к крышке столика)


Насесты

Так как почти половину суток, а зимой и более, птице приходится обитать в птичнике, необходимы условия для ночного отдыха – насесты.

Куры чувствуют себя спокойнее, когда насесты расположены горизонтально. Не приходится бороться за более высокие ряды, в отличие от наклонных насестов. Зооветеринарными нормами на одного обитателя птичника предусмотрено 1820 см бруска при условии, что расстояние между ними 30–35 см. Поперечное сечение бруска должно быть в пределах 5x5 см, с овальным округлением его верхней, рабочей, части. Тогда птицы, умостившись на насест, плотно его обхватывают и чувствуют себя удобно и во время сна. От падения они гарантированы. Насесты устанавливают на высоте 60 см на подпорках таким образом, чтобы их можно было приподнимать и крепить к стене во время уборки.


Гнезда

Для яйцекладки каждая наседка старается уединиться. Нередко курица заскакивает в птичник перед самым несением.

Ждать некогда, необходимо свободное гнездо. Если его не оказывается, яйцо откладывается прямо на подстилку.


Гнезда для кур


Специалистами-куроводами установлено, что обсемененность патогенными микробами яиц, снесенных на подстилке, в 20–30 раз выше, чем в гнездах, а выводимость из этих яиц на 20 % ниже.

Чтобы избежать этих неприятностей, каждые пять несушек должны иметь отдельное гнездо.

Гнезда для кур устраивают на высоте 50–60 см от пола. Высоко расположенные гнезда способствуют появлению яиц с мясными и кровяными включениями внутри. Изготавливают гнезда из фанеры или теса, размерами 30x35x35 см и, располагают их в защищенном от прямых солнечных лучей и посторонних глаз месте либо одной, либо несколькими линиями, либо в виде шкафчика. Потребность гнезд в птичнике – одно на 5–6 несушек. В гнезда укладывают мягкую солому или стружку, которые по мере загрязнения обновляют. У входа в гнездо устраивают порожек, чтобы не терлась подстилка, а перед гнездами устраивают планку для взлета. Яйца из гнезд собирают через каждые 2 часа в период наиболее интенсивной яйцекладки (с 10 до 13 часов), зимой – чаще.


Грелка для цыплят

Для обогрева молодняка птицы в начале выращивания применяют различные нагревательные приборы. Но, к сожалению, многие из них небезопасны: довольно часто бывают случаи возгораний.

Предлагаем смастерить эффективную, дешевую и безопасную грелку для цыплят. Ее можно соорудить за считанные минуты.


Самодельная грелка


Необходимо взять стеклянную литровую банку с полиэтиленовой крышкой. В крышке прорезать отверстие по размеру резьбы электропатрона. Патрон нужно раскрутить и между верхней и нижней его частями вставить крышку, а затем снова его скрутить. Затем нужно ввинтить лампочку на 15–25 Вт, накрыть крышкой с лампой банку и включить в сеть.


Лазы

Для выхода птицы из помещения в выгульный дворик устраиваются лазы на высоте 5–8 см от пола размерами 40x40 см. В приусадебных хозяйствах достаточно одного лаза, для фермерских хозяйств – 1 на 125 голов. Снаружи лазы оборудуют дверцами.


Зольно-песочные ванны

Для песочно-зольных ванн устраивают произвольных размеров ящик из металла или дерева высотой не более 20 см. В него засыпают сухие песок и золу в равных количествах. Пользование такими ваннами способствует изгнанию эктопаразитов с тела птицы.


Вольеры

Около птичника с южной стороны оборудуют легкого вида солярий (выгул), огороженный оцинкованной сеткой высотой 1,8–2 м. Сверху устраивают теневые навесы. Площадь выгульного дворика должна составлять не менее половины площади птичника. Иногда в выгуле оборудуют насесты. При огораживании соляриев желательно натянуть поверху сетку, препятствующую залету свободно живущей птицы, которая может быть источником инфекции.


Инструменты для уборки помещений

Применяются в основном в малых птичниках, где сложно организовать механизированную уборку. Это скребки, вилы, лопаты, грабли, метлы.

Системы содержания кур

Существуют две системы содержания кур: выгульная и безвыгульная. При выгульной системе куры располагаются в птичнике на насестах или на сетчатых (планчатых) полах с использованием ограниченных (вольеров) или неогражденных выгулов.

При безвыгульном содержании птица постоянно содержится в закрытых помещениях: в клетках, на полу с глубокой несменяемой подстилкой или без нее – на сетчатых или планчатых полах.

Напольное содержание с использованием выгулов дает возможность птице постоянно находиться в активном движении, подвергаться ультрафиолетовому облучению солнечными лучами, вдыхать свежий воздух. Все это обеспечивает нормальный обмен веществ в организме, укрепляет здоровье, способствует устойчивости к заболеваниям, продлевает хозяйственные сроки использования птицы. Кроме того, от птицы, пользующейся выгулами, получают продукцию более высокого качества. Яйца такой птицы отличаются более полным содержанием комплекса витаминов, имеют хорошие инкубационные качества; из них получают кондиционный суточный молодняк с высокими жизненными задатками: он лучше сохраняется и развивается.

Более интенсивным способом содержания кур считается клеточное: в три-четыре раза увеличивается уровень использования производственных помещений; полнее выдерживаются санитарно-гигиенические требования, что позволяет получать чистое яйцо. Облегчается и упрощается уход за птицей и контроль за ее состоянием: ее легко можно достать из клетки и осмотреть. Клеточное содержание требует меньших затрат кормов на производство яиц и получение привесов.

Но такое содержание имеет и свои отрицательные стороны: из-за ограниченных возможностей двигаться укорачиваются сроки продуктивного использования птицы, снижается устойчивость к воздействиям окружающей среды, птица чаще подвергается стрессовым факторам.

Ваша оценка очень важна

0
Шрифт
Фон

Помогите Вашим друзьям узнать о библиотеке

Скачать книгу

Если нет возможности читать онлайн, скачайте книгу файлом для электронной книжки и читайте офлайн.

fb2.zip txt txt.zip rtf.zip a4.pdf a6.pdf mobi.prc epub ios.epub fb3