Барятинский Михаил Борисович - СРЕДНИЙ ТАНК PZ.IV. «Рабочая лошадка» Панцерваффе стр 8.

Шрифт
Фон
Сравнительные размеры двух выстрелов: противотанковой пушки PaK 40 (слева) и танковой KwK 40. Вопреки расхожему мнению они не взаимозаменяемы.Двигатель Maybach HL 108TR.

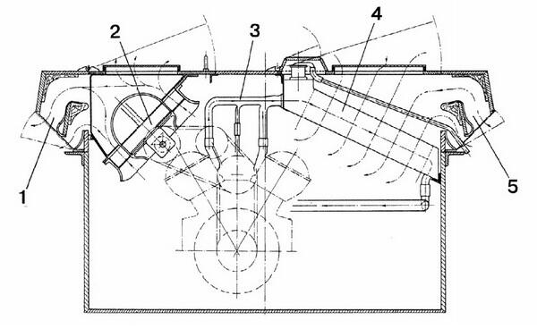
Схема охлаждения двигателя Maybach HL 120TRM:

КОНЕЦ ОЗНАКОМИТЕЛЬНОГО ОТРЫВКА

Таблица составлена на основе немецких источников.


Система охлаждения жидкостная, с одним радиатором, расположенным наклонно с левой стороны двигателя. С правой стороны двигателя находились два вентилятора.

С правой стороны от двигателя был установлен двигатель DKW PZW 600 (Ausf.A E) или ZW 500 (Ausf.E H) механизма поворота башни мощностью 11 л.с. и рабочим объемом 585 см3. Топливом служила смесь бензина и масла, емкость топливного бака 18 л.

Сравнительные размеры двух выстрелов: противотанковой пушки PaK 40 (слева) и танковой KwK 40. Вопреки расхожему мнению они не взаимозаменяемы.Двигатель Maybach HL 108TR.

Схема охлаждения двигателя Maybach HL 120TRM:

1 окна воздуховывода; 2 откидной блок вентиляторов; 3 трубопроводы системы охлаждения; 4 радиатор; 5 окна воздухопритока.


Трансмиссия состояла из карданной передачи, трехдискового главного фрикциона сухого трения, коробки передач, планетарного механизма поворота, бортовых передач и тормозов.

Пятискоростная коробка передач Zahnradfabrik SFG75 (Ausf.A) и шестискоростные SSG76 (Ausf.B G) и SSG77(Ausf.H и J)  трехвальные, с соосным расположением ведущего и ведомого валов, с пружинными дисковыми синхронизаторами.

ХОДОВАЯ ЧАСТЬ танка применительно к одному борту состояла из восьми сдвоенных обрезиненных опорных катков диаметром 470 мм, сблокированных попарно в четыре балансирные тележки, подвешенные на четвертьэллиптических листовых рессорах; четырех (у части Ausf.J трех) сдвоенных обрезиненных (кроме Ausf.J и части Ausf.H) поддерживающих катков.

Ведущие колеса переднего расположения имели два съемных зубчатых венца по 20 зубьев каждый. Зацепление цевочное.

Гусеницы стальные, мелкозвенчатые, из 101 (начиная с варианта F1 99) одногребневого трака каждая. Ширина гусеницы 360 мм (до варианта Е), а затем 400 мм.

Такое направляющее колесо использовалось на танках модификаций от F1 до H (вверху), а такое на машинах модификации J (внизу).

ЭЛЕКТРООБОРУДОВАНИЕ было выполнено по однопроводной схеме. Напряжение 12 В. Источники: генератор Bosch GTLN 600/12-1500 мощностью 0,6 кВт (у Ausf.A два генератора Bosch GQL300/12 мощностью по 300 кВт каждый), четыре аккумулятора Bosch емкостью 105 А*ч. Потребители: электростартер Bosch BPD 4/24 мощностью 2,9 кВт (у Ausf.A два стартера), система зажигания, башенный вентилятор, контрольные приборы, подсветка прицелов, приборы звуковой и световой сигнализации, аппаратура внутреннего и внешнего освещения, звуковой сигнал, спуски пушки и пулеметов.


* 3192 мм с гусеницами Ostkette и 3330 мм с бортовыми экранами.


СРЕДСТВА СВЯЗИ. Все танки Pz.IV оснащались радиостанцией Fu 5, с дальностью действия 6,4 км телефоном и 9,4 км телеграфом.



БОЕВОЕ ПРИМЕНЕНИЕ

Первые три танка Panzer IV поступили в Вермахт в январе 1938 года. Общий заказ на боевые машины этого типа включал 709 единиц. План же на 1938 год предусматривал поставку 116 танков, и фирма Krupp-Gruson почти выполнила его, передав войскам 113 машин. Первыми «боевыми» операциями с участием Pz.IV стали аншлюсс Австрии и захват Судетской области Чехословакии в 1938 году. В марте 1939 года они прошли по улицам Праги.

Накануне вторжения в Польшу 1 сентября 1939 года в Вермахте насчитывалось 211 танков Pz.IV модификаций А, В и С. По действовавшему тогда штату в танковой дивизии должны были состоять 24 танка Pz.IV, по 12 машин в каждом полку. Однако до полного штата были укомплектованы лишь 1-й и 2-й танковые полки 1-й танковой дивизии (1. Panzer Division). Полный штат имел и Учебный танковый батальон (Panzer-Lehr-Abteilung), приданный 3-й танковой дивизии. В остальных соединениях числилось лишь по нескольку Pz.IV, которые по вооружению и броневой защите превосходили все типы противостоящих им польских танков. Однако 37-мм танковые и противотанковые пушки поляков представляли для немцев серьезную опасность. Например, во время боя у Гловачува польские 7ТР подбили два Pz.IV. Всего же за время польского похода немцы потеряли 76 танков этого типа, из них 19 безвозвратно.

К началу французской кампании 10 мая 1940 года Панцерваффе располагали уже 290 Pz.IV и 20 мостоукладчиками на их базе. В основном они были сконцентрированы в дивизиях, действовавших на направлениях главных ударов. В 7-й танковой дивизии генерала Роммеля, например, насчитывалось 36 Pz.IV. Их равноценными противниками были средние французские танки Somua S35 и английские «Матильда II». Не без шанса на победу могли вступать в бой с Pz.IV и французские В1bis и D2. В ходе боев французам и англичанам удалось подбить 97 танков Pz.IV. Безвозвратные же потери немцев составили всего 30 боевых машин этого типа.

КОНЕЦ ОЗНАКОМИТЕЛЬНОГО ОТРЫВКА

К началу французской кампании 10 мая 1940 года Панцерваффе располагали уже 290 Pz.IV и 20 мостоукладчиками на их базе. В основном они были сконцентрированы в дивизиях, действовавших на направлениях главных ударов. В 7-й танковой дивизии генерала Роммеля, например, насчитывалось 36 Pz.IV. Их равноценными противниками были средние французские танки Somua S35 и английские «Матильда II». Не без шанса на победу могли вступать в бой с Pz.IV и французские В1bis и D2. В ходе боев французам и англичанам удалось подбить 97 танков Pz.IV. Безвозвратные же потери немцев составили всего 30 боевых машин этого типа.

Ваша оценка очень важна

0
Шрифт
Фон

Помогите Вашим друзьям узнать о библиотеке