Барятинский Михаил Борисович - СРЕДНИЙ ТАНК PZ.IV. «Рабочая лошадка» Панцерваффе стр 6.

Шрифт
Фон

Первой Pz.IV получила наиболее верная союзница гитлеровской Германии Венгрия. В мае 1942 года туда прибыли 22 танка Ausf.F1, в сентябре 10 F2. Наиболее крупная партия была доставлена осенью 1944 весной 1945-го; по разным данным, от 42 до 72 машин модификации H и J. Расхождение получилось потому, что в некоторых источниках подвергается сомнению факт поставки танков в 1945 году.

В октябре 1942-го первые 11 Pz.IV Ausf.G поступили в Румынию. В дальнейшем, в 19431944 годах, румыны получили еще 131 танк этого типа. Они использовались в боевых действиях как против Красной Армии, так и против Вермахта, после перехода Румынии на сторону антигитлеровской коалиции.

Pz.IV Ausf.J финской армии. Обращают на себя внимание курсовой пулемет ДТ вместо MG 34 и ящик ЗИП, заимствованный у Т-26, на левой надгусеничной полке.

Партия из 97 танков Ausf.G и Н в период с сентября 1943 по февраль 1944 года была отправлена в Болгарию. На основе этой техники была развернута единственная болгарская танковая бригада. Немцы настаивали на отправке болгарских войск на Восточный фронт, но болгарский царь Борис III ответил отказом. Вскоре после его внезапной смерти прогерманское правительство было свергнуто Отечественным фронтом. 11 сентября 1944 года Болгария объявила войну Германии. С 15 сентября 1944-го болгарская танковая бригада принимала активное участие в боях с немецкими войсками в Сербии. В 1945 году в состав 1-й болгарской армии, воевавшей в Венгрии в оперативном подчинении 3-го Украинского фронта, был включен танковый батальон из 22 танков Pz.IV и трех штурмовых орудий. В ходе боев потери батальона восполнялись за счет трофейных боевых машин. В 1950 году в болгарской армии еще числилось 11 боевых машин этого типа.

КОНЕЦ ОЗНАКОМИТЕЛЬНОГО ОТРЫВКА

В 1943 году несколько танков Ausf.F1 и G получила Хорватия; в 1944-м 14 Ausf.J Финляндия, где их использовали до начала 60-х годов. При этом штатные пулеметы MG 34 с танков были сняты, а вместо них установлены советские ДТ.



ОПИСАНИЕ КОНСТРУКЦИИ

КОМПОНОВКА ТАНКА классическая, с передним расположением трансмиссии. Отделение управления находилось в передней части боевой машины.

В нем размещались главный фрикцион, коробка передач, механизм поворота, органы управления, контрольные приборы, курсовой пулемет (за исключением модификаций B и C), радиостанция и рабочие места двух членов экипажа механика-водителя и стрелка-радиста.

Боевое отделение располагалось в средней части танка. Здесь находились (в башне) пушка и пулемет, приборы наблюдения и прицеливания, механизмы вертикальной и горизонтальной наводки и сиденья командира танка, наводчика и заряжающего. Боекомплект размещался частично в башне, частично в корпусе.

В моторном отделении, в кормовой части танка, находились двигатель и все его системы, а также вспомогательный двигатель механизма поворота башни.

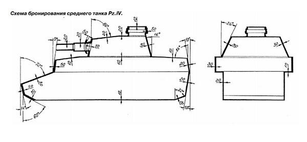
КОРПУС танка сваривался из катаных броневых листов с поверхностной цементацией, в основном расположенных под прямыми углами по отношению друг к другу.

В передней части крыши подбашенной коробки имелись люки-лазы механика-водителя и стрелка-радиста, которые закрывались прямоугольными крышками, откидывающимися на петлях. У модификации А крышки двустворчатые, у остальных одностворчатые. В каждой крышке был предусмотрен лючок для запуска сигнальных ракет (за исключением вариантов H и J).

В лобовом листе корпуса слева находился смотровой прибор механика-водителя, который включал в себя стеклоблок триплекс, закрываемый массивной броневой сдвижной или откидной заслонкой Sehklappe 30 или 50 (в зависимости от толщины лобовой брони), и бинокулярный перископический прибор наблюдения KFF 2 (у Ausf.A KFF 1). Последний при отсутствии в нем надобности сдвигался вправо, и механик-водитель мог вести наблюдение через стеклоблок. У модификаций B, C, D, H и J перископический прибор отсутствовал.

По бортам отделения управления, слева от механика-водителя и справа от стрелка-радиста, имелись смотровые приборы триплекс, закрываемые откидными бронекрышками.

Компоновка танка Pz.IV:

1 башня; 2 командирская башенка; 3 ящик для снаряжения; 4 вращающийся полик боевого отделения; 5 вентиляторы; 6 двигатель; 7 шкив привода вентиляторов; 8 выхлопной коллектор; 9 глушитель двигателя поворота башни; 10 глушитель; 11 направляющее колесо; 12 тележка подвески; 13 карданный вал; 14 коробка передач; 15 кулиса переключения передач; 16 ведущее колесо.


Между кормовой частью корпуса и боевым отделением находилась перегородка. В крыше моторного отделения имелись два люка, закрытых откидными крышками. Начиная с Ausf.F1 крышки оборудовались жалюзи. В обратном скосе левого борта было окно воздухопритока к радиатору, а в обратном скосе правого борта окно воздухооттока от вентиляторов.

БАШНЯ сварная, шестигранная, установлена на шариковой опоре на подбашенном листе корпуса. В ее передней части в маске располагались пушка, спаренный пулемет и прицел. Слева и справа от маски имелись лючки для наблюдения со стеклами триплекс. Лючки закрывались наружными броневыми заслонками изнутри башни. Начиная с модификации G, лючок справа от пушки отсутствовал.

Ваша оценка очень важна

0
Шрифт
Фон

Помогите Вашим друзьям узнать о библиотеке