Евгений Викторович Колосов - Инженерные системы для дачного участка стр 5.

Книгу можно купить на ЛитРес.
Всего за 399 руб. Купить полную версию
Шрифт
Фон

выложить стенки кирпичом;

создать глиняный замок, т. е. промежутки между коробом и грунтом замазать мятой жирной глиной слоем не менее 20 см и уплотнить;

для предупреждения размывания замазки заделать ее плитняком или засыпать щебнем (гравием);

покрыть дно колодца промытым крупным речным песком, гравием или щебнем, насыпав их слоем 1015 см;

выполнить в резервуаре сливное отверстие. Это условие относится к обязательным и объясняется тем, что при его отсутствии под воздействием давления массы воды она начнет искать другой выход и, обнаружив его, будет либо сливать туда избыток воды, либо вообще перестанет наполнять резервуар;

закрепить в коробе лоток, с которого можно будет набирать воду, не загрязняя проточную струю тарой;

поместить на горловину резервуара крышку для защиты его от попадания пыли, мусора, насекомых и пр.;

выполнить отмостку вокруг каптажной камеры, по которой будут стекать атмосферные осадки, минуя резервуар. Прежде чем положить кирпич, бетон или другое покрытие, следует сделать глиняный замок из мятой жирной глины;

обнести колодец ограждением, расположив его на расстоянии 34 м от колодца (если есть возможность, построить вокруг колодца павильон);

выкопать канаву для вытекающей из колодца воды. Она должна иметь такую глубину, чтобы вода не переливалась через край и не перенасыщала окружающий грунт. Необходимо предупредить размывание канавы, для чего надо укрепить ее глиняным замком, поверх которого уложить плитняк или другой материал.


Рисунок 3. Ключевой колодец восходящего типа (размеры указаны в миллиметрах): 1) перекрытие; 2) слой гидроизоляции; 3) ходовые скобы; 4) кирпичная кладка; 5) вентиляционная труба; 6) переливная труба; 7) водозаборная труба; 8) вентиль; 9) фильтр; 10) обратный гравийный фильтр; 11) бетонное кольцо


Материал резервуара для нисходящего колодца (рис. 4) может быть любым, но обязательное условие его дно должно быть выполнено из дерева, кирпича или бетона, чтобы устранить контакт между грунтом и прибывающей из источника водой.

Для теплоизоляции колодца или скважины на зиму допускается использовать натуральные материалы (опилки, стружку и др.). Применение пенополистирола, стекловаты и других синтетических утеплителей запрещается. При этом ни те, ни другие не должны попасть в воду.

В остальном устройство нисходящего колодца практически не отличается от описанного выше, да и принцип забора воды сохраняется, с той лишь разницей, что в колодце нисходящего типа вода попадает в резервуар не снизу, как в восходящем колодце, а со стороны боковой стенки. Поскольку она может быть загрязнена частицами грунта, то возникает необходимость ее фильтрации. Для этого поперек водоносного слоя следует устроить дренажную стенку из щебня, гравия или чистого речного песка, а также разделить короб на две части, возведя поперек тока воды перегородку из любого подручного материала. Вода поступает в первое отделение (назовем его приемным), отстаивается и, достигнув верха перегородки, переливается во второе отделение, оттуда течет по сливному отверстию и через переливную трубу поступает в водоотводную канаву.


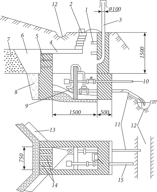
Рисунок 4. Ключевой колодец нисходящего типа (размеры указаны в миллиметрах): 1) ходовые скобы; 2) кирпичная кладка; 3) вентиляционная труба; 4) перекрытие; 5, 14) дренаж; 6) гравийный фильтр; 7) водоносный горизонт; 8) глиняный замок; 9) сливная воронка; 10, 15) водозаборная труба; 11) переливная труба; 12) водоотводная канава; 13) открылки


Каптажную камеру следует регулярно осматривать, устранять дефекты, очищать, а на зиму утеплять.

2. Другой достаточно простой и дешевый способ выкопать колодец, глубина которого обычно достигает 1015 м. Но надо помнить, что колодец обеспечит примерно 200 л воды в час, после чего должно пройти время, чтобы он снова наполнился. Такого количества воды достаточно для бытовых нужд (приготовления пищи, мытья посуды) и полива огородных грядок, причем эти действия не могут совершаться одновременно. Кроме того, прежде чем использовать колодезную воду для питья, ее следует отдать на химический и бактериологический анализ, чтобы убедиться в том, что она не содержит опасных веществ, например солей тяжелых металлов и иного, а также болезнетворных микроорганизмов (к слову сказать, подобные анализы необходимо проводить регулярно).

Ваша оценка очень важна

0
Шрифт
Фон

Помогите Вашим друзьям узнать о библиотеке

Скачать книгу

Если нет возможности читать онлайн, скачайте книгу файлом для электронной книжки и читайте офлайн.

fb2.zip txt txt.zip rtf.zip a4.pdf a6.pdf mobi.prc epub ios.epub fb3