Евгений Викторович Колосов - Инженерные системы для дачного участка стр 2.

Книгу можно купить на ЛитРес.
Всего за 399 руб. Купить полную версию
Шрифт
Фон

Всем этим вопросам (понятно, что мы не претендуем на всеохватность материала) мы и уделим внимание в нашей книге в надежде, что она поможет читателям хотя бы частично разрешить проблему благоустройства их дома.

Водоснабжение и канализация

Система холодного водоснабжения дома и участка


Давно канули в Лету времена, когда человек довольствовался водой, набранной из любого источника. Сейчас это неприемлемо, более того, небезопасно, поскольку экологическая среда, окружающая нас, уже давно не такая благоприятная, как в далеком прошлом, когда люди могли себе позволить напиться воды из ближайшего водоема. Кроме того, практически невозможно найти человека, который в любую погоду будет с удовольствием таскать воду в ведрах (заметим, что и выносить придется такое же количество), и хорошо, если из расположенных неподалеку колодца или колонки. Сейчас мы хотим подойти к крану на кухне или в ванной, повернуть вентиль и услышать шум водной струи, которая изливается из трубы, подведенной в жилище; предпочитаем не бегать с лейкой по участку, поливая любимые растения, а воспользоваться шлангом, из которого течет чистая прохладная вода. Одним словом, нам необходимо решить задачу водоснабжения дома и участка, для которого выбор источника в значительной степени зависит от самой системы и наличия в ней определенных сооружений. Все это в совокупности определит, во сколько обойдутся строительство и последующая ее эксплуатация.

Тут перед нами вырисовывается альтернатива подключиться к централизованной системе во до снабжения, если такова имеется в районе расположения дома, или создать собственную, децентрализованную систему водоснабжения. Независимо от принятого решения, сначала необходимо оформить соответствующие разрешения, после чего приступать к работам. Но в первом случае все ограничится рытьем траншеи и подключением к системе с тем, чтобы завести водопровод в дом, после чего можно будет приступать к установке сантехники и прочего оборудования.

Поскольку возможен и такой вариант решения проблемы водоснабжения, уделим внимание и ему.

Система водоснабжения в условиях централизованной системы включает наружный ввод, прокладку трубопровода, установку сантехнического оборудования и арматуру. Перед осуществлением ввода в уличную водопроводную сеть следует обратиться в соответствующие организации за разрешением и техническими условиями подключения (в последних представлена информация о месте и схеме присоединения, указывается глубина заложения трубопровода (на 50 см ниже глубины промерзания) и другие сведения). Диаметр наружного ввода и трубопровода внутренней системы определяется материалом труб (для стальных и пластмассовых он составляет, как минимум, 20 мм; для чугунных 50 мм), количеством приборов, предполагаемых к подключению, а также наличием или отсутствием летнего водопровода.

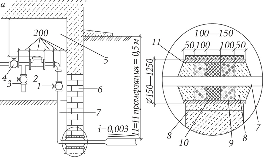
Если дом оборудован подвалом, то ввод осуществляют через его стену, если он отсутствует то через фундамент посредством канала большего диаметра, чем трубы. Отверстия в нем изолируют водонепроницаемым материалом, для чего используют, например, паклю, жирную глину и цементный раствор. Устройство ввода показано на рисунке 1.


Рисунок 1. Схема водопроводного ввода (размеры указаны в миллиметрах): а индивидуальный дом; 1, 4) вентиль; 2) водомер; 3) сливной кран; 5) подвал; 6) фундамент; 7) трубопровод ввода; 8) цементный раствор; 9) пакля; 10) жирная глина; 11) канал


Рисунок 1. Схема водопроводного ввода (размеры указаны в миллиметрах) (окончание): б уличный водоразборный колодец; 4) вентиль; 3) сливной кран; 7) трубопровод ввода; 8) цементный раствор; 9) пакля; 10) жирная глина; 11) канал 12) отмостка; 13) люк; 14) скобы; 15) бетонное кольцо; 16) глиняный замок; 17) заземление; 18) труба уличного ввода; 19) прокладка; 20) сварка; 21) хомут


Во втором случае предстоит найти и оборудовать источник, который снабдит дом и участок свежей водой. Он должен удовлетворять целому ряду требований, в частности обеспечивать:

необходимое количество воды, причем с учетом возрастания объемов ее потребления;

бесперебойную подачу воды;

воду определенного качества (последнее должно соответствовать нуждам потребителя или достигаться посредством очистки, причем не требующей высоких как трудовых, так и материальных затрат);

Ваша оценка очень важна

0
Шрифт
Фон

Помогите Вашим друзьям узнать о библиотеке

Скачать книгу

Если нет возможности читать онлайн, скачайте книгу файлом для электронной книжки и читайте офлайн.

fb2.zip txt txt.zip rtf.zip a4.pdf a6.pdf mobi.prc epub ios.epub fb3