Тожибой Мирзамахмудович Мирзамахмудов - Электроника асослари. Ўқув қўлланма стр 9.

Шрифт
Фон

2.9-расмда ярим ўтказгичли диоднинг тўлиқ волpт-ампер тавсифномаси кўрсатилган.


2.9  расм. Ярим ўтказгич диоднинг тўлиқ вольт-ампер тавсифномаси.


Унда 1-чизиқ иссиқлик бузилиш, 2-чизиқ эса электр бузилишини кўрсатади. Контакт сохасининг кенгилигига қараб ярим ўтказгичли диодлар нуқтавий ва ясси диодларга ажратилади. Биз танишган диодлар ясси диодлардир. Улардан тўғри токнинг катталиги контакт юзаси кенглигига боғлиқ бўлиб, қиймати бир неча миллиампердан бир неча юз ампергача етади.

Нуқтавий диодларнинг контакт юзаси жуда кичик бўлади. Улар нуқта контактли пайвандлаш йўли билан хосил қилинади. Нуқтавий диодларнинг ясси диодлардан афзаллиги шундаки, уларнинг р-n ўтиш сиғими жуда кичик бўлади. Шунинг учун уларни юқори частотали қурилмаларда ишлатиш мумкин.

Хозирги пайтда инфрақизил, улpтрабинафша ва кўринувчи нурлар спекторини сезувчи оптоэлектрон диодлар катта қизиқиш уйғотмоқда.

2.10  расмда диодларнинг схемадаги шартли белгиланиши келтирилган.


2.10  расм. Ярим ўтказгич диодларининг схемадаги шартли белгиланиши. 1  диод, 2  туннелли диоди, 3  стабилитрон, 4  варикап.


ГОСТ 1086272 га мувофиқ, диодлар қуйидагича маркаланади. Биринчи элемент харф ёки рақам бўлиб фойдаланилган ярим ўтказгич материални билдиради. Г ёки I  германий; К ёки 2  кремний; А ёки 3  галлий арсенид. Иккинчи элемент (харф) диодларнинг классини кўрсатади.

Ц  тўғрилагич устунчалари; С  стабилитронлар; В  варикаплар;

И  туннелли диод; А  ёруғлик диодлари; ОД  оптронлар ва хоказо.

Учинчи элемент (сон) диоднинг хусусиятини аниқлайди. Тўртинчи ва бешинчи элементлар (сонлар) диодларнинг технологик ишлаб чиқариш тартибини (0,1 дан 99 гача) белгилайди. Олтинчи элемент (харф) диоднинг параметрик группасини аниқлайди (параметрлар махлумотномалардан олинади). Масалан: «Г Д 10 7 А» қуйидагича тушунтирилади: германий кристаллидан тайёрланган (Г) ярим- ўтказгичли нуқтавий (Д), кичик қувватли (I), 7 ишлаб чиқаришда (07), «А» группа (тўғри ток £ 0,02 А, тўғри кучланиш IB, тескари ток £ 0,02 тескари кучланиш £ I5B) га хос диод.

«3 0 Д I 0 I А»  арсенид галлий ярим ўтказгичли материалидан тайёрланган оптрон жуфтли диод, биринчи ишлаб чиқарилиши, параметрик группаси «А» (ўтказиш коэффициенти I%, кириш кучланиши  1,5В) ва х.з.

ТЎҒРИЛАГИЧ ДИОДЛАРИ ВА УСТУНЧАЛАР

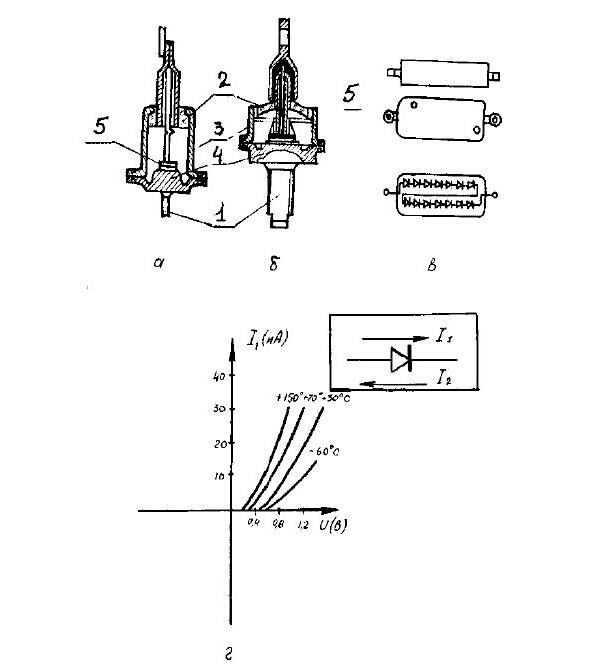
Турли тўғрилагич схемаларида ясси юзали диодлар ишлатилади. Бунинг учун қотишма ёки диффузион технология усули билан олинган ясси юзали кремний диодлари, тўғрилагич устунчалари кенг ишлатилади. Диодлар хаммаси катта юзали «р  n» ўтишга эга бўлиб, тўғри йўналишда катта (50А гача бўлган) токларни ўтказиш хусусиятига эга. Тўғрилагич устунчалари кетма  кет уланган бир хил турли диодлардан иборат бўлиб, пластмасса корпусга жойлаштирилади. Устунчалар катта (15000B гача) тескари кучланишга мўлжалланган бўлиб, электрон асбобларнинг юқори кучланишли блокларида кенг қўлланилади. 2.11-расмда кремний асосли ясси юзали тўғрилагич диодлари ва устунчаларининг (В) тузилиши, вольт  ампер тавсифномаси (ВАТ) оиласининг хароратга боғликлиги кўрсатилган. Бундай диодларнинг асосий параметрлари бўлиб қуйидагилар хисобланади:

1. Максимал рухсат этилган тўғри ток. I мах (А);

2. Тўғри кучланиш U туг (В);

3. Берилган тескари кучланишдаги тескари ток. I тек, (мкА);

4. Рухсат этилган максимал тескари кучланиш. U текс (В);

5. Ишчи диапазон харорати Т, (0К).

Стабилитронлар  диодларга электр бузилишларининг қайтар бўлиши катта амалий ахамиятга эга. Чунки бунда тескари токнинг бирор кичик қийматдан бошлаб диоддаги потенциал тушувчи токка боғлиқ бўлмай қолади. Ярим ўтказгичли диоднинг бу хусусиятидан кучланишни стабилизацияловчи элемент сифатида ишлатиш имконини беради. Бундай ярим ўтказгичли диодлар стабилитронлар деб аталади.


2.11 расм. Тўғрилагич диодлар ва устунчалар: а  кавшарланган кам қувватли кремнийли диод: 1  чиқиқ, 2  шиша изолятор, 3  корпус, 4  кристалл тутқич, 5  алюминий сим, 6- кристалл, 7- кавшар; б  қувватли тўғрилагич диоди: 1  чиқиқлар, 5  ковшар, 6  кристалл тутқич; в  тўғрилагич. устунча, г-кремний ясси тўғрилагич диодларининг иш харароти бўйича ВАТси.


Стабилитрон кучсимон ёриб ўтиш ходисасига асосланиб ишлайди. Стабилитрон қўйилган тескари йўналишдаги кучланиш орттириб борилса, диоддан ўтадиган тескари ток миқдори жуда кичик бўлганлигидан, схеманинг чиқишида кучланиш хам ортиб боради. Кучланиш миқдори кучсимон ёриб ўтиш миқдрорига ётганда диоддан ўтаётган ток кескин ортиб кетади. Чиқиш кучланиши эса бир оз камаяди.

Ваша оценка очень важна

0
Шрифт
Фон

Помогите Вашим друзьям узнать о библиотеке

Скачать книгу

Если нет возможности читать онлайн, скачайте книгу файлом для электронной книжки и читайте офлайн.

fb2.zip txt txt.zip rtf.zip a4.pdf a6.pdf mobi.prc epub ios.epub fb3