Олег Дерябин - Средства преодоления водных преград. Книга 1. Красная Армия стр 20.

Шрифт
Фон

Из комплекта парка собирались наплавные мосты грузоподъемностью 6 и 14 т и перевозные паромы 6, 9 и 14 т.

Все мосты, в отличие от МдПА-3, имели неразрезную систему. Промежуточных жестких (козловых) опор в парке не было. Для сопряжения моста с берегом устраивались жесткие опоры из бревен.


Отличия парка УВС-А3 от МдПА-3 и МПА-3


Парк УВС-А3 отличался от парков МПА-3 и МдПА-3 упрощенной конструкцией верхнего строения, элементы которого могли изготавливаться силами войск. Лодка А-3 с принадлежностями остались без изменений.

Наплавные мосты в отличие от парка МдПА-3 имели только неразрезную систему и наводились попаромно или полодочно.


Характеристика парка УВС-А3


Собираемые из имущества парка мосты имели грузоводъемность 6 и 14 т., паромы 6, 9 и 14 т.

Характеристика паромов собираемых из УВС-А3

6-т перевозной паром:

 количество паромов  10;

 длина парома  7.85 м;

 количество лодок в пароме  2.

9-т перевозной паром:

 количество паромов  6;

 длина парома  11.5 м;



 количество лодок в пароме  3.

14-т перевозной паром:

 количество паромов  4;

 длина парома  16.6 м;

 количество лодок в пароме  5.

Характеристика мостов собираемых из УВС-А3

6-т мост:

 система моста  неразрезная;

 длина моста на плавучих опорах  110.7 м;

 длина моста с береговыми опорами  113.6 м;

 грузоподъемность  6 т;

 максимальное давление на ось  3 т;

 ширина проезжей части  3 м.

14-т мост:

 система моста  неразрезная;

 длина моста на плавучих опорах  67.4 м;

 длина моста с береговыми опорами  79.8 м;

 грузоподъемность  14 т;

 максимальное давление на ось  7.5 т;

 ширина проезжей части  3 м.

Длина моста с береговыми частями указана с двумя промежуточнми опорами.


Состав материальной части парка УВС-А3


Материальная часть парка УВС-А3 включала:

 лодки А-3 с принадлежностями;

 упрощенное верхнее строение.

Упрощенное верхнее строение включало:

 лежни;

 прогоны;

 доски настилочные;

 доски подкладочные;

 хомуты стыковые;

 болты стыковых хомутов с гайками;

 хомуты пажильные;

 болты пажильных хомутов с гайками;;

 клинья пажильные;

 стойки перильные;

 штыри съемные.




Требования к изготовлению материальной части


Для изготовления прогонов, лежней, досок, перильных стоек и закрутней использовалась сосновая древесина первого и второго сортов (ОСТ 7099 и ОСТ 8142). Разрешалось использование ели и пихты. Не допускалась гниль, червоточина, свилеватость и рыхлые сучки. Здоровые суки допускались диаметром не более 5 см, с расстоянием между сучками не более 30 см. Сучки (здоровые) диаметром не более 1,5 см не учитывались. Трещины допускались глубиной не более одно трети толщины доски (бруса) и длиной не более одной трети длины детали верхнего строения. Влажность древесины допускалась не более 30 процентов.

Лежни и прогоны изготавливались из сплоченных досок толщиной 5 см или из целых брусьев.

Металлические поковки изготавливались из стали марок 1, 2 и 3.


Материальная часть парка УВС-А3


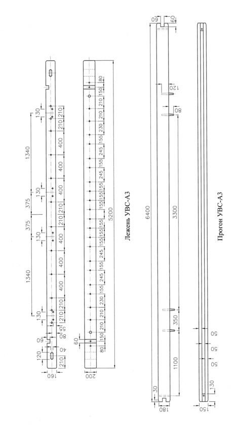
Лежни УВС-А3 служили для распределения давления от нагрузки на лодку и крепления прогонов, они также использовались для снаряжения лодок при десантной переправе и в качестве береговых лежней.

Прогоны (брусья) служили для перекрытия пролетов на который укладывался настил. Кроме того прогоны использовались в качестве колесоотбойных брусьев (пажилин).






Настилочная доска образовывала настил, а также служила шаблоном при укладке лежней на борт лодок.

Подкладочная доска укладывалась на нос и корму лодок под лежни. Так же она применялась при стыковке паромов, с этой целью один конец у нее стесан.

Стыковой хомут предназначался для защемления концов прогонов, укладываемых в переплет между лежнем и настилочными досками, чем создавалась неразрезность прогонов по длине моста. Пажильный хомут с болтом служил для запажиливания настила для создания неразрезного верхнего стоения.

Ваша оценка очень важна

0
Шрифт
Фон

Помогите Вашим друзьям узнать о библиотеке

Скачать книгу

Если нет возможности читать онлайн, скачайте книгу файлом для электронной книжки и читайте офлайн.

fb2.zip txt txt.zip rtf.zip a4.pdf a6.pdf mobi.prc epub ios.epub fb3