Константин Викторович Молодюк - Государство и рынок электроэнергии стр 8.

Шрифт
Фон

длительные сроки строительства и, как следствие, окупаемости электростанций. Максимальный срок окупаемости, на который соглашаются частные инвесторы, составляет 5 7 лет. Строительство же новой электростанции до полного ее пуска в эксплуатацию составляет 10 12 лет;

высокие риски вложения капитала в России вследствие нестабильности экономики страны, испытывающей частые кризисы.


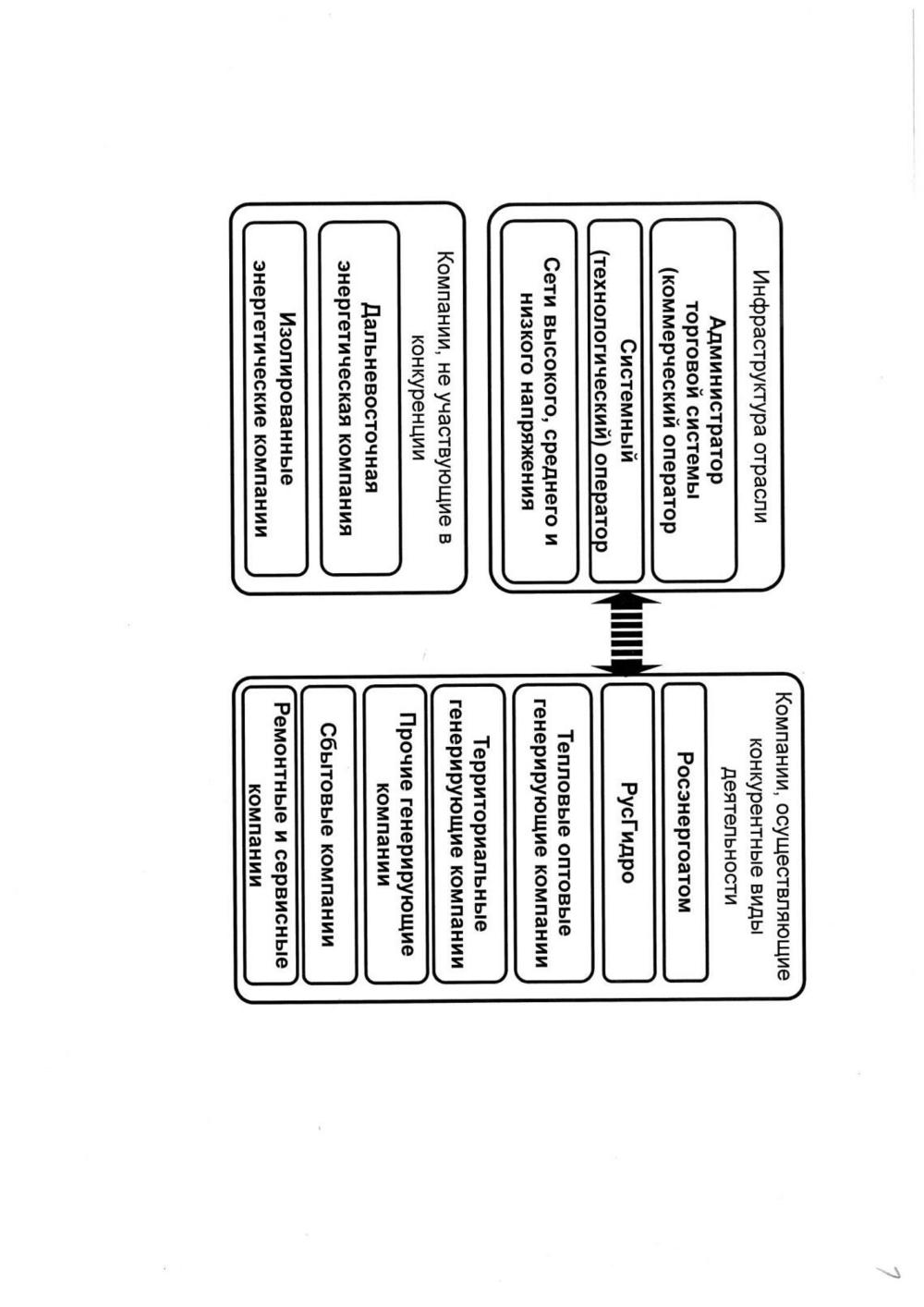
1.2. Современная структура электроэнергетики России


Производственную основу российской электроэнергетики сейчас составляют более 700 электростанций общей мощностью 245,8 млн кВт и ЛЭП протяженностью более 2,5 млн км. В структуре генерирующих мощностей электростанций преобладают тепловые электростанции (ТЭС), доля которых в установленной мощности составляет 68 %, атомные (АЭС) 11 % и гидравлические (ГЭС) 21 %. Основная часть мощностей ТЭС Европейской части страны (включая Урал) работают на газе, а в восточной части страны (в Сибири и на Дальнем Востоке) 80 % электростанций потребляют уголь.

Основные показатели работы электроэнергетики представлены в табл. 3.


Таблица      3

Основные показатели работы электроэнергетики России




Самой крупной ТЭС в мире является Сургутская ГРЭС-2 установленной мощностью 4,8 млн кВт, работающая на природном газе. Из электростанций, работающих на угле, наибольшая установленная мощность у Рефтинской ГРЭС (3,8 млн кВт). К крупнейшим российским ТЭС относятся также Сургутская ГРЭС-1 и Костромская ГРЭС, каждая мощностью свыше 3 млн кВт.

Структура электроэнергетики России, обеспечивающая основные виды деятельности, представлена на рис. 1. Производство электроэнергии обеспечивают электростанции, объединенные в генерирующие компании:

оптовые генерирующие компании (ОГК);

территориальные генерирующие компании (ТГК);

ПАО «РусГидро»;

ОАО «Концерн Росэнергоатом»;

ПАО «Интер РАО»;

Дальневосточная энергетическая компания (ПАО «РАО Энергетические системы Востока»);

нереформированные АО-энерго;

прочие генерирующие компании.

Оптовые генерирующие компании. На базе крупных тепловых электростанций создано шесть ОГК, продающих электроэнергию на оптовый рынок. ОГК сформированы по принципу экстерриториальности, т. е. их электростанции не доминируют на территории их расположения, и установленные мощности ОГК примерно равны. Данный принцип формирования обеспечивает снижение возможностей для монопольных злоупотреблений на оптовом рынке электроэнергии.




Рис. 1. Современная структура электроэнергетики России


Данные об установленной мощности ОКГ, состава их электростанций и основных владельцах приведены в табл. 4.

Территориальные генерирующие компании. Создано 15 территориальных генерирующих компаний, обеспечивающих электроэнергией потребителей на обслуживаемой ими территории (табл. 5). В основу создания ТГК положен территориальный принцип, т. е. электростанции ТГК располагаются компактно на территории соседних субъектов Федерации и поставляют электроэнергию в распределительные сети розничного рынка. Так, самая крупная ТГК-3 (она сохранила бренд ПАО «Мосэнерго») обеспечивает выработку электроэнергии на электростанциях, расположенных территории Москвы и Московской области. А, например, ТГК-11 обеспечивает выработку электроэнергии на территории Омской и Томской областей и включает в себя следующие подразделения:

Омский филиал электростанций;

Томский филиал.

ТГК-14 обеспечивает генерацию на территории Республики Бурятия и Забайкальского края.

ТГК-16, расположенное на территории Республики Татарстан, была создана 24 февраля 2010 года последней из всех ТКГ. Ей решено было присвоить порядковый номер 16 в соответствии с кодом субъекта Республики Татарстан в Конституции РФ. Таким образом, ТГК-15 нет совсем.


Таблица 4

Оптовые генерирующие компании России




ПАО «РусГидро»  российская энергетическая компания, крупнейшая российская генерирующая компания по установленной мощности ГЭС. Общая установленная мощность активов компании составляет 38,5 ГВт, включая ПАО «РАО Энергетические системы Востока». Около 67 % акций ПАО «РусГидро» принадлежит государству.


Таблица 5

Территориальные генерирующие компании России

Ваша оценка очень важна

0
Шрифт
Фон

Помогите Вашим друзьям узнать о библиотеке

Скачать книгу

Если нет возможности читать онлайн, скачайте книгу файлом для электронной книжки и читайте офлайн.

fb2.zip txt txt.zip rtf.zip a4.pdf a6.pdf mobi.prc epub ios.epub fb3