Петров Владимир Николаевич - Фотоальбом ТРИЗ. Часть 1. 19261998 стр 2.

Шрифт
Фон

Хронология

1926

15 октября 1926 г. родился Генрих Саулович Альтшуллер в

г. Ташкенте (СССР, Узбекистан).

1931

Семья Альтшуллера переезжает в г. Баку (СССР, Азербайджан).

19421943

Курсант морской спецшколы

1943

Первое авторское свидетельство (а. с.) Г. С. Альтшуллера и Р. Б. Шапиро 6 756. Заявлено 9 ноября 1943 г.

Авторы: Альтшуллер Г. С., Шапиро Р. Б., Тольянский И. Б.


1947



А. с. Г. С. Альтшуллера и Р. Б. Шапиро 71 289.

Заявлено 03.06.1947. Опубликовано: 01.01.1948

Способ и устройство для получения кислорода из воздуха.




А. с. 71 289

1948

А. с. Г. С. Альтшуллера и Р. Б. Шапиро 84 460


Заявлено 10.03.1948. Опубликовано: 01.01.1950.

Устройство для повышения акустической отдачи телефона



1949

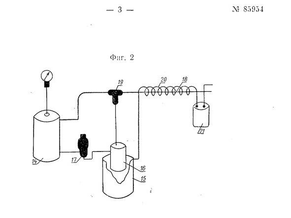
А. с. Г. С. Альтшуллера и Р. Б. Шапиро 85 954

Заявлено 16.02.1949. Опубликовано: 01.01.1950

Аппарат для газовой сварки




А. с. 85 954


А. с. Г. С. Альтшуллера и Р. Б. Шапиро 83 099

Заявлено 24.06.1949. Опубликовано: 01.01.1950

Прибор для аускультации




А. с. Г. С. Альтшуллера и Р. Б. Шапиро 111 144

Заявлено 24.07.1956. Опубликовано: 01.01.1957

Аппарат для индивидуальной газотепловой защиты





А. с. 111 144

1958


А. c. 120 909. Альтшуллер Г. С., Фильковский Л. Н.

Заявлено 20.11.1958. Опубликовано: 01.01.1959

Способ электротермического натяжения высокопрочной арматуры




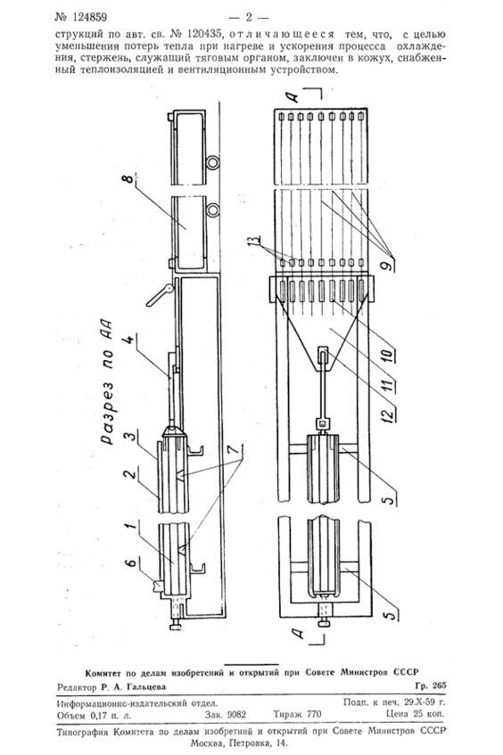
А. с. 124 859. Альтшуллер Г. С., Фильковский Л. Н.

Заявлено 18.09.1958. Опубликовано: 01.01.1959

Устройство для натяжения арматуры



1959

Валентина Николаевна Журавлева (жена Альтшуллера), Генрих Саулович Альтшуллер, Рафаил Борисович Шапиро, Баку, 1959


Баку, 1959

Р. Шапиро, Г. Альтшуллер, В. Журавлева

1961

Издана первая книга по ТРИЗ.



Семинар, организованный книжным издательством Тамбова.


Слева направо: Станислав Георгиевич Корнеев (редактор), Г. С. Альтшуллер и Лыков (Тамбов, 30.11.1961)


Семинар, организованный книжным издательством Тамбова.

Занятия ведет инженер Г. С. Альтшуллер.


Годы не выяснены

Г. Альтшуллер играет в шахматы


Эвротрон

Первая механическая «изобретающая» машина, г. Баку


Г. С. Альтшуллер с «Эвротроном»


1968

Первый семинар по подготовке преподавателей ТРИЗ. Дзинтари. 1968 г.


Второй слева  Альтшуллер Г. С.


Дзинтари, 1968

Слева направо:?, Г. Альтшуллер, Валентин Афанасьевич Богач

1971

Конференция ЦС ВОИР, Баку, 1971



Баку, 1971


Баку, 1971


Баку, 1971


Баку, 1971


Занятия в Азербайджанском общественном институте технического творчества (АзОИИТ)


Баку, 1971. Занятия в АзОИИТ

Ваша оценка очень важна

0
Шрифт
Фон

Помогите Вашим друзьям узнать о библиотеке

Скачать книгу

Если нет возможности читать онлайн, скачайте книгу файлом для электронной книжки и читайте офлайн.

fb2.zip txt txt.zip rtf.zip a4.pdf a6.pdf mobi.prc epub ios.epub fb3