Лев Певзнер - ТРИЗ для «чайников»  3. Законы развития технических систем, том 1, издание 2-е исправленное и дополненное стр 3.

Книгу можно купить на ЛитРес.
Всего за 51.9 руб. Купить полную версию
Шрифт
Фон

 закон согласования-рассогласования.


Для описания частных законов и алгоритмов я буду использовать некоторые термины, которые, как мне кажется, наиболее точно определяют суть описываемых явлений:


Тенденция  склонность технической системы развиваться в определенном направлении, по определенным правилам. Это значит, что движение в этом направлении не обязательно, но наиболее вероятно.

Линия развития предполагаемая последовательность шагов в развитии технической системы, которая повышает ее идеальность и, которая наиболее вероятна при развитии системы.

Микростандарт модель задачи-аналога, которая реализуется в рамках тенденции или линии развития. Микростандарт подсказывает возможные решения проблемы или шаги в развитии технической системы, в рамках определенной тенденции.

Миниалгоритм последовательность из нескольких шагов, подсказывающая основные этапы анализа при поиске решения в конкретных условиях.

Раздел 1.  Классификация изобретений и потребностей

Изобретения бывают разные. Одни маленький шаг в улучшении  системы, другие радикально меняют общество.

В 1981 году мне пришлось решать проблему на Верх-Исетском металлургическом заводе.

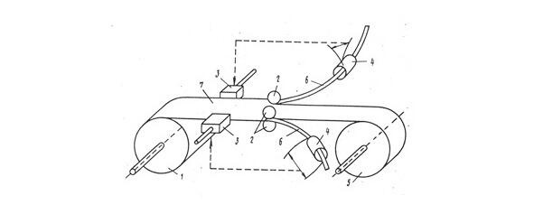
При обрезке кромок стальной полосы на агрегате продольной резки, необходимо центрировать полосу (7), чтобы обрезать дисковыми ножами (2) достаточно широкие кромки, удаляя все трещины. Но полоса постоянно движется в сторону, поэтому специальный рабочий постоянно регулирует ее положение на агрегате резки рулонов. Чтобы автоматизировать работу агрегата, предложено пропускать обрезаемую кромку (6) через кольцо двух электрических контуров (4). Через один пропускается переменный ток, который наводит ток во второй обмотке. При этом, чем больше ширина обрезаемой кромки, тем больше сигнал. Сигналы, получаемые с двух сторон полосы, сравниваются, и их разность направляется в управляющее устройство (3), которое эффективно заменяет рабочего.


Рисунок 1. Схема установки центрирования полосы


В этом примере, в системе выполнено небольшое изменение  введена управляющая система. Но это изобретение и на него выдано А. С. N 958 047. И таких изобретений каждый инженер может сделать много. Эти небольшие изобретения мало влияют на развитие общества в целом, хотя и решают нужные задачи в определенных условиях.


Наряду с этим, есть изобретения, которые радикально меняют общество. В 1938 году инженеры Эрик Фосет и Реджинальд Гипсон разработали промышленное производство полиэтилена. Первое назначение нового материала  покрытие телефонного кабеля. Теперь мы понимаем, что это было крайне узкое применение полиэтилена, но даже его было достаточно для организации экономически оправданного массового производства.

В  годы Второй мировой войны англичане применяли полиэтилен для производства радаров. А в 1950-х годах началось массовое применение полиэтилена в самых разных областях:


 упаковка (тара, емкости и пакеты),

 трубы для строительства,

 различные детали оборудования и многое другое.


Вскоре, в середине 1950-х  был разработан аналогичный материал полипропилен. У него были еще больше возможностей это детали автомобилей, оконные рамы, обшивка домов

Фактически применение этих материалов радикально изменили многие технологии в строительстве, упаковке, химию, электротехники и других отраслях.


Чем же отличаются эти изобретения?


Г. С. Альтшуллер предложил ввести 5 уровней для оценки качества изобретений, в зависимости от того,


1. Разрешают ли они противоречия,

2. Насколько серьезные изменения происходят в системе, и как влияют они на общество.


И главным критерием является оценка того, сколько вариантов, по мнению экспертов, надо перебрать, чтобы найти решение.


Итак, классификация изобретений Г. С. Альтшуллера:


1-й уровень Мельчайшие изобретения не связанные с устранением противоречий (до 10 вариантов).

2-й уровень Мелкие изобретения, полученные в результате устранения противоречия способами, известными в данной отрасли (до 100 вариантов).

3-й уровень Средние изобретения. Противоречие преодолевается способами, известными в пределах одной науки. Например, «механическая» задача решается «механически»,  «химическая»  «химически» и т.д. (до 1000 вариантов).

Ваша оценка очень важна

0
Шрифт
Фон

Помогите Вашим друзьям узнать о библиотеке

Скачать книгу

Если нет возможности читать онлайн, скачайте книгу файлом для электронной книжки и читайте офлайн.

fb2.zip txt txt.zip rtf.zip a4.pdf a6.pdf mobi.prc epub ios.epub fb3