Иван Трещев - Сети и телекоммуникации. Для студентов стр 2.

Книгу можно купить на ЛитРес.
Всего за 80 руб. Купить полную версию
Шрифт
Фон

1. Физическая топология  отображает физическое расположение промежуточных устройств и кабельных линий;

2. Логическая топология  отображает устройства, порты и схемы адресации.

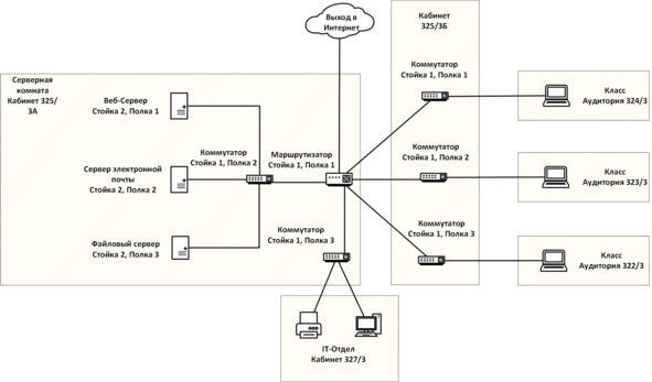
Изображения топологий приведены на рисунках 1 и 2.


Рисунок 1  Пример физической топологии


Рисунок 2  Пример логической топологии


Сетевая карта  устройство, позволяющее взаимодействовать с другими устройствами в сети.

Физический порт  разъем на сетевом устройстве, через который кабели подключены к компьютеру или другому сетевому устройству.

Интерфейс  специализированные порты в сетевом устройстве, которые подключаются к отдельным сетям. Поскольку маршрутизаторы соединяют между собой сети, порты маршрутизатора называются сетевыми интерфейсами.

Часто на практике слова «Порт» и «Интерфейс» являются взаимозаменяемыми.

1.2 Виды сетей

Сети сильно отличаются по площади покрытия, количества пользователей, типа и объема предоставляемых услуг пользователям. Наиболее распространенными типами сетевых инфраструктур являются локальные сети LAN и глобальные сети WAN.

Локальная сеть (LAN)  сетевая инфраструктура, предоставляющая высокоскоростной доступ пользователям и оконечным устройствам на небольшой территории. Обычно является домашней сетью, сетью малого или крупного предприятия. Управляется одним квалифицированным лицом или отдельным IT-отделом на предприятии.

Глобальная сеть (WAN)  сетевая инфраструктура, предоставляющая доступ к другим сетям на большой территории. Принадлежит провайдерам телекоммуникационных услуг и находится под их управлением.

Интернет  всемирное объединение взаимосвязанных сетей для хранения и передачи информации.

Экстранет  защищённая от несанкционированного доступа корпоративная сеть, использующая Интернет-технологии для внутрикорпоративных целей, а также для предоставления части корпоративной информации и корпоративных приложений деловым партнерам компании.

Интранет  частные сети LAN и WAN, которые принадлежат организации и доступны только ее членам, сотрудникам и прочим авторизованным лицам.

Для сети Экстранет особенно важны аутентификация пользователя (который может и не являться сотрудником компании) и, особенно, защита от несанкционированного доступа, тогда как для приложений Интранет они играют гораздо менее существенную роль, поскольку доступ к этой сети ограничен физическими рамками компании.

Для доступа к Интернет существует множество способов подключения. Домашние пользователи, удаленные сотрудники компаний и малые офисы, как правило, для доступа в Интернет нуждаются в подключении к поставщикам услуг Интернета. Варианты подключения существенно меняются в зависимости от провайдера, географического местоположения и развития инфраструктуры. Популярные варианты включают в себя широкополосную кабельную сеть, широкополосную цифровую абонентскую линию (DSL), беспроводные глобальные сети и мобильные сервисы.

1.3 Надежность сетей

Для поддержания работоспособности и надежности сети требуется, чтобы она соответствовала четырем основным требованиям:

1. Отказоустойчивости;

2. Масштабируемость;

3. Качество обслуживание;

4. Безопасность.

Отказоустойчивость  свойство сети сохранять свою работоспособность после отказа одного или нескольких составных компонентов. Для этого сети используют несколько путей передачи данных от источника к месту назначения. Если один путь недоступен, сообщения можно немедленно отправить по другой линии связи. Наличие нескольких путей к месту назначения называется резервированием.

Масштабируемость  свойство сети, позволяющая быстро расширить, обеспечив поддержку новых пользователей и приложений без снижения эффективности обслуживания существующих.

Качество обслуживания (QoS  Quality of Service)  технология предоставления различным классам трафика различных приоритетов в обслуживании во избежание перегрузки сети.

Обеспечение безопасности инфраструктуры сети включает в себя физическую защиту всех устройств, которые необходимы для сетевых подключений, и предотвращение несанкционированного доступа к установленному на них ПО управления.

Ваша оценка очень важна

0
Шрифт
Фон

Помогите Вашим друзьям узнать о библиотеке

Скачать книгу

Если нет возможности читать онлайн, скачайте книгу файлом для электронной книжки и читайте офлайн.

fb2.zip txt txt.zip rtf.zip a4.pdf a6.pdf mobi.prc epub ios.epub fb3