Петров Владимир Николаевич - Стандарты изобретательства. Учебник. ТРИЗ стр 5.

Шрифт
Фон

Пример 3.1. Вживление электронных чипов

Появилась потребность идентифицировать животных, особенно дорогих.

Разработали чип (рис. 3.1), который вживляют в тело. В чипе записаны все данные о животном и его хозяине. Информация считывается с помощью специального прибора.


Пример 3.1. Вживление электронных чипов


Пример 3.2. Самозаклеивающаяся шина

Английская компания Dunlop выпускает самозаклеивающую шину. Внутри, на ободе шины равномерно размещаются несколько баллончиков с клеем. При проколе шины из нее выходит воздух, один из баллончиков получает удар и из него вытекает клей, который заклеивает место прокола. Клей содержит жидкость, пары которой накачивают шину до прежнего предела (рис. 3.2).


Рис. 3.2. Самозаклеивающаяся шина7


Компания Continental запатентовала шину с технологией ContiSeal.

На внутреннюю поверхность шины (над протектором) наносится защитный слой из полужидкого полимера, который заполняет собой отверстие в шине диаметром до 5 мм или обволакивает тот предмет (например, гвоздь), который стал виновником прокола (рис. 3.3).


Рис. 3.3. Самозаклеивающаяся шина ContiSeal8


Стандарт1.1.3. Внешний комплексный веполь

Если дан веполь, плохо поддающийся нужным изменениям, а условия задачи содержат ограничения на введение добавок в имеющиеся вещества B1 или B2, задачу решают переходом (постоянным или временным) к внешнему комплексному веполю, к B1или B2 внешнее В3, увеличивающее управляемость или придающее веполю нужные свойства. См. схемы (3.4), (3.5).




Задача 3.3. Хирургические перчатки

Условие задачи

Хирургические перчатки могут повредиться во время операции или осмотра пациента, при этом врач может заразиться.

Как быть?

Разбор задачи

Самостоятельно проведите разбор задачи по логике АРИЗ.

Примените тенденцию увеличения степени дробления.

Решение

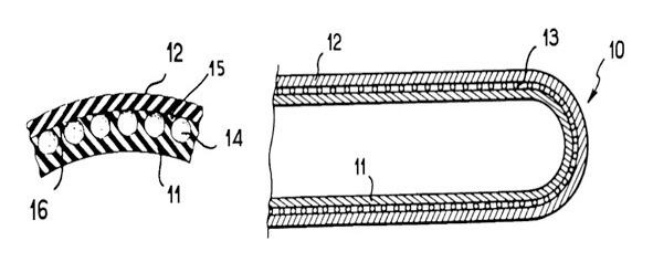
Перчатки делаются двухслойными и между слоями помещают микрокапсулы с антимикробными и антивирусными веществами

(рис. 3.4). Эти капсулы лопаются при разрыве или слишком сильном натяжении резины9. Этот способ может быть использован и в других предохранительных средствах из резины (напальчник, презерватив и т. д.).


Рис. 3.4. Хирургическая перчатка. Патент США 5 024 852


Пример 3.3. Экзоскелет

Экзоскелет прикрепляется к телу человека, помогает ему быстрее и легче передвигаться, нести больший груз, легче выполнять любые физические нагрузки. Он может использоваться в медицине, например для восстановления утраченных функций, при выполнении тяжелых работ, в военных целях, например для более эффективного выполнения функций солдата, и т. д.

Стандарт 1.1.4. Веполь на внешней среде

Если дан веполь, плохо поддающийся нужным изменениям, а условия задачи содержат ограничения на введение в него или присоединение к нему веществ, задачу решают достройкой веполя, используя в качестве вводимого вещества имеющуюся внешнюю среду. См. схемы (3.6), (3.7).




Пример 3.4. Кабель

Кабельная обмотка, которая набухает при контакте с водой, выполняет функцию уплотнения. Набухание происходит за счет суперабсорбирующего порошка10.


Пример 3.5. Мускулы на пару

Ученые Массачусетского технологического университета создали полимерную пленку, которая работает как искусственная мышечная ткань: поглощая водяные пары, она сокращается. Такая пленка весом 25 мг позволяет поднять груз в 380 раз большего веса. Эта полимерная мышца имеет трехслойную конструкцию. Средний слой образован полипирролом, который создает гибкую матрицу. Два краевых слоя представляют собой мягкий гель из борат-полиола-полимера, который меняет свою форму при поглощении воды. Если пленку толщиной 20 микрон положить на слегка влажную поверхность, то нижний её слой, впитав влагу, разбухает и пленка искривляется. Потеряв контакт с влажной поверхностью, этот слой испаряет влагу и пленка выпрямляется. Цикл многократно повторяется. Если пленку соединить с пьезоэлектриком, то можно получить электрическую энергию11.

Ваша оценка очень важна

0
Шрифт
Фон

Помогите Вашим друзьям узнать о библиотеке

Скачать книгу

Если нет возможности читать онлайн, скачайте книгу файлом для электронной книжки и читайте офлайн.

fb2.zip txt txt.zip rtf.zip a4.pdf a6.pdf mobi.prc epub ios.epub fb3