Александр Снегов - Рыба и раки. Технология разведения стр 6.

Шрифт
Фон

Известны случаи, когда непродуманное обустройство водоема становилось причиной сдвига грунтов. Поэтому надежнее сделать пруд с плотиной по возможности ближе к реке (озеру). Если же участок не прилегает к реке (озеру), то необходимо получить консультацию специалиста и согласовать строительство пруда с местными органами власти. Границы его определяют с учетом размеров участка и рельефа местности.

Выкопать пруд с поднятием воды за счет насыпной плотины можно и без экскаватора. Все работы, связанные с планированием ложа пруда и засыпкой плотины, выполняют бульдозером.

Пригодны для таких прудов тяжелые, слабофильтрующие грунты суглинок и глина.

Во избежание чрезмерного разлива пруда, кроме основной подпирающей плотины, с его боковых сторон насыпают контурные дамбы. Для надежности плотинам и контурным дамбам придают трапециевидную форму. Их насыпают пластами (по 2030 см) и хорошо уплотняют бульдозером. Укосы плотины должны иметь стойкие склоны, чтобы не допустить их размывания во время дождей и весенних наводнений. Высота плотины должна обеспечивать проектную глубину пруда. Для прудов площадью до 500 м2 часть дамбы, которая выступает над срезом воды до полного заполнения пруда водой, должна составлять не меньше 0,5 м.

Чтобы избежать размывания плотины и контурных дамб, их укрепляют дерном и камнями по сухому откосу или засевают многолетними травами и одновременно по периметру пруда возле дамб, которые размываются, высаживают камыш. Его саженцы высотой 6060 см с корневищами высаживают «под лопату» на расстоянии 0,51 м друг от друга. Дамбу засаживают до самого верха. В первый год образуется редкая поросль, а в последующие годы густая полоса шириной около 1,5 м, которая будет надежно гасить волну и препятствовать размыванию дамбы.

Существуют два варианта оборудования водослива прудов с ручьевым водоснабжением: трубопроводный и щитовой.

В случае, если вода из ручья в пруд поступает медленно, чаще всего устанавливают трубопроводный водослив. Для этого возле основы плотины в самом глубоком месте монтируют сливную трубу с краном, который будет обеспечивать освобождение пруда от воды, когда вылавливают всю рыбу, а также во время очищения ложа от ила, его дезинфекции или ремонта плотины и контурных дамб.


На уровне проектного среза воды монтируют 12 асбестоцементные переливные трубы, оборудованные сетками, которые препятствуют выходу мальков и рыбы. Выше переливных рабочих труб желательно установить еще 12 резервные трубы на случай переполнения ставка водой во время ливней или весеннего паводка. Чтобы предотвратить размывание дамбы, в местах закладывания труб их укрепляют бетоном.


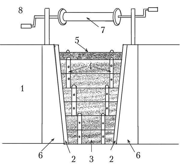
Щитовой водослив в водоемах с эффективным ручьевым водоснабжением: 1 дамба; 2 направляющие полозья для подпорных щитов; 3 водоподпорные щиты; 4 металлические пластины с петлями для крепления; 5 каркас с сеткой, которая предотвращает выход рыбы; 6 бетонная основа водослива; 7 съемный барабан для поднятия водоподпорных щитов; 8 пруд


Для того чтобы избежать промерзания нижней сливной трубы в зимний период, ее следует закрыть опалубкой и опилками до наступления осенних заморозков. Мелкоячеистую сетку на переливной трубе необходимо снять и заменить крупной. Когда пруд замерзнет, сетку снимают.

В случае обильного (эффективного) поступления воды в пруд из ручья устанавливают трубы для перелива большего диаметра или оборудуют щитовой водослив по принципу промышленных прудов. Металлические направляющие для щитов, которые удерживают воду, устанавливают раскосо под небольшим углом (34°). Прямоугольные щиты должны иметь слегка трапециевидную форму, благодаря чему их легко перемещать вверх.

Деревянные щиты из дубовых досок толщиной не меньше 50 мм скрепляют двумя металлическими пластинами, которые в верхней части имеют петли. Щиты поднимают тросом, закрепленным на барабане и изготовленным по принципу подъемника в сельском колодце. Над верхним щитом устанавливают металлический каркас с сеткой.

В верхней части пруда на водозаборе устанавливают решетчатое металлическое заграждение с ячейками 20x20 мм, что будет предотвращать загрязнение пруда опавшей листвой и мусором, а также выход выращиваемой рыбы.

В плотине по центру ложа от водозабора до водослива необходимо выкопать осушительный канал глубиной 0,50,6 м, который необходим для сбрасывания и отвода из ложа воды, оставшейся после спускания.

Ваша оценка очень важна

0
Шрифт
Фон

Помогите Вашим друзьям узнать о библиотеке

Скачать книгу

Если нет возможности читать онлайн, скачайте книгу файлом для электронной книжки и читайте офлайн.

fb2.zip txt txt.zip rtf.zip a4.pdf a6.pdf mobi.prc epub ios.epub fb3