
Рис. 3.1. Аккумуляторная батарея:
1 - положительная пластина; 2 - сепаратор; 3 - отрицательная пластина; 4 - корпус батареи; 5 - крышка секции батареи; 6 - пробка наливного отверстия; 7 - положительная выводная клемма; 8 - соединительный мостик; 9 - межэлементная перегородка; 10 - опорные пластины
Как и любая батарея, аккумулятор имеет "плюс" и "минус" на соответствующих полюсах. Минусовой полюс соединен с кузовом автомобиля и обеспечивает, как говорят водители, "выход на массу". Плюсовой полюс соединен с электрической цепью автомобиля, по которой ток передается потребителям с помощью системы проводов.
Аккумуляторная батарея состоит из шести отдельных аккумуляторов, которые находятся в одном корпусе и последовательно соединены между собой в единую электрическую сеть. В каждом аккумуляторе протекают электрохимические процессы, в результате которых получается ток напряжением 2 В.
В общей сложности на полюсах аккумуляторной батареи образуется постоянный ток напряжением 12 В.
Аккумуляторная батарея имеет маркировку установленного образца. Например, маркировку 6СТ-60А нужно понимать следующим образом:
♦ 6 - количество аккумуляторов в аккумуляторной батарее (для всех легковых автомобилей эта цифра неизменна);
♦ СТ - тип аккумуляторной батареи (в данном случае - стартерная, позволяющая запускать двигатель с помощью мощного потребителя электроэнергии (стартера));
♦ 60 - емкость аккумуляторной батареи, которая измеряется в ампер-часах (в рассматриваемом примере - 60 А·ч);
♦ А - обозначение материала, из которого изготовлен корпус аккумуляторной батареи (в рассматриваемом примере - полипропилен).
Чем больше мощности требуется для запуска двигателя, тем большей емкостью должна обладать аккумуляторная батарея. Для стандартных "Жигулей" использовались батареи емкостью 55 А·ч. А вот для запуска дизельных двигателей такого аккумулятора может не хватить - им необходимо хотя бы 60–65 А·ч.
ПРИМЕЧАНИЕ
Средний срок службы новой аккумуляторной батареи при стандартных условиях эксплуатации - 2–3 года. Обычный гарантийный срок производителя - 12 месяцев.
Генератор - это источник электрического тока, обеспечивающий им всех потребителей при работе двигателя на высоких и средних оборотах (рис. 3.2). Кроме того, функцией генератора является подзарядка аккумуляторной батареи (при работающем двигателе). Без генератора аккумулятор очень быстро разрядится.

Рис. 3.2. Генератор
В электрическую цепь автомобиля генератор подключается параллельно аккумуляторной батарее (рис. 3.3). Следовательно, снабжать потребителей электрическим током и заряжать аккумулятор он будет только тогда, когда вырабатываемое им напряжение будет больше напряжения, выдаваемого аккумулятором.

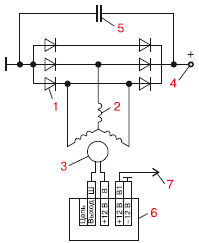
Рис. 3.3. Принципиальная электрическая схема генератора:
1 - диоды выпрямительных блоков; 2 - обмотки статоров; 3 - обмотка возбуждения ротора; 4 - вывод клеммы; 5 - конденсатор; 6 - интегральный регулятор; 7 - вывод к клемме "Ш"
Это происходит тогда, когда мотор автомобиля работает на оборотах выше холостых: напряжение электрического тока, который производится генератором, напрямую зависит от скорости вращения ротора генератора, имеющего привод от двигателя.
Иногда напряжение вырабатываемого генератором электрического тока может быть больше чем необходимо. Для предотвращения такой ситуации в автомобиле используется специальный прибор - регулятор напряжения. Он функционирует в паре с генератором, ограничивая напряжение производимого им тока в районе 13,6–14,2 В. Регулятор напряжения может быть вмонтирован в генератор или располагаться в моторном отсеке отдельно. На панели приборов любого автомобиля обязательно имеется красная лампочка заряда аккумуляторной батареи. Она всегда загорается при включении зажигания и гаснет после запуска двигателя.
Если же при работающем двигателе лампочка не погасла, это свидетельствует о проблемах в системе электропитания.
Потребители электрического тока
Потребителями электрического тока в автомобиле являются система пуска двигателя, система зажигания, система освещения и сигнализации, контрольно-измерительные приборы и дополнительное оборудование, которое может быть различным.
Система пуска двигателя
Система пуска в автомобиле предназначена для запуска двигателя и включает в себя следующие составные элементы:
♦ замок зажигания;
♦ стартер с тяговым реле;
♦ механизм привода стартера;
♦ реле включения стартера.
Непосредственно для запуска двигателя предназначен специальный прибор - стартер (от слова "старт") (рис. 3.4). Он представляет собой электрический двигатель постоянного тока. Когда водитель поворачивает в замке зажигания ключ в положение "Запуск", электрический ток через реле подается от аккумуляторной батареи на обмотки стартера.

Рис. 3.4. Стартер:
1 - коллектор; 2 - вал якоря стартера; 3 - траверса; 4 - обмотка якоря стартера; 5 - контакты реле; 6 - крышка реле; 7 - контактная пластина; 8 - стержень якоря; 9 - втягивающая обмотка; 10 - удерживающая обмотка; 11 - реле; 12 - якорь реле; 13 - рычаг включения зубчатого колеса привода; 14 - шлицевая втулка; 15 - ограничительное кольцо; 16 - муфта; 17 - центрирующий диск; 18 - бандажное кольцо; 19 - якорь стартера; 20 - катушка обмотки стартера; 21 - корпус статора
В результате срабатывает тяговое реле, специальная шестерня стартера входит в зацепление с маховиком двигателя и проворачивает его. Поскольку зажигание уже включено, двигатель заводится и начинает работать.
Стартер используется исключительно для запуска двигателя. Процесс работы стартера можно условно разделить на три ключевых этапа.
1. Сначала специальная шестерня, расположенная на валу якоря стартера, входит в зацепление с зубчатым венцом маховика двигателя (это возможно благодаря механизму привода).
2. Далее вал стартера вместе с шестерней, зацепившейся с маховиком, начинают вращаться, в результате чего маховик проворачивается, а следовательно, проворачивается и коленвал двигателя, после чего тот запускается.
3. Затем, когда водитель завел двигатель и отпустил ключ в замке зажигания, выключив стартер, шестерня стартера выходит из зацепления в сторону (зубья шестерни останутся на том же уровне, но только в стороне). В таком положении она находится все время, когда двигатель работает или выключен, и входит в зацепление с маховиком только тогда, когда водитель повернет ключ зажигания в положение "Запуск".
ВНИМАНИЕ
Сразу после запуска двигателя необходимо выключить стартер, отпустив ключ в замке зажигания. Принудительное удержание ключа при работающем двигателе в положении "Запуск" может вывести стартер из строя: тяжелый вращающийся венец маховика перемелет шестерню стартера. Не исключено, что стартер получит и другие повреждения (сгорит тяговое реле и др.). По этой же причине ни в коем случае нельзя включать стартер при работающем двигателе.
Система освещения и сигнализации
Характерной особенностью приборов освещения и сигнализации, которыми оснащается каждый современный автомобиль, является то, что постоянный ток напряжением 12 В подается к ним только при включении соответствующего тумблера или переключателя, расположенного в салоне автомобиля.
Главной задачей приборов освещения является обозначение габаритов автомобиля при движении в темное время суток и в условиях ограниченной видимости, а также освещение дороги и внутренних помещений автомобиля (салон, багажник и т. д.). К приборам освещения современного автомобиля относятся:
♦ фары или блок-фары;
♦ лампы освещения номерного знака;
♦ лампы освещения салона;
♦ лампа освещения багажника;
♦ лампа освещения подкапотного пространства;
♦ задние фонари.
Основными составными элементами блокфары являются корпус, рассеиватель и отражатель (рис. 3.5). Внутри корпуса в специально предназначенном разъеме (гнезде) содержится лампа, которая может работать в двух режимах: ближний свет фар и дальний свет фар. Выбор требуемого режима водитель осуществляет с помощью соответствующего переключателя, расположенного в салоне. Внутри блок-фары также имеется лампочка габаритного огня, которая предназначена для обозначения габаритов автомобиля. Габаритные огни водитель включает с помощью специального тумблера.