Прибор для начального обучения нотной грамоте
С помощью этого устройства можно демонстрировать связь между звучанием основных нот первой октавы и нотным знаком, что позволяет учащимся быстрее запомнить их. Можно предложить несколько конструкций таких приборов.
Прибор со световым табло. В качестве источника звуковых колебаний можно применить описанный выше электронный камертон, а световое табло нужно сделать дополнительно.
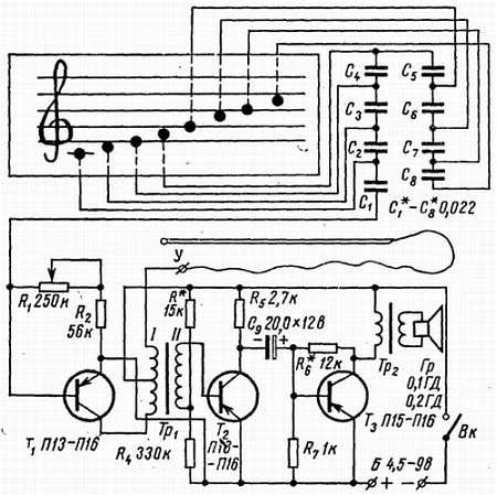
Табло выполняется в виде плоского прямоугольного ящика по размерам, показанным на рис. 22, а. Лицевая панель делается из молочного (матового) органического стекла или простого стекла, закрытого изнутри тонкой белой бумагой. На лицевой панели рисуется нотная линейка с обозначением нотных знаков и скрипичного ключа. Напротив кружочков внутри ящика монтируются патрончики с лампочками низкого напряжения Л1- Л8(2,5; 3,5 или 6,3 в). На каждую лампочку нужно надеть трубочку, диаметр которой на несколько миллиметров меньше диаметра кружочка нотного знака, для того чтобы световое пятно не получилось размытым. Укрепить лампочки можно или на задней стенке, или на деревянной планке.
Конструкция камертона несколько изменяется. На лицевой панели корпуса камертона взамен регулируемого резистора R2, который исключается из схемы, устанавливается переключатель П1в точках а - б (см. схему рис. 21 и 22, б). Он должен иметь две платы - одна служит для переключения резисторов R4 - R11(они подбираются в соответствии с фиксированными положениями потенциометра R2). Вторая плата переключателя служит для переключения лампочек Л1- Л8 светового табло. Батарея Б2 нужна для питания лампочек. Для увеличения громкости выход камертона можно подключить к одно-, двухкаскадному усилителю, нагруженному электродинамическим громкоговорителем. Этот громкоговоритель можно смонтировать на панели светового табло.

Рис. 22.Прибор для обучения нотной грамоте
Прибор с кнопками. В этой конструкции лицевая панель табло делается не из стекла, а из пластика или фанеры. На нотной линейке, внутри кружочков, обозначающих ноты, монтируются кнопки.
Лампочки Л1 - Л8 (см. рис. 22, в) монтируются в нижней части табло, напротив квадратных ячеек. На стеклах, закрывающих ячейки изнутри, пишутся названия нот "до", "ре", "ми", "фа", "соль", "ля", "си", "до". Учитель или ученик подходят к табло, показывают нотный знак указкой и концом указки нажимают соответствующую кнопку. Каждая кнопка тройная - при ее нажатии к ячейке а - б и в - г подключается один из резисторов R4-R11 одна из лампочек Л1- Л8и включается кнопка Кн питания генератора.
Для того чтобы не соединять генератор многожильным шлангом с табло, рационально весь генератор и источник питания Б1 и Б2смонтировать внутри корпуса табло.
Поющая нотная линейка
Эта установка позволяет исполнять простые музыкальные мелодии. Основой конструкции является панель, примененная в приборах для изучения музыкальной грамоты (см. рис. 22, а). Вместо нарисованных нотных знаков на панели укрепляются их металлические двойники, вырезанные из латуни или меди. Каждый из этих знаков соединен с конденсатором, включенным во входную цепь звукового генератора, собранного на транзисторе Т1. Таким образом, нотная линейка образует магазин емкостей. Вторым элементом управления музыкальной установки служит полоска-указка У с металлическим контактом на конце. Она является переключателем емкостей, а следовательно, и рабочей частоты генератора. Через трансформатор Тр1, первичная обмотка которого служит задающим элементом генератора, а вторичная согласующим, сигнал подается на двухкаскадный’ усилитель, собранный на транзисторах Т2 и Т3.
Через выходной трансформатор Тр2 к выходу усилителя подключен громкоговоритель Гр типа 0,1 ГД или 0,2 ГД. Трансформатор Тр1 берется от транзисторных приемников с двухтактным выходным каскадом, а трансформатор Тр2 обычно продается-вместе с громкоговорителем. Все транзисторы низкочастотные типа П13-П16 с коэффициентом усиления по току В от 30 и более. Данные остальных деталей генератора и усилителя приведены на схеме (рис. 23).

Основная настройка звукового генератора сводится к подбору конденсаторов C1 - C8. Тщательно подбирая их емкости, нужно добиться фиксированных частот, начиная от "до" первой октавы и заканчивая "до" второй октавы, руководствуясь табл. 1, приведенной на стр. 28. Желательный тембр звука подбирается изменением сопротивления резистора R1. Усилитель может быть заменен и другим, более мощным; схемы таких усилителей читатели могут найти на страницах журнала "Радио". Вся электронная часть этой самоделки монтируется внутри корпуса табло или в отдельном корпусе, если нотная линейка будет сделана на плоской пластмассовой или деревянной панели.
Электромузыкальный инструмент
Этот инструмент представляет собой устройство, в котором источником напряжения звуковой частоты служит генератор, собранный по схеме симметричного мультивибратора на двух низкочастотных транзисторах Т1и Т2 типа П13 - П16. Данные деталей показаны на схеме рис. 24. Основное изменение частоты производится регулируемым резистором R1, дополнительная подстройка - регулируемым резистором R7. Диапазон инструмента 2,5 октавы.
К выходу звукового генератора подключается однокаскадный усилитель мощности, собранный на транзисторе Т3 (П13- П16). Нагрузкой усилителя служит громкоговоритель Гр мощностью 0,1–0,5 вт, подключаемый через трансформатор Тр1.
Детали звукового генератора и громкоговоритель Гр с трансформатором Тр1 помещаются в самодельном корпусе, сделанном в виде домбры, или в корпусе от старого струнного музыкального инструмента (балалайки, гитары, мандолины). Крепятся детали на верхней стенке (деке) корпуса. Динамик укрепляется напротив отверстия, которое нужно соответственно расширить и затянуть тонкой материей. Ось регулируемого резистора R1 выводится на деке ниже или выше громкоговорителя. На оси. этого резистора укрепляется ручка-рычаг из органического стекла или другого материала, которая скользит по рисунку клавиатуры пианино, (см. рис. 24). Высоту звуков, создаваемых электромузыкальным инструментом, можно изменять подбором величины конденсаторов С3 - С6, подключаемых параллельно конденсаторам C1 и С2 при помощи кнопок Кн2- Кн5. Чем меньше емкость конденсаторов, тем выше тональность звуков, чем больше емкость, тем тональность ниже. Кнопки подключения конденсаторов расположены на грифе инструмента. Здесь же укрепляется кнопка Kн1, заменяющая выключатель.
Если у вас есть слух, научиться играть на таком инструменте легко. Начните с исполнения простых мелодий, затем переходите к более сложным. Во время игры одной рукой регулируется высота (частота) звука путем вращения оси переменного сопротивления R1, а второй рукой включаются и выключаются кнопка Кн1и кнопки с фиксированным положением Кн2-Кн6; чтобы добиться вибрации звука, оживляющей исполнение (вибрато), обычно применяется дополнительный генератор. В этой конструкции вибрато нетрудно получить легким колебанием ручки-рычага R1.
Изменяя величины конденсаторов и сопротивлений схемы звукового генератора, можно собрать инструменты с различной тональностью, и тогда получится электромузыкальный квартет и даже оркестр, который и выступит на вашем празднике. Для детей можно собрать такой инструмент в корпусе от игрушечного рояля или пианино.

Рис. 24.Электромузыкальный инструмент