
В ней применены элементы и узлы от различных устройств компьютерной техники. Например, от DVD-привода. Из металлической крышки вырезано основание 3. К нему приклеены три опоры 1 (шестерни) в дух из которых закреплены Г-образные пластмассовые подвесы 2 и двигатель с редуктором 6, которые выпилены лобзиком из лицевой панели привода. От него же взяты молоточки 9 (винты) и металлическая ось 11. Диски 7 и 8 из винчестеров от НЖМД старых системных блоков компьютеров свободно подвешены в углублениях подвесов 2.
Ось 11 приклеивают к шестерне редуктора двигателя 6. Предварительно в шестерне круглым надфилем делают канавку. На концы оси 11 надеты отрезки резиновых трубок 10 длиной 20…25 мм. В отрезках трубок 10 сделан продольный овальный вырез, а в свободные концы вставлены молоточки 9. Благодаря резиновой трубке, молоточек имеет собственную частоту колебаний. Сдвигая трубку по оси можно регулировать зазоры между молоточками и дисками.
К боковой стенке двигателя 6 приклеен ограничитель амплитуды колебаний оси 11 - отрезок 13 из пластмассы. Плату 5 вставляют в пластмассовые направляющие, приклеенные с основанию 3 с помощью пластмассовых уголков. Футляр 12, в котором установлен выключатель питания, изготовлен из пластмассового цилиндрического контейнера. На пластмассовой стойке вставленной в опору 1 закреплён фототранзистор 4, который вместе с резиновыми трубками 10 использованы от автомобильного CD-проигрывателя.
Собирают звонницу в следующем порядке. Предварительно подвесы и стойки вклеивают в опоры 1 и подвешивают диски. Сначала к основанию 3 приклеивают двигатель с редуктором 6, затем, сообразно амплитуде колебаний молоточков 9 фиксируют положение подвесов 2 с дисками 7 и 8 и стойку с фототранзистором 4. В заключение к основанию приклеивают батарейные отсеки и футляр с выключателем. Монтаж выполняют тонким гибким изолированным проводом.
Налаживание сводится к регулировке зазоров между молоточками и дисками. При использовании различных мигающих светодиодов может возникнуть проблема, связанная с тем, что длительности паузы и свечения светодиода различны. В этом случае ось с молоточками при колебаниях будет прокручиваться в одну из сторон. Эту проблему можно устранить, применив подтягивающую пружину, натянутую между осью и редуктором двигателя (рис. 31) и закреплённую на крючках из проволоки от канцелярских скрепок.

Глава 7
СХЕМОТЕХНИКА ИГРУШЕК
В главе даны описания работы различных вариантов принципиальных схем виброходов и электронных кубиков.
Вступление
Не секрет, что схемотехника изделий определяется в первую очередь их функциональными назначениями и возможностями. С другой стороны "анализ внешнего вида схемы" многое скажет о самом изделии. В шутку часто можно услышать, что схемотехника - это наука о кружочках, квадратиках и соединяющих их линиях, а также о непонятных символах - словах, "написанных не по-русски". Отчасти это, правда, ибо "голая схема" без подробного описания её работы вряд ли сможет помочь любителю изготовить рабочую поделку.
В моём представлении "успешная схемотехника" позволяет конструктору-самоучке решать следующие задачи:
1. Построение схемы, какого либо устройства на базе отдельных элементов, базовых схем, программ.
2. Анализ работы того или иного изделия на основе работы его схемы, с целью его преобразования или модернизации.
3. Получение новых знаний для практических занятий.
Говоря языком определений, схемотехника - это научно-техническое направление, охватывающее проблемы проектирования и исследования схем электронных устройств радиотехники и связи, вычислительной техники, систем автоматики, а так же иных областей техники. Основная задача схемотехники - определение структуры электронных схем, выполняющих определённые функции, расчёт параметров и указание типономиналов входящих в них элементов.
Термин схемотехника появился в 60-х гг. прошлого века в связи с разработкой унифицированных схем, имеющих одновременно несколько применений.
Теоретической основой схемотехники можно считать теорию линейных и нелинейных электрических цепей, электродинамику, математическое программирование, теорию автоматов.
Схемотехника обычно рассматривает все реальные электронные компоненты как некие черные ящики с идеальными однотипными свойствами, не зависящими от экземпляра. При этом для неё совершенно не важно, как устроены электронные компоненты "внутри", какие физические принципы положены в основу их работы. Вот почему схемотехника является лишь этапом воплощения реальной конструкции в жизнь.
Несколько схем виброходов
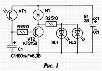
В этом пункте рассказ пойдёт о разных "поведенческих моделях" виброходов, определяемых схемой изделия. Первый вариант схемы представлен на рис. 1, а внешний вид готового изделия на рис. 1А.


Это жучок-колпачок. Его особенность такова, что в темноте он неподвижен (светятся глаза-светодиоды HL1, HL2), а на свету приходит в движение. Конструкция выполнена так, что управляющий фототранзистор VT1 отслеживает цвет подстилающей поверхности. Такое решение расширяет игровые возможности игрушки. Функционирует схема так.
Напряжение на электродигатель M1 - виброзвонок от сотового телефона, поступает через транзистор VT2, который в свою очередь, открывается и закрывается в зависимости от освещённости фототранзистора VT1. Сам фототранзистор установлен так, что реагирует на освещённость подстилающей поверхности. Когда "жук" находится под непрозрачным колпаком или на чёрном поле, сопротивление фототранзистора велико, транзистор VT2 закрыт и тока, протекающего через электромотор недостаточно для вращения ротора последнего. В этом случае через обмотку электромотора проходит только небольшой ток светодиодов HL1 и HL2. Поэтому "жук" неподвижен и его глаза светятся. При освещении фототранзистора через него начинает протекать ток, который открывает транзистор VT2. На электромотор поступает питающее напряжение, светодиоды гаснут, будучи зашунтированы открытым транзистором VT2. "Жук" станет перемещаться по белому полю до границы с чёрным, где и останавливается, поскольку ток через фототранзистор резко уменьшается. Конденсатор С1 обеспечивает плавные старт "жука" и остановку после пересечения границы между белым и чёрным полем.
Отличие ходовой части состоит в том, что виброход имеет один ряд ножек и два опорных уса (рис. 1А) - элементы 1 и 2 соответственно.
На подобной основе можно реализовать другой вариант изделия. Схема представлена на рисунке 2.