Пауль Хоровиц - Искусство схемотехники. Том 3 [Изд.4 е] стр 24.

Шрифт
Фон

Пауль Хоровиц, Уинфилд Хилл - Искусство схемотехники. Том 3 [Изд.4-е]

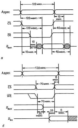
Рис. 11.30. Синхронизация статического ОЗУ с быстродействием 120 нc. а - цикл чтения, б - цикл записи.

Микросхемы статических ОЗУ могут иметь емкость от 1 Кбит (или меньше) до 1 Мбит при ширине 1, 4 или 8 бит. Быстродействие (время доступа) колеблется от 150 до 10 нc или около того. В настоящее время широко используются недорогие статические КМОП ОЗУ емкостью 8Кx8 и 32Кx8 с временем доступа 80 нc, а также меньше по емкости, но более быстродействующие (< 3 нc) статические КМОП ОЗУ для кеш-памяти. Варианты микросхем могут иметь отдельные выводы для входов и выходов, два порта доступа и то или иное внешнее оформление (например, однорядный корпус SIP). Может быть это и существенно, однако заметьте, что вам не надо заботиться, чтобы линии данных ЦП подключались обязательно к одноименным выводам микросхемы памяти - ведь независимо от порядка соединения вы при чтении всегда получите то же, что записали! Это замечание справедливо и для адресов. Однако не пытайтесь так поступить с ПЗУ.

Упражнение 11.18. А почему?

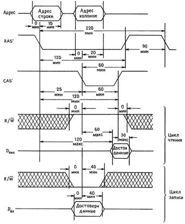
Динамические ОЗУ. По сравнению со статическими ОЗУ динамические ОЗУ - это сплошная мигрень. На рис. 11.31 показан нормальный цикл. Адрес (содержащий, например, для ОЗУ объемом 1 Мбайт 20 бит) расщепляется на две группы и мультиплексируется на вдвое меньшее число выводов, сначала "адрес строки", стробируемый сигналом RAS' (Row Address Strobe - строб адреса строки), а затем "адрес колонки", стробируемый сигналом CAS' (Column Address Strobe - строб адреса колонки).

Пауль Хоровиц, Уинфилд Хилл - Искусство схемотехники. Том 3 [Изд.4-е]

Рис. 11.31.Циклы чтения и записи динамического ОЗУ (Motorola, 120 нc).

Данные записываются (или читаются в соответствии с состоянием входа направления R/W') вслед за установкой CAS'. Перед началом следующего цикла памяти должно пройти некоторое время "выдержки RAS", поэтому длительность цикла больше времени доступа; например, динамическое ОЗУ может иметь время доступа 100 нc и длительность цикла 200 нc. Цикл регенерации выглядит так же, но без сигнала СAS'. Вообще-то обычные обращения к памяти отлично ее регенерируют, если только вы можете гарантировать обращения со всеми возможными адресами строк!

Динамические ОЗУ, как и статические, выпускаются с шириной данных 1, 4 и 8 бит, емкостью от 64 Кбит до 4 Мбит и с быстродействием приблизительно от 70 до 150 нc. Наиболее популярны большие 1-битовые микросхемы, что вполне объяснимо: если вам нужна большая матрица памяти, скажем объемом 4 Мбайт и шириной 16 бит, и имеются в наличии ОЗУ емкостью 1 Мбит с организацией 1Мx1 и 128Кx8, имеет смысл использовать 1-битовые микросхемы, потому что (а) каждая линия данных будет подключена только к двум микросхемам (а не к 16), что существенно уменьшит емкостную нагрузку, и (б) эти микросхемы занимают меньше места, потому что меньшее число выводов данных более чем компенсирует дополнительные адресные выводы. Кроме того, 1-битовые микросхемы, как правило, дешевле. Приведенные рассуждения справедливы, если вы строите большую память, и не относятся, например, к нашему простому микропроцессору с памятью 32Кx8. Заметьте, однако, что улучшенная технология упаковки микросхем с высокой плотностью ("ZIP" и "SIMM") уменьшает важность минимизации числа выводов.

Существует ряд способов генерации последовательности мультиплексированных адресов и сигналов RAS, CAS и R/W', требуемой для управления динамическим ОЗУ. Поскольку это ОЗУ всегда подключается к микропроцессорной магистрали, вы начинаете работу с ним, обнаружив сигнал AS' (или эквивалентный ему), говорящий о том, что установлен правильный адрес из пространства динамического ОЗУ (о чем свидетельствуют старшие адресные линии). Традиционный метод заключается в использовании дискретных компонент средней степени интеграции для мультиплексирования адреса (несколько 2-канальных 2-входовых мультиплексоров `257) и генерации сигналов RAS, CAS, а также сигналов управления мультиплексором. Требуемая последовательность создается с помощью сдвигового регистра, тактируемого с частотой, кратной тактовой частоте микропроцессора или, что лучше, с помощью линии задержки с отводами. Для организации периодических циклов регенерации (только RAS) вам потребуется еще несколько логических схем и счетчик, отсчитывающий последовательные адреса строк. На все это уйдет около 10 корпусов.

Привлекательным способом, альтернативным "дискретным" схемам управления динамическим ОЗУ, является использование ПЛМ, причем для генерации всех необходимых сигналов достаточно одной-двух микросхем. Еще проще взять специальную микросхему "поддержки динамического ОЗУ", например, АМ2968. Такого рода микросхемы берут на себя не только мультиплексирование адресов и образование сигналов RAS/CAS, но также и арбитрацию регенерации вместе с образованием адресов строк; более того, они даже включают мощные драйверы и демпфирующие резисторы, которые нужны для подключения больших матриц микросхем памяти, как это будет объяснено ниже. К таким контроллерам динамических ОЗУ обычно прилагаются дополнительные микросхемы для синхронизации, а также обнаружения и коррекции ошибок; в результате небольшой набор микросхем полностью решает проблему включения динамического ОЗУ в вашу разработку.

Впрочем, почти полностью! Основные неприятности с динамическими ОЗУ начинаются, когда вы пытаетесь освободиться от наводок на всех этих стробирующих и адресных магистральных линиях. Суть проблемы заключается в том, что несколько десятков корпусов МОП-схем оказываются разбросанными на большой площади системной платы, причем ко всем корпусам подходят управляющие и адресные шины. Для подключения к ним нескольких десятков микросхем требуются мощные выходные каскады Шоттки; однако большая длина линий и распределенная входная емкость в сочетании с крутыми фронтами выходных каскадов приводят к появлению "звона" большой амплитуды. Часто можно увидеть на адресных линиях ОЗУ отрицательные выбросы до -2 В! Типичным средством борьбы (не всегда полностью успешной) является включение на выходе каждого драйвера последовательных демпфирующих резисторов с сопротивлением около 33 Ом.

Другая проблема заключается в огромных переходных токах, часто достигающих величины 100 мА на линию. Представьте себе микросхему 8-разрядного драйвера, у которого большинство выходов случайно переключаются в одном направлении, например, с высокого уровня на низкий. Это приводит к переходному току величиной около 1 А, который на некоторое время повышает потенциал нулевого вывода, а вместе с ним и всех выходов, которые должны были иметь низкий уровень. Отмеченная проблема отнюдь не носит академического характера - однажды мы наблюдали сбои в работе памяти как раз из-за таких переходных токов на нулевом выводе, образующихся из-за выбросов токов CAS-драйвера. При этом наводки, проходящие в RAS-драйверы той же микросхемы, оказывались достаточными для завершения цикла памяти!

Дополнительным источником наводок в динамических ОЗУ являются большие переходные токи, образованные микросхемами в целом, причем наиболее честные разработчики даже включают сведения об этом явлении в свои технические материалы (рис. 11.32).

Ваша оценка очень важна

0
Шрифт
Фон

Помогите Вашим друзьям узнать о библиотеке