Простейший выход состоит в добавлении к входному напряжению постоянного напряжения смещения; иначе говоря, надо сместить "ноль" на величину, не меньшую пикового значения измеряемого сигнала. В некоторых случаях это можно сделать, последовательно подключив батарейку, но более разумно применить суммирующую схему на базе операционного усилителя.
Если амплитуда измеряемого сигнала мала по сравнению с полной шкалой АЦП, можно ввести в схему дополнительный входной усилитель. Этот случай будет рассмотрен в главе 6.
УСТРОЙСТВА НОРМИРОВАНИЯ СИГНАЛОВ
Обычно устройством нормирования сигналов называют любую схему, включенную на входе АЦП и предназначенную для согласования его характеристик с характеристиками и параметрами источника измеряемых сигналов. Функции таких устройств могут быть гораздо сложнее, чем простой сдвиг уровня или дополнительное усиление, которые требуются в примерах, представленных на рис. 2.17 (изменение напряжения V в зависимости от значения физической величины G).

Рис 2.17.Два примера линейных зависимостей
Нередко устройство нормирования должно выполнять преобразование "ток-напряжение", одно- или двухполупериодное выпрямление, фильтрацию или даже преобразование изменений емкости или индуктивности в изменение постоянного напряжения. Так, термопары требуют компенсации эффекта "холодного спая", а при работе с мостовыми датчиками необходимо наличие дифференциального входа. Некоторые датчики с нелинейными характеристиками (например, терморезисторы), два примера которых показаны на рис. 2.18, требуют линеаризации по достаточно сложным математическим законам.

Рис. 2.18.Два примера нелинейных зависимостей
В таком случае обычно используют как аналоговую коррекцию, выполняемую схемами в устройстве нормирования, так и цифровую коррекцию, выполняемую программно в процессе обработки выходных данных АЦП.
3. ПРОМЫШЛЕННЫЕ ИЗДЕЛИЯ
Вполне возможно превратить IBM-совместимый ПК в виртуальный измерительный прибор, не сделав ни одной печатной платы и не написав ни одной строчки программы. Существуют готовые решения "под ключ", стоящие от нескольких десятков до нескольких тысяч долларов в зависимости от предлагаемых возможностей. Самые лучшие из них далеко превосходят возможности обычных измерительных приборов, а самые экономичные решения часто удивляют широтой их потенциальных приложений.
ИНТЕРФЕЙСНЫЕ ПЛАТЫ ВНУТРЕННЕГО ИСПОЛНЕНИЯ
Устройства, выполненные на платах, устанавливаемых в слоты материнской платы ПК, позволяют достичь в реальном масштабе времени частоты дискретизации в несколько десятков мегагерц и разрядности 16 или 24, причем часто для нескольких входных каналов одновременно.
Эти устройства жестко подключены к шине центрального процессора и могут использовать режим прямого доступа к памяти (ПДП - DMA), а следовательно, полностью использовать возможности самых быстрых процессоров. Лучшие модели даже могут быть снабжены буферной памятью объемом до нескольких мегабайт, позволяющей регистрировать самые быстрые процессы в реальном масштабе времени.
Компания National Instruments всегда была пионером в данной сфере и сейчас по-прежнему занимает лидирующие позиции в этой области рынка, ставшей в настоящее время полем жесточайшей конкуренции.
Традиционными потребителями указанной категории изделий в развитых странах являются промышленные отрасли и научные организации, иначе говоря, потребители, которые не экономят на средствах, позволяющих получить метрологически безупречные результаты.
ВНЕШНИЕ ИНТЕРФЕЙСНЫЕ УСТРОЙСТВА
В случаях, когда быстродействие не имеет первостепенного значения, элегантное и экономичное решение представляют внешние интерфейсные устройства, подключаемые к ПК через последовательный или параллельный порты. К этому типу интерфейсов можно отнести как миниатюрный АЦП. расположенный в корпусе разъема DB25, так и классический мультиметр, снабженный разъемом RS232, а также настольный прибор, имеющий на корпусе несколько разъемов и органов управления.
Фирма National Instruments предлагает оригинальное решение, находящееся посередине между двумя указанными вариантами и прекрасно подходящее для портативных ПК. Виртуальный мультиметр, разработанный этой фирмой, выполнен в виде карты PCMCIA, установить которую так же просто, как вставить дискету в дисковод, хотя ее параметры не уступают многим одноканальным платам, предназначенным для внутреннего монтажа. Диалоговое окно мультиметра показано на рис. 3.1.

Рис. 3.1.Диалоговое окно виртуального мультиметра фирма Nationol Instruments
АНАЛОГО-ЦИФРОВЫЕ ПРЕОБРАЗОВАТЕЛИ ADC 10 И ADC 12
Среди моделей, предлагаемых в виде внешних интерфейсов, миниатюрные аналого-цифровые преобразователи ADC 10 и ADC 12 компании PICO Technology пользуются большой популярностью. Причиной тому - исключительная простота их применения и доступная цена. ADC 10 и ADC 12 представляют замечательную возможность добавления одного или нескольких аналоговых входов к любому ПК.
Программное обеспечение, поставляемое в комплекте с данными АЦП, сразу превращает компьютер в цифровой мультиметр, запоминающий осциллограф, анализатор спектра и даже в ленточный регистратор (самописец), причем все эти виртуальные приборы работают с сигналами в полосе частот от нуля (постоянный ток) до нескольких килогерц.
Подобное оборудование при наличии соответствующих датчиков и устройств нормирования отлично подходит для измерения и регистрации самых разных физических параметров. Конкретные технические решения подробно рассматриваются в главе 6.
Концепция, разработанная британской компанией PICO Technology, весьма оригинальна: АЦП ADC 10 и ADC 12 выполнены в виде простого разъема DB25 (рис. 3.2). Подключение аналогового сигнала осуществляется с помощью кабеля через разъем типа BNC (СР50-73).

Рис. 3.2. Внешний вид АЦП ADC 10 и ADC 12
Достаточно вставить один из этих приборов в разъем параллельного порта (LPT1 или LPT2), чтобы превратить последний в аналоговый вход с диапазоном напряжений от 0 до 5 В. Не нужно ни батарей, ни другого внешнего источника питания, так как сам АЦП и его источник опорного напряжения потребляют столь мало энергии, что питаются от тех цепей передачи данных, которые не задействованы для связи с ПК. Надо лишь запустить программу PICOSCOPE, поставляемую вместе с АЦП, чтобы сразу же получить цифровой вольтметр, запоминающий осциллограф и анализатор спектра.
Предлагаемый отдельно пакет PICOLOG позволяет, в свою очередь, проводить регистрацию динамики медленных процессов. Он обладает также многими другими возможностями, которые будут подробно рассмотрены в главе 5.
Конечно, не следует рассчитывать на то, что за несколько десятков долларов можно получить эквивалент прибора, стоящего в тысячи раз дороже.
Основные ограничения на применение рассматриваемых устройств накладывают максимальная частота дискретизации (до 25 кГц) и единственный диапазон входных напряжений (0–5 В). Правда, следует отметить, что вход защищен от перегрузок до ±30 В.
Таким образом, для большинства практических приложений этого прибора понадобится добавить устройство нормирования сигнала, в качестве которого может выступить простая гальваническая батарейка, резисторный делитель напряжения, конденсатор или операционный усилитель с несколькими резисторами.
Ниже приведены драйверы, которые позволят легко писать программы для решения любой конкретной задачи и на языке BASIC, и на языке PASCAL, и на языке С. Эти вопросы подробно освещаются в главе 5.
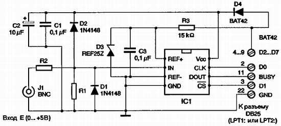
На рис. 3.3 приведена упрощенная принципиальная схема АЦП ADC 10 и ADC 12, а на рис. 3.4 показана конструкция этих изделий.

Рис. 3.3.Упрощенная схема АЦП ADC 10 и ADC 12