
Рис. 6.10.Устройство малогабаритного одноуровневого датчика давления
Внутри также, как и у других ДД, есть и резиновая диафрагма (мембрана), и пластмассовая площадка с нажимным наконечником, но нет коромысла, так как в этом ДД только одна контактная пара. Но прибор имеет на верхней части корпуса четыре контакта вместо трех. Зачем четвертый?
Дело в том, что в многоуровневых ДД есть ограничитель хода у нажимного наконечника, а в этом приборе после срабатывания контактов у нажимного наконечника (и у диафрагмы) еще есть запас хода, и при дальнейшем повышении уровня воды в баке (допустим, открылся и не закрывается клапан подачи воды), включается дополнительный четвертый контакт. Он в свою очередь подает напряжение питания на сливной насос-помпу, и начинается откачка воды или моющего раствора из бака.
Пожалуй, стоит обратить внимание еще на одну конструкцию. Этот ДД также показан на рис. 6.4 в левом верхнем углу. Особенность его в том, что корпус этого прибора состоит из двух "половинок", соединенных вместе, то есть это двухуровневый ДД. В каждой "половинке" - в нижней части корпуса - есть резиновая диафрагма со своим нажимным наконечником и своей контактной парой. Воздух через штуцер поступает в обе "половинки" корпуса под диафрагмы. Очередность срабатывания контактов в таком ДД достигнута за счет разной высоты нажимных наконечников. Первой срабатывает та "половинка", у которой длиннее нажимной наконечник. Устройство нижней части корпуса этого ДД показано на рис. 6.11.

Рис. 6.11.Устройство нижней части 2-уровневого датчика давления
Функционально все ДД, которые мы рассмотрели, равноценны. Основная разница заключена лишь в настройке на определенные уровни давления, а это определяется типом и конструкцией СМА.
Довольно часто в СМА из конструктивных соображений устанавливают сразу два ДД. Это могут быть два малогабаритных одноуровневых ДД (при недостатке места в корпусе СМА) или два двухуровневых ДД. Подобное сочетание применяется для расширения функций ДД: одна из секций максимального уровня будет включать сливной насос в аварийных ситуациях.
Основные неисправности пневматических систем контроля уровня и, как следствие, неработоспособность СМА возникают из-за нарушения герметичности нижней части корпуса, в которой находится диафрагма. Нарушение герметичности соединений: бак - компрессионная камера - шланг давления - ДД.
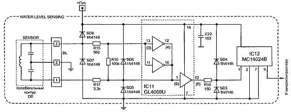
Верхняя часть корпуса ДД герметичностью не обладает, поскольку имеет маленькие отверстия для выхода воздуха, иначе резиновая мембрана не сможет переключать контакты из-за упругости воздуха в верхней части корпуса. Есть еще варианты конструкций пневматических ДД, которые применяются в СМА с микроконтроллерным управлением. По всей видимости, это так называемые переходные модели. В них еще сохранена резиновая диафрагма. Разница - в конструкции верхней части корпуса. Например, есть вариант, где к контактным выводам на верхней части корпуса припаяна печатная плата с цепочкой резисторов, включенных последовательно. На плату с резисторами подается отдельное напряжение питания 5 В. При переключениях контактных пар ДД поочередно коммутируются резисторы и на контактном выходном разъеме платы формируются опорные напряжения, соответствующие каждому из уровней. Далее эти сигналы проходят на вход микроконтроллера, где сравниваются с запрограммированными значениями напряжений для каждого уровня. В другой конструкции ДД, например, как на рис. 6.12, какие-либо переключающие контакты вообще отсутствуют, т. к. в них нет необходимости.

Рис. 6.12.Датчики давления с колебательным контуром
Вместо них применен колебательный контур, показанный на рис. 6.13. Контур подключен к специальной схеме генератора колебаний. Это одна из первых конструкций подобных ДД.

Рис. 6.13.Схема индуктивного датчика с колебательным контуром и генератором колебаний
Элементы колебательного контура; катушка, ферритовый сердечник и два конденсатора находятся в верхней части корпуса. В более современных ДД и колебательный контур, и схема генератора интегрированы в верхней части ДД. Объединяет эти конструкции принцип действия: при увеличении уровня воды в баке резиновая мембрана перемещает ферритовый сердечник (см. рис. 6.14) колебательного контура, и в результате этого изменяется частота колебаний на выходе генератора.

Рис. 6.14.Принцип работы индуктивного датчика давления
Значение частоты, соответствующее каждому из уровней, также сравнивается с запрограммированными значениями в памяти микроконтроллера. В верхней части ДД есть регулируемый винт, позволяющий изменять высоту положения сердечника.
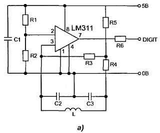
Все регулировки сделаны на заводе-изготовителе. Два последних варианта ДД имеют существенное отличие. Это отличие в разнице выходных сигналов на выводах ДД. Например, в первом варианте на рис. 6.15,а приведена схема генератора.

Рис. 6.15.а) Одна из типовых современных схем генератора колебаний датчика давления,
На схему приходит напряжение питания +5.0 В. Зависимость частоты колебаний от уровня воды в баке показана на рис. 6.15,б.

Рис. 6.15.б) График зависимости частоты колебаний генератора от уровня воды в баке
Во втором варианте у ДД также есть схема генератора, встроенная прямо в корпус. На выводы 1 и 3 (см. рис. 6.16) подается напряжение питания +5,5 В. А на выводе 2 изменяется величина входного напряжения генератора от 0,5 до 3,5 В в зависимости or уровня воды в баке.
Показанный на рис. 6.16,а ДД также имеет свою особенность.

Рис. 6.16. а) Датчик с интегрированной схемой

Рис. 6.16. б) Измерение напряжений на выводах датчика
В нем есть и резиновая диафрагма, и встроенный генератор с катушкой индуктивности, однако элементом, изменяющим частоту генератора, является тензорный резистор. Тензорный резистор - это полупроводниковый элемент, изготовленный методом напыления, как и другие детали схемы генератора. Под воздействием диафрагмы происходит изгиб печатной платы генератора, на которой напылен и тензорный резистор. Под воздействием деформации изменяется величина сопротивления резистора и, соответственно, частота генерации.
При этом изменяется и величина выходного напряжения ДД.
В заключение этого раздела приведем фрагменты обозначений пневматических переключателей на электросхемах СМА (рис. 6.17).




Рис. 6.17.Примеры обозначений датчиков давления на электросхемах СМА
7. Устройства для блокировки загрузочных люков
В целях безопасности для пользователя в СМА широко применяются блокировочные устройства и специальные термозамки (в дальнейшем - просто замки). Все эти устройства обеспечивают фиксацию загрузочного люка или верхней крышки СМА во время вращения барабана. В простейшем случае блокировочное устройство представляет собой электромагнит.
Защелки, запирающие люк СМА, все время удерживаются пружиной. При включении СМА в сеть и при нажатии кнопки открывания люка, защелка втягивается внутрь катушки электромагнита, и становится возможным открыть загрузочный люк. Гораздо большее распространение получили замки с термоэлементами. На рис. 7.1 представлено несколько типов термозамков.