
Рис. 1. Гильзы для гладкоствольного оружия: 1 - трубка гильзы, 2 - шляпка с бортиком, 3 - капсюльное гнездо. А - металлическая Б - папковая
В настоящее время наши заводы выпускают металлические гильзы 12, 16, 20, 24, 28 и 32 калибров, папковые - только 12, 16 и 20, т. е. соответственно калибрам гладкоствольных ружей, обозначенных условными числами, равными количеству круглых пуль, отлитых из одного фунта чистого свинца и плотно входящих в ствол.
Калибр гильзы определяется ее внешним диаметром. Слишком свободная гильза позволяет газам прорваться через патронник, ухудшает бой, загрязняет колодку и механизмы ружья. Туго идущие гильзы расшатывают затвор, портят экстрактор, приводят к поломке эжектора, снижают скорострельность, вызывают задержки при стрельбе.
По длине гильзы должны соответствовать длине патронника. Чтобы точно измерить длину патронника, нужно сделать слепок из черенковой серы, стеарина, воска или парафина. Для этого тонким слоем ружейного масла смазывается патронник и начало ствола за патронником на 3–5 см. Затем со стороны дульной части до границы смазанного участка вводится войлочный пороховой пыж на 1–2 калибра больше канала ствола и в патронник заливается расплавленная масса. После остывания слепок через дуло выталкивается и обмеряется.
Как у металлических, так и у папковых гильз есть свои положительные и отрицательные свойства.
Металлические гильзы очень прочны и живучи. При надлежащем уходе и патроннике они могут выдерживать 100–150 и более выстрелов, что важно для снижения стоимости патрона. Они выпускаются для всех калибров ружей, влагоустойчивы. Однако в них трудно удерживать дробь легким дробовым пыжом, наиболее пригодным для достижения лучшего боя; качество боя при их использовании ниже, чем при бумажных и пластмассовых, так как внутренний диаметр металлической гильзы больше внутреннего диаметра канала ствола большинства современных ружей, которые делают под бумажную гильзу. Кроме того, латунная гильза весит 23 г, в то время как пластмассовая 8, бумажная с низкой металлической головкой - 8, бумажная с высокой металлической головкой - 9,5 г. Латунные гильзы не так плотно прилегают к стенкам патронника во время выстрела слабыми зарядами, их труднее калибровать, раздутая или лопнувшая гильза вынимается с трудом, что зачастую ведет к поломке экстрактора. После стрельбы гильзы требуют чистки путем обработки в 20 %-ном растворе уксусной кислоты (уксусная эссенция) или в 2 %-ном растворе серной кислоты. Длительность обработки зависит от степени загрязнения копотью и окислами. Если нет под рукой кислот, можно вываривать гильзы в воде с золой, вымачивать в квасной гуще или огуречном рассоле. После этого обработанную гильзу промывают в воде, вытирают и сушат, затем, смазав, сверху маслом, прогоняют через калибровочное кольцо,
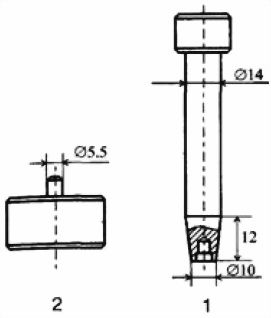
В последнее время в продаже часто встречаются латунные гильзы под капсюль "Жевело". Однако многоразовое использование таких гильз требует конструктивной доработки, выполняемой самими охотниками. Латунные гильзы под капсюль "Жевело" сделаны с низким донышком, поэтому капсюль "Жевело" при выстреле разворачивает, и гильзы приходится выбрасывать. Охотник А. Захарченко из Махачкалы переделывает гильзы следующим образом. Он собирает пластмассовые и бумажные гильзы, отслужившие свой срок, обрезает металлическую часть, как показано на рис. 2 (I), после чего на наждачном круге прорезает донышко (2) и бока (3), после чего металл легко отделяется. Остается втулка (4); если она не входит в латунную гильзу, поверхность нужно слегка обработать. Втулка должна входить туго. Нижнюю часть втулки и бока надо смазать клеем "Момент" и навойником запрессовать втулку в латунную гильзу (5); после запрессовки отверстие под капсюль калибруется. Гильзу сушить нужно сутки. Капсюля выбиваются хорошо, после выстрела их не разворачивает. Такие гильзы служат не один сезон.

Рис 2. Переделка латунных гильз по способу А. Захарченко (пояснения в тексте)
После многоразового использования металлической гильзы под "Жевело" гнездо под капсюль у нее разбивается. Изготовив две детали - оправку и обжимку, охотник В. Саковцев из Вологодской обл. с их помощью реставрирует гильзы (рис. 3). На оправку (2) ставится гильза, сверху в нее вставляется обжимка (1) и легким ударом молотка обжимается капсюльное гнездо. Вытаскивается сначала оправка, затем обжимка. Внутренний диаметр капсюльного гнезда уменьшился, гильза вновь пригодна к эксплуатации.
В скором времени ожидается выпуск стальной гильзы 12-го и 16-го калибров, а также патроны, собранные на их базе. В дальнейшем планируется выпуск гильз 20-го, 28-го и 32-го калибров.
Гильзы изготовляют из прочной стали 18ЮА, которая применяется для аналогичных целей в оборонной промышленности и имеет цинковое покрытие. Капсюльное гнездо изготовлено под капсюль-воспламенитель центрального боя. Гильза сходна по конструкции с аналогичной латунной, выпускаемой Тульским патронным заводом, но имеет отличия, обеспечивающие ее повышенную прочность. В основном это касается донной части стальной гильзы. Она усилена за счет увеличения толщины донной перегородки (3,4 мм) и изменения ее формы, что надежно предотвращает при стрельбе от деформации фланца и капсюльного гнезда, а также прорыва пороховых газов.

Рис. 3. Инструмент для восстановления капсюльных гнезд металлических гильз: 1 - обжимка, 2 - оправка
За счет повышенной прочности исходного материала гильза способна выдержать большее, чем все другие гильзы, давление пороховых газов.
Полный ресурс гильз еще не установлен, однако уже сейчас можно сказать, что каждая гильза выдержит не менее 30 выстрелов.
1.1.2. Папковая охотничья гильза
Папковая охотничья гильза (рис. 1Б) состоит из скатанной в несколько слоев бумажной трубки, один конец ее с дульца открыт, а на другой прочно насажена металлическая головка с закраинкой, дном и гнездом для капсюля, которое у большинства бумажных гильз имеет форму цилиндрического отверстия, реже, подобно металлическим гильзам, несет наковальню и затравочные отверстия. Металлическая головка папковой гильзы с бумажной трубкой скреплена запрессовкой при помощи бумажного пыжа, который носит название пыжа основания гильзы.
Незакрученная бумажная гильза должна быть на 0,5–1,0 мм короче патронника, так как при выстреле ее трубка несколько вытягивается: металлическая - немного короче. Если гильза длиннее патронника, то она с трудом входит в ружье, при выстреле на скате от патронника к каналу ствола резко сжимаются пыжи, дробь деформируется, резко возрастает максимальное давление пороховых газов в канале ствола, стрелок ощущает большую отдачу (толчок) в плечо, что приводит не только к ухудшению боя, но и к раздутию и даже к разрыву ствола со всеми вытекающими отсюда последствиями.
Что касается коротких гильз, то здесь мнения исследователей расходятся. Большинство считают, что при выстреле из такой гильзы происходит прорыв газов через пыжи и прокладки в дробовое пространство и баллистические качества выстрела значительно снижаются. Наряду с этим есть указания, что при одинаковых условиях снаряжения гильз длиной 65 и 70 мм разницы в прорыве газа обнаружить не удалось, как и разницы в скоростях движения снаряда. Это объясняется тем, что при выстреле хорошие пыжи и прокладки, сильно деформируясь, создают надежное уплотнение и при быстротечности выстрела на 5-миллиметровом участке не дают возможности прорваться газам между стенками ствола и поверхностью пыжей.
Стволы ружей сверлят как под бумажную, так и под металлическую гильзу. Диаметр ствола под бумажную гильзу несколько меньше диаметра под металлическую того же калибра, так как стенки металлической гильзы тоньше, чем бумажной. Большинство современных ружей 12, 16 и 20 калибров имеют стволы, высверленные под бумажную гильзу. В ружьях с такой сверловкой могут применяться и металлические гильзы, однако кучность и резкость боя при этом уменьшается. При употреблении бумажных гильз в ружьях со стволами под металлическую гильзу бой значительно ухудшается из-за прорыва пороховых газов в дробь.
Внутренний диаметр гильзы должен как можно точнее сочетаться с диаметром канала ствола. Чтобы это проверить, делают слепок срединной части ствола и по нему проверяют гильзы. Если слепок не входит в дульце новой папковой гильзы, следовательно, ими пользоваться нельзя, ружье сделано под металлическую.
Чем точнее совпадают каналы гильзы и ствола по размеру, тем лучше бой. Хорошее соответствие не вызывает перестройки дробового снаряда и пыжей при их переходе из гильзы в ствол. Кроме того, слишком широкий канал гильзы (металлической) требует пыжей увеличенного размера, ведет к резкому повышению давления газов, что не безопасно для ружья и стрелка.